Водород фтористый безводный ГОСТ 14022-88
Водород фтористый безводный. Технические условия ГОСТ 14022-88
ГОСТ 14022-88
Группа Л11
ГОСУДАРСТВЕННЫЙ СТАНДАРТ СОЮЗА ССР
ВОДОРОД ФТОРИСТЫЙ БЕЗВОДНЫЙ
Технические условия
Anhydrous hydrgen fluoride. Specifications
ОКП 21 1442 0100
Срок действия с 01.01.90
до 01.01.95*
_______________________________
* Ограничение срока действия снято
по протоколу N 4-93 Межгосударственного Совета
по стандартизации, метрологии и сертификации.
(ИУС N 4, 1994 год).
ИНФОРМАЦИОННЫЕ ДАННЫЕ
1. РАЗРАБОТАН И ВНЕСЕН Министерством химической промышленности СССР
ИСПОЛНИТЕЛИ
В.С.Шайдуров, З.И.Мазалова, В.П.Харитонов, Л.М.Устюгова, Г.С.Кашкина
2. УТВЕРЖДЕН И ВВЕДЕН В ДЕЙСТВИЕ Постановлением Государственного комитета СССР по стандартам от 21.12.88 N 4383
3. Срок первой проверки - 1993 г.
Периодичность проверки - 5 лет
4. Стандарт соответствует международным стандартам ИСО 3137-74 в части отбора проб, ИСО 3701-76 в части определения массовой доли кремнефтористоводородной кислоты, ИСО 3702-76 в части определения массовой доли восстановителей в пересчете на сернистый газ, ИСО 3700-80 в части определения массовой доли воды.
5. Взамен ГОСТ 14022-78
6. ССЫЛОЧНЫЕ НОРМАТИВНО-ТЕХНИЧЕСКИЕ ДОКУМЕНТЫ
|
Обозначение НТД, |
Номер пункта |
|
ГОСТ 12.1.005-76 |
1.2.3.5, 1.2.3.7 |
|
ГОСТ 12.1.007-76 |
1.2.3.2 |
|
ГОСТ 12.1.044-84 |
1.2.3.1 |
|
ГОСТ 12.4.021-75 |
1.2.3.5 |
|
ГОСТ 12.4.023-84 |
1.2.3.4 |
|
ГОСТ 12.4.029-76 |
1.2.3.4 |
|
ГОСТ 12.4.036-78 |
1.2.3.4 |
|
ГОСТ 12.4.121-83 |
1.2.3.4 |
|
ГОСТ 17.2.3.02-78 |
1.2.4.1 |
|
3.5.1 |
|
|
ГОСТ 949-73 |
1.4.1, 3.1.1 |
|
ГОСТ 1770-74 |
3.4.1, 3.5.1, 3.6.1 |
|
3.5.1 |
|
|
3.6.1 |
|
|
3.5.1 |
|
|
3.4.1 |
|
|
ГОСТ 4166-76 |
3.5.1 |
|
3.6.1 |
|
|
3.6.1 |
|
|
3.4.1 |
|
|
3.5.1 |
|
|
3.3.1, 3.6.1 |
|
|
ГОСТ 5072-79 |
3.1.1 |
|
ГОСТ 5375-79 |
1.2.3.4 |
|
ГОСТ 5520-79 |
4.1 |
|
ГОСТ 5632-72 |
3.1.1 |
|
3.5.1, 3.6.1 |
|
|
ГОСТ 6563-75 |
3.6.1 |
|
3.1.1, 3.3.1, 3.4.1, 3.5.1, 3.6.1 |
|
|
3.5.1, 3.6.1 |
|
|
ГОСТ 9941-81 |
3.1.1 |
|
3.1.1 |
|
|
3.4.1 |
|
|
ГОСТ 12083-78 |
3.5.1, 3.6.1 |
|
ГОСТ 14192-77 |
1.3.1 |
|
3.1.1 |
|
|
3.3.1 |
|
|
ГОСТ 18389-73 |
3.3.2.1 |
|
ГОСТ 18599-83 |
3.1.1 |
|
ГОСТ 19433-81 |
1.3.1 |
|
ГОСТ 20010-74 |
1.2.3.4 |
|
ГОСТ 20292-74 |
3.4.1, 3.5.1, 3.6.1 |
|
ГОСТ 22056-76 |
3.1.1 |
|
ГОСТ 22171-83 |
3.3.1 |
|
3.6.1 |
|
|
ГОСТ 24104-80 |
3.1.1, 3.4.1, 3.5.1, 3.6.1 |
|
ГОСТ 25336-82 |
3.5.1 |
|
3.4.1 |
|
|
ГОСТ 27544-87 |
3.3.1 |
Настоящий стандарт распространяется на безводный фтористый водород, используемый для получения фтор содержащих реактивов и особо чистых веществ, некоторых органических продуктов, хладонов, для применения в органическом и неорганическом синтезе и для других целей.
Безводный фтористый водород - прозрачная жидкость с резким раздражающим запахом, дымящая на воздухе.
Формула: HF
Молекулярная масса (по международным атомным массам 1985 г.) 20,006.
Температура кипения 19,5 °С.
1. ТЕХНИЧЕСКИЕ ТРЕБОВАНИЯ
1.1. Безводный фтористый водород должен быть изготовлен в соответствии с требованиями настоящего стандарта по технологическому регламенту, утвержденному в установленном порядке.
1.2. Характеристики
1.2.1. В зависимости от назначения безводный фтористый водород выпускают двух марок: А и Б.
Безводный фтористый водород марки А применяют для получения фторсодержащих реактивов и особо чистых веществ, некоторых органических продуктов.
Безводный фтористый водород марки Б применяют для получения хладонов, в органическом и неорганическом синтезе и для других целей.
1.2.2. По физико-химическим показателям безводный фтористый водород должен соответствовать нормам, указанным в табл.1.
Таблица 1
1.2.3. Требования безопасности
1.2.3.1. Безводный фтористый водород пожаровзрывобезопасен, относится к группе негорючих веществ по ГОСТ 12.1.044*, токсичен, обладает остронаправленным действием, гигроскопичен, на воздухе сильно дымит, обладает способностью к кумуляции.
_______________
* Действует ГОСТ 12.1.044-89.
1.2.3.2. Предельно допустимая концентрация паров фтористого водорода в воздухе рабочей зоны - 0,5/0,1 мг/м3 (максимальная/среднесменная) в пересчете на фтор.
Класс опасности - 2 (вещества высокоопасные) по ГОСТ 12.1.007.
1.2.3.3. Пары фтористого водорода вызывают сильное раздражение верхних дыхательных путей. При попадании на кожу вызывает болезненные, долго не заживающие ожоги.
1.2.3.4. При работе с безводным фтористым водородом, а также при промывке и обработке оборудования и тары из-под него работающие должны применять суконную специальную одежду по ГОСТ 12.4.036, резиновые сапоги по ГОСТ 5375, прорезиненные фартуки по ГОСТ 12.4.029 или пластикатовые фартуки и нарукавники, резиновые перчатки по ГОСТ 20010*, защитные щитки по ГОСТ 12.4.023, противогазы с коробкой марки БКФ по ГОСТ 12.4.121.
_______________
* Действует ГОСТ 20010-93.
1.2.3.5. Помещения, в которых проводят работы с безводным фтористым водородом, должны быть снабжены приточно-вытяжной вентиляцией и местной вентиляцией, соответствующей требованиям ГОСТ 12.4.021, обеспечивающей состояние воздушной среды в соответствии с ГОСТ 12.1.005*.
_______________
* Действует ГОСТ 12.1.005-88, здесь и далее по тексту.
1.2.3.6. Содержание фтористого водорода в воздухе рабочей зоны определяют по методике, утвержденной Минздравом СССР.
Содержание фтористого водорода в атмосферном воздухе определяют в соответствии с методиками по контролю загрязнения атмосферы Государственного комитета СССР по гидрометеорологии и Минздрава СССР.
1.2.3.7. Периодичность санитарно-химического контроля воздуха рабочей зоны устанавливается органами санитарно-эпидемиологической службы. Контроль воздуха - по ГОСТ 12.1.005.
1.2.4. Охрана природы
1.2.4.1. Защита окружающей среды при производстве безводного фтористого водорода должна быть обеспечена герметизацией технологического оборудования и транспортной тары, устройством вентиляционных отсосов в местах возможных выделений продукта с их нейтрализацией, утилизацией отходов, установлением допустимых вредных выбросов для каждого источника загрязнения согласно требованиям ГОСТ 17.2.3.02, обработкой загрязненных сточных вод на специальных очистных сооружениях.
1.2.4.2. Отходы производства безводного фтористого водорода - фторгипс - нейтрализуют известняковой мукой или другими материалами, содержащими окись кальция, или известковым молоком в соответствии с документацией, утвержденной в установленном порядке.
1.2.4.3. Эксплуатация и обслуживание установок очистки газа - в соответствии с правилами по контролю за работой газоочистных и пылеулавливающих установок, утвержденными в установленном порядке.
1.3. Маркировка
1.3.1. Транспортная маркировка - по ГОСТ 14192* с нанесением основных, дополнительных, информационных надписей с указанием манипуляционных знаков "Боится сырости" (на контейнеры и баллоны) и "Герметичная упаковка", с обозначением знака опасности груза по ГОСТ 19433** (класс 6, подкласс 6.1, шифр группы 6141).
_______________
* Действует ГОСТ 14192-96;
** Действует ГОСТ 19433-88.
На цистерне желтой несмываемой краской наносят надпись "Опасно. Водород фтористый безводный".
1.3.2. К баллонам и контейнерам с продуктом прикрепляют ярлыки из фанеры или картона в полиэтиленовом мешочке с указанием:
наименования предприятия-изготовителя и его товарного знака;
наименования продукта, его марки;
номера партии;
номера баллона или контейнера;
массы брутто и нетто;
даты изготовления;
обозначения настоящего стандарта.
1.4. Упаковка
1.4.1. Безводный фтористый водород заливают в стальные баллоны по ГОСТ 949 вместимостью 40 и 50 дм3, рассчитанные на давление 10 и 15 МПа, и контейнеры вместимостью 800 дм из стали 09Г2С-9 по ГОСТ 5520, соответствующие правилам устройства и безопасной эксплуатации сосудов, работающих под давлением, утвержденным Госгортехнадзором СССР, а также в железнодорожные цистерны и возвратные баллоны и контейнеры. Баллоны и контейнеры заполняют продуктом не более чем на 80%.
1.4.2. Возвратные баллоны и контейнеры должны иметь избыточное давление не менее 0,02 МПа.
Колпаки возвратных емкостей должны быть опломбированы потребителем.
1.4.3. После заполнения баллонов и контейнеров продуктом на выходные штуцеры вентилей надевают глухие гайки, на запорные вентили - предохранительные колпаки, которые должны быть опломбированы.
2. ПРИЕМКА
2.1. Безводный фтористый водород принимают партиями. Партией считают не более 50 т однородного по показателям качества безводного фтористого водорода, сопровождаемого одним документом о качестве.
Документ о качестве должен содержать:
наименование предприятия-изготовителя и его товарный знак;
наименование и марку продукта;
номер цистерны;
номер партии;
количество единиц продукции партии (для баллонов и контейнеров);
массу нетто;
дату изготовления;
результаты проведенных анализов;
обозначение настоящего стандарта.
При транспортировании безводного фтористого водорода в железнодорожных цистернах за партию принимают каждую цистерну.
2.2. Для контроля качества безводного фтористого водорода пробы отбирают от каждой цистерны или контейнера, при транспортировании в баллонах - от 5% баллонов, но не менее чем от двух, если партия состоит менее чем из 100 единиц продукции.
Допускается у изготовителя отбирать пробы из хранилища до заполнения железнодорожных цистерн и контейнеров. При стабильном технологическом режиме и гарантированном по всем показателям качества продукте допускается вносить в документ о качестве результаты одного определения каждого показателя.
2.3. При получении неудовлетворительных результатов анализа хотя бы по одному из показателей проводят повторный анализ проб, отобранных от удвоенного количества контейнеров и баллонов той же партии продукции. Результаты повторного анализа распространяются на всю партию.
3. МЕТОДЫ АНАЛИЗА
3.1. Отбор проб
3.1.1. Аппаратура, материалы
Установка для отбора проб:
баллон из нержавеющей стали по ГОСТ 949 вместимостью 1 или 1,3 дм3, снабженный вентилем тонкой регулировки (черт.1), или пробоотборник из нержавеющей стали 12Х18Н10Т проточного типа вместимостью 1,0 дм3, снабженный двумя штуцерами и двумя вентилями запорного типа (черт.2);
вентиль угловой цапковый 15НЖ 13 бк или вентиль цапковый 15С 12п;
вентиль тонкой регулировки (черт.3), изготовленный из нержавеющей стали 12Х18Н10Т по ГОСТ 5632.
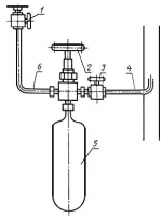
Черт.1. Установка для отбора проб
Установка для отбора проб
1, 3 - вентили цапковые; 2 - вентиль тонкой регулировки; 4, 6 - соединительные трубки; 5 - баллон
Черт.1
Черт.2. Установка проточного типа для отбора проб
Установка проточного типа для отбора проб
1, 2, 6 - вентили цапковые; 3, 5 - вентили угловые цапковые; 4 - пробоотборник проточного типа
Черт.2
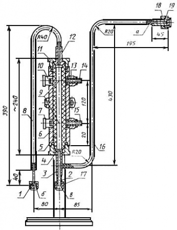
Черт.3. Вентиль тонкой регулировки
Вентиль тонкой регулировки
1 - штуцер;
2 - корпус;
3 - сквозной канал; 4 - накидная гайка; 5 - ниппель с наконечником; 6 - контргайка;
7 - кольцо; 8 - набивка сальника; 9 - нажимная втулка; 10 - специальная гайка; 11 - шпиндель; 12 - рукоятка
Черт.3
Насос вакуумный, обеспечивающий остаточное давление 600 Па.
Секундомер СОПпр по ГОСТ 5072.
Весы лабораторные общего назначения по ГОСТ 24104* 4-го класса точности с наибольшим пределом взвешивания 2000 г.
_______________
* На территории Российской Федерации действует ГОСТ 24104-2001, здесь и далее по тексту.
Сосуд с крышкой для растворения (черт.4 и черт.5), изготовленный из фторопласта-4 по ГОСТ 10007 или из полиэтилена по ГОСТ 16337, диаметром от 60 до 66 мм, высотой от 185 до 200 мм, имеющий выступ на высоте от 75 до 120 мм от дна сосуда.
Черт.4. Установка для растворения пробы
Установка для растворения пробы
1 - полиэтиленовая трубка; 2 - выступ; 3 - перфорированный диск;
4 - сосуд для растворения пробы; 5 - ниппель; 6 - баллон; 7 - крышка к сосуду; 8 - лед
Черт.4
Черт.5. Установка для растворения пробы с проточным пробоотборником
Установка для растворения пробы с проточным пробоотборником
1 - вентиль тонкой регулировки; 2 - вентиль цапковый; 3 - ниппель; 4 - трубка полиэтиленовая
или фторопластовая; 5 - сосуд для растворения пробы; 6 - перфорированный диск
Черт.5
Диск перфорированный, изготовленный из полиэтилена по ГОСТ 16337 или фторопласта-4 по ГОСТ 10007, толщиной от 1 до 1,5 мм, помещенный на выступах сосуда для растворения.
Ниппель из медной трубки, из трубки Ф4Д по ГОСТ 22056 или из полиэтиленовой по ГОСТ 18599* с коническим наконечником и накидной гайкой под вентиль баллона.
_______________
* Действует ГОСТ 18599-2001, здесь и далее по тексту.
Трубки соединительные из стали марки 12Х18Н10Т по ГОСТ 9941 диаметром 6, 20, 25 мм.
Прокладки из фторопласта-4 по ГОСТ 10007.
Заглушки из стали марки Х18Н10Т любого типа.
Трубки из полиэтилена по ГОСТ 18599 диаметром 8 мм и длиной 150 мм.
Лед, приготовленный из дистиллированной воды по ГОСТ 6709.
3.1.2. Проведение отбора проб
Точечную пробу продукта массой 1 кг отбирают из емкостей в захоложенный вакуумированный баллон (см. черт.1) или с линии циркуляции в пробоотборник проточного типа (см. черт.2), подготовленные в соответствии с требованиями приложения.
Один конец вентиля 2 баллона соединяют с вентилем 3 и трубкой 4, другой с помощью трубки 6 - с вентилем 1 емкости с безводным фтористым водородом.
При закрытом вентиле 2 на баллоне открывают вентили 1 и 3 так, чтобы жидкий фтористый водород мог проходить в систему дегазации в течение 1-2 мин. Закрывают вентиль 3 и открывают вентиль 2 на баллоне. Наполнение ведут в течение 3 мин. Затем закрывают вентиль на баллоне и вентиль 1 на емкости с фтористым водородом. Открывают вентиль 3. После дегазации фтористого водорода из всех соединительных частей (трубок 4, 6 и вентиля 3) последние отсоединяют и на концы вентиля баллона ставят заглушки.
К баллону или пробоотборнику с пробой прилагают сопроводительный документ с указанием:
наименования продукта;
номера партии (емкости-хранилища);
даты отбора пробы;
фамилии пробоотборщика.
Пробы продукта в пробоотборник проточного типа отбирают следующим образом. Открывают вентили 2, 3, 5, 6, закрывают вентиль 1 и включают насос. Безводный фтористый водород циркулирует в течение 20-30 мин. После этого насос отключают, закрывают вентили 2, 3, 5, 6, отсоединяют пробоотборник и ставят заглушки на вентили пробоотборника.
3.1.3. Растворение пробы
Сосуд для растворения, предварительно высушенный, взвешивают вместе с диском, подающей трубкой и крышкой. Затем удаляют крышку, диск и подающую трубку. В сосуд вносят 60 г льда, предварительно раздробленного на кусочки размером до 15 мм, и устанавливают перфорированный диск. Вводят подающую трубку в центральное отверстие диска и поверх него укладывают еще 60 г льда. Закрывают сосуд, обтирают его внешнюю сторону и снова взвешивают. Снимают заглушку с вентиля баллона, подсоединяют к нему ниппель с коническим наконечником и устанавливают баллон в горизонтальном положении. Затем, сняв крышку с сосуда, присоединяют подающую трубку к ниппелю, при этом нижний конец подающей трубки должен находиться ниже уровня перфорированного диска (см. черт.4). Далее осторожно открывают вентиль баллона и вводят в сосуд по каплям (на слух) (30±5) г фтористого водорода. Закрывают вентиль баллона, отсоединяют подающую трубку, опускают ее в сосуд и закрывают его крышкой. Снимают ниппель с вентиля баллона, ставят заглушку. Сосуд взвешивают и выдерживают при температуре окружающей среды, периодически перемешивая, до растворения льда.
При использовании пробоотборника проточного типа (см. черт.5) пробу растворяют аналогично, но при этом после снятия заглушки с запорного вентиля 2 подсоединяют вентиль тонкой регулировки 1, ниппель 3 и открывают сначала вентиль 2, затем осторожно вентиль 1.
Если конструкция запорного вентиля 2 позволяет отбирать пробу с требуемой точностью, то допускается заполнять сосуд для растворения без подсоединения вентиля тонкой регулировки.
3.1.4. Обработка результатов
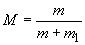
Массу фтористого водорода (M) в 1 г раствора А в граммах вычисляют по формуле (1)
где m - масса введенного фтористого водорода, г;
m1 - масса льда, г.
3.2. Определение массовой доли фтористого водорода
Массовую долю фтористого водорода (X) в процентах вычисляют по формуле (2)![]()
где X1 - массовая доля воды, %, определяемая в соответствии с п.3.3;
X2 - массовая доля сернистого газа, %, определяемая в соответствии с п.3.4;
X3 - массовая доля серной кислоты, %, определяемая в соответствии с п.3.5;
X4 - массовая доля кремнефтористоводородной кислоты, %, определяемая в соответствии с п.3.6.
За результат анализа принимают среднее арифметическое результатов двух параллельных определений, абсолютное расхождение между которыми не превышает допускаемое расхождение, равное 0,01%. Допускаемая абсолютная суммарная погрешность результата анализа ±0,005% при доверительной вероятности P=0,95.
3.3. Определение массовой доли воды
Метод определения - кондуктометрический.
Предел обнаружения - 0,01%.
3.3.1. Аппаратура, реактивы и растворы
Ячейка электролитическая (черт.6).
Черт.6. Электролитическая ячейка
Электролитическая ячейка
а - трубка для ввода продукта в ячейку; б - трубка для выхода газа; в - трубка для опорожнения ячейки;
1, 10, 11, 13, 18 - гайки; 3 - штатив; 2, 12, 19 -- ниппель; 4 - штуцер; 5 - вкладыш; 6 - корпус; 7, 14 - втулки;
8, 16 - трубы; 9 - электроды; 15 - контакт; 17 - гайка для крепления вентиля Dy=2 мм
Черт.6
Кондуктометр по ГОСТ 22171* типов ММ 34-64, К1-4, "Импульс", КЛ-1-2 или автоматический класса точности 4.0.
_______________
* Действует ГОСТ 22171-90.
Термометр ТЛ-4 4-Б 2 по ГОСТ 27544.
Калий хлористый по ГОСТ 4234, раствор концентрации c(KСl) =0,01 моль/дм3 (0,01 н).
Вода дистиллированная по ГОСТ 6709.
Спирт этиловый ректификованный технический по ГОСТ 18300 высшего сорта.
3.3.2. Подготовка к анализу
3.3.2.1. Устройство электролитической ячейки
Электролитическая ячейка представляет собой полый цилиндр из фторопласта-4 внутренним диаметром 10 мм. В цилиндр на расстоянии 120 мм вмонтированы два электрода из гладкой платиновой проволоки по ГОСТ 18389 диаметром 1,0-1,2 мм.
Цилиндр заключен в стальную обечайку из стали Ст3, а сверху и снизу имеется система трубок из стали марки Х18Н9Т (а, б, в).
Допускается использовать электролитические ячейки других конструкций, однако электроды должны быть изготовлены из гладкой платиновой проволоки по ГОСТ 18389. Оптимальное значение постоянной ячейки должно составлять 5-9 см-1 (0,05-0,09 м-1).
3.3.2.2. Определение постоянной электролитической ячейки
Электролитическую ячейку тщательно высушивают в токе сухого теплого воздуха, затем 2-3 раза ополаскивают раствором хлористого калия и заполняют раствором хлористого калия.
Электроды ячейки подсоединяют к клеммам кондуктометра и измеряют сопротивление раствора в омах или проводимость раствора в сименсах (в зависимости от типа кондуктометра). Измерение повторяют не менее пяти раз до получения постоянного значения определяемых показателей. Измеряют температуру раствора хлористого калия и определяют удельную электрическую проводимость по табл.2.
Таблица 2
Постоянную электролитической ячейки (K) в сантиметрах в минус первой степени (метрах в минус первой степени) вычисляют по формуле (3)
где
- удельная электрическая проводимость раствора хлористого калия концентрации c(KСl)=0,01 моль/дм3 (0,01 н) при данной температуре, См/см (См/м);
R - сопротивление ячейки, Ом.
Периодичность проверки постоянной электролитической ячейки - не реже одного раза в три месяца.
3.3.3. Проведение анализа
Электролитическую ячейку тщательно промывают водой и высушивают в сушильном шкафу при температуре 100-105 °С в течение 3 ч или промывают этиловым спиртом и высушивают в токе сухого воздуха в течение 1 ч, затем присоединяют к баллону или пробоотборнику проточного типа с пробой безводного фтористого водорода при температуре не выше 19 °С.
Осторожно открывают вентиль тонкой регулировки и промывают ячейку двумя объемами жидкого фтористого водорода. Ячейку заполняют фтористым водородом медленно во избежание задерживания пузырьков газа на ее стенках.
Электроды ячейки подсоединяют к клеммам кондуктометра и измеряют сопротивление (R1) или проводимость (J1) в зависимости от типа применяемого кондуктометра. Заполнение ячейки и измерение повторяют не менее пяти раз до получения постоянного значения сопротивления или проводимости ячейки.
3.3.4. Обработка результатов
3.3.4.1. Удельную электрическую проводимость фтористого водорода (
) в сименсах на сантиметр (в сименсах на метр) вычисляют по формуле (5)
или 
где K - постоянная ячейки, см-1 (М-1);
R1 - сопротивление ячейки с фтористым водородом, Ом;
J1 - проводимость ячейки с фтористым водородом, Ом-1.
3.3.4.2. Массовую долю воды (X1) в процентах определяют по градуировочному графику (черт.7) или вычисляют по формуле (6)
выражающей линейную зависимость между массовой долей воды в процентах и удельной электрической проводимостью в сименсах на метр и действительной при удельной электрической проводимости более 0,162 и менее 1,288 См/м.
Черт.7. Градуировочный график для определения массовой доли воды
Градуировочный график для определения массовой доли воды
Черт.7
За результат анализа принимают среднее арифметическое результатов двух параллельных определений, относительное расхождение между которыми не превышает допускаемое расхождение, равное 20%. Допускаемая относительная суммарная погрешность результата анализа ±10% при доверительной вероятности P=0,95.
3.4. Определение массовой доли восстановителей в пересчете на сернистый газ
Метод анализа - титриметрический.
Предел обнаружения - 0,001%.
3.4.1. Аппаратура, реактивы и растворы
Весы лабораторные общего назначения по ГОСТ 24104 4-го класса точности с наибольшим пределом взвешивания 500 г.
Бюретка 1-2-5 и 1-2-10 по ГОСТ 20292*.
_______________
* Действуют ГОСТ 29169-91, ГОСТ 29227-91-ГОСТ 29229-91, ГОСТ 29251-91-ГОСТ 29253-91, здесь и далее по тексту.
Пипетка 1-1-1, 1-1-5, 1-1-100 по ГОСТ 20292.
Цилиндр 1-100 по ГОСТ 1770.
Пипетки полиэтиленовые или фторопластовые вместимостью 25 см3.
Склянка полиэтиленовая вместимостью 250 см3.
Йод по ГОСТ 4159, свежеприготовленный раствор концентрации c(1/2J2)=0,01 моль/дм3 (0,01 н) или такой же раствор, приготовленный из фиксанала; готовят разбавлением раствора концентрации c(1/2J2)=0,1 моль/дм3 (0,1 н) в 10 раз.
Крахмал растворимый по ГОСТ 10163, свежеприготовленный раствор с массовой долей 0,5%.
натрий серноватистокислый (Тиосульфат натрия) по ГОСТ 27068, свежеприготовленный раствор концентрации c(Na2S2O3·5H2O)=0,01 моль/дм3 (0,01 н) или такой же раствор, приготовленный из фиксанала; готовят разбавлением раствора концентрации c(Na2S2O3·5H2O)=0,1 моль/дм3 (0,1 н) в 10 раз.
Калий йодистый по ГОСТ 4232, свежеприготовленный раствор с массовой долей 10%.
Вода дистиллированная по ГОСТ 6709.
3.4.2. Проведение анализа
В полиэтиленовую склянку вносят 100 см3 охлажденной до температуры не выше 10 °С воды, 1 см3 раствора йодистого калия, 5 см3 раствора йода и взвешивают. Затем вводят (25,00±2,50) г раствора А.
Раствор в склянке титруют при постоянном перемешивании раствором серноватистокислого натрия до слабо-желтого окрашивания, после чего к нему прибавляют 3-5 капель раствора крахмала, перемешивают и титруют раствором серноватистокислого натрия до исчезновения синей окраски. Параллельно проводят контрольный опыт в тех же условиях и с тем же количеством реактивов, но без анализируемого продукта. Вместо анализируемого продукта в контрольную пробу вводят эквивалентное количество воды.
3.4.3. Обработка результатов
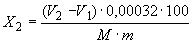
Массовую долю восстановителей в пересчете на сернистый газ (X2) в процентах вычисляют по формуле (7)
где V1 - объем раствора серноватистокислого натрия концентрации точно 0,01 моль/дм3 (0,01 н), израсходованный на титрование анализируемого раствора, см3;
V2 - объем раствора серноватистокислого натрия концентрации точно 0,01 моль/дм3 (0,01 н), израсходованный на титрование раствора контрольного опыта, см3;
0,00032 - масса сернистого газа, соответствующая 1 см3 раствора серноватистокислого натрия концентрации точно 0,01 моль/дм3, г;
M - масса фтористого водорода в 1 г раствора А, г;
m - масса навески раствора А, г.
За результат анализа принимают среднее арифметическое результатов двух параллельных определений, относительное расхождение между которыми не превышает допускаемое расхождение, равное 20%. Допускаемая относительная суммарная погрешность результата анализа ±10% при доверительной вероятности P=0,95.
3.5. Определение массовой доли серной кислоты
Метод определения - фотоэлектроколориметрнческий.
Предел обнаружения - 0,002%.
3.5.1. Аппаратура, реактивы, растворы
Фотоэлектроколориметр типа ФЭК-56 по ГОСТ 12083.
Весы лабораторные общего назначения по ГОСТ 24104 4-го класса точности с наибольшим пределом взвешивания 500 г.
Бюретка 1-2-50-0,1 по ГОСТ 20292.
Бюкс из фторопласта-4 с крышкой.
Цилиндр 1-500 по ГОСТ 1770.
Стакан В-1-500 ТХС по ГОСТ 25336.
Колба Кн-1 по ГОСТ 25336.
Пипетка 1-1-1, 1-1-5 и 1-1-10 по ГОСТ 20292.
Колбы мерные 2-50-2, 2-100-2 и 2-1000-2 по ГОСТ 1770.
Натрий углекислый безводный по ГОСТ 83, раствор с массовой долей 5%.
Натрий сернокислый по ГОСТ 4166, свежеприготовленный образцовый раствор массовой концентрации 0,1 мг/см (в пересчете на серную кислоту).
барий хлористый по ГОСТ 4108, раствор концентрации c(1/2BaCl2)=1 моль/дм3 (1 н).
Кислота борная по ГОСТ 9656, раствор с массовой долей 3%.
кислота соляная по ГОСТ 3118, концентрированная и разбавленная 1:3.
Вода дистиллированная по ГОСТ 6709.
Натрий хлористый по ГОСТ 4233.
глицерин по ГОСТ 6259.
3.5.2. Подготовка к анализу
3.5.2.1. Приготовление образцового раствора сернокислого натрия
1,448 г безводного сернокислого натрия, предварительно высушенного до постоянной массы при температуре от 100 до 105 °С, взвешивают в бюксе и растворяют в (40±10) см3 дистиллированной воды. Раствор переносят в мерную колбу вместимостью 1 дм3 и доводят его объем дистиллированной водой до метки. 10 см3 полученного раствора вносят в мерную колбу вместимостью 100 см3 и доводят его объем дистиллированной водой до метки. 1 см3 образцового раствора сернокислого натрия соответствует 0,1 мг серной кислоты.
3.5.2.2. Приготовление осаждающего раствора
В 500 см3 воды растворяют 120 г хлористого натрия, 50 г хлористого бария, приливают 500 см3 глицерина, перемешивают и через сутки фильтруют.
3.5.2.3. Построение градуировочного графика
В мерные колбы вместимостью по 50 см3 наливают 0,0; 0,5; 1,0; 1,5; 2,0; 3,0; 4,0; 5,0 см3 образцового раствора сернокислого натрия, приливают 1 см3 раствора соляной кислоты (1:3), 1 см3 раствора борной кислоты, доводят объем раствора дистиллированной водой до 34 см3 и перемешивают. Затем приливают 10 см3 осаждающего раствора, доводят объем раствора до метки дистиллированной водой, тщательно перемешивают в течение 1 мин, через 5 мин вновь перемешивают и измеряют оптическую плотность растворов на фотоэлектроколориметре в кюветах с толщиной поглощающего свет слоя 50 мм с синим светофильтром при длине волны
, равной 380-420 нм, относительно раствора сравнения.
В качестве раствора сравнения применяют раствор, содержащий все реактивы, за исключением образцового раствора сернокислого натрия. На основе полученных данных строят градуировочный график, откладывая на оси ординат оптическую плотность (D), а на оси абсцисс - массу серной кислоты в миллиграммах. Для каждой точки графика проводят не менее трех параллельных определений.
Периодичность проверки градуировочного графика - не реже одного раза в три месяца. Для проверки готовят не менее трех растворов.
3.5.3. Проведение анализа
(10,00±1,00) г (от 9 до 10 см) раствора А взвешивают в бюксе из фторопласта-4 с крышкой, переносят в платиновую чашку, в которую предварительно налито 10 см3 дистиллированной воды и 1 см3 раствора углекислого натрия. Содержимое платиновой чашки перемешивают и выпаривают досуха на водяной бане, после чего приливают к сухому остатку 5 см3 концентрированной соляной кислоты и повторяют выпаривание. Обработку концентрированной соляной кислотой повторяют еще два раза. Затем сухой остаток растворяют в 1 см3 соляной кислоты (1:3), прибавляют 1 см3 раствора борной кислоты и 8-10 см3 дистиллированной воды. Раствор количественно переносят в мерную колбу вместимостью 50 см3 и дистиллированной водой доводят общий объем раствора до 34 см3, приливают 10 см3 осаждающего раствора, дистиллированной водой доводят объем до метки, тщательно перемешивают в течение 1 мин, через 5 мин вновь перемешивают и измеряют оптическую плотность раствора относительно раствора сравнения. В качестве раствора сравнения применяют раствор, содержащий те же реактивы, но вместо раствора А берут 10 см3 дистиллированной воды.
Массу серной кислоты (m1) в миллиграммах определяют по градуировочному графику или математическому выражению градуировочного графика.
3.5.4. Обработка результатов
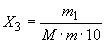
Массовую долю серной кислоты (X3) в процентах вычисляют по формуле (8)
где m1 - масса серной кислоты, найденная по градуировочному графику, мг;
M - масса фтористого водорода в 1 г раствора А, г;
m - масса навески раствора А, г.
За результат анализа принимают среднее арифметическое результатов двух параллельных определений, относительное расхождение между которыми не превышает допускаемое расхождение, равное 20%. Относительная суммарная погрешность результата анализа ±10% при доверительной вероятности P=0,95.
3.6. Определение массовой доли кремнефтористоводородной кислоты
Метод определения - фотоэлектроколориметрический.
Предел обнаружения 0,003%.
3.6.1. Аппаратура, реактивы и растворы
Фотоэлектроколориметр типа ФЭК-56 по ГОСТ 12083.
Весы лабораторные общего назначения по ГОСТ 24104 4-го класса точности с наибольшим пределом взвешивания 500 г.
Колба мерная 2-100-2 и 2-1000-2 по ГОСТ 1770.
Бюкс из фторопласта-4 с завинчивающейся крышкой.
Пипетки 1-1-2, 1-1-5, 1-1-10 и 1-1-25 по ГОСТ 20292.
Чашка платиновая по ГОСТ 6563.
Аммоний молибденовокислый по ГОСТ 3765, раствор с массовой долей 10%.
глицерин по ГОСТ 6259, водный раствор с массовой долей 20%.
Соль закиси железа и аммония двойная сернокислая (Соль Мора) по ГОСТ 4208, раствор с массовой долей 5% в растворе серной кислоты концентрации c(1/2H2SO4)=4 моль/дм3 (4 н). Раствор хранят в склянке из темного стекла.
Калий хлористый по ГОСТ 4234, раствор с массовой долей 10%.
Кислота борная по ГОСТ 9656, насыщенный раствор.
Кислота серная по ГОСТ 4204, растворы концентраций c(1/2H2SO4)=2,4 моль/дм3 (2,4 н), 8 моль/дм (8 н) и концентрированная.
Кислота щавелевая по ГОСТ 22180, раствор с массовой долей 10%.
Натрий кремнекислый, образцовый раствор массовой концентрации 0,1 мг/см3 (в пересчете на кремнефтористоводородную кислоту).
Вода дистиллированная по ГОСТ 6709.
3.6.2. Подготовка к анализу
3.6.2.1. Приготовление образцового раствора кремнекислого натрия
1,972 г кремнекислого натрия растворяют в 50 см3 дистиллированной воды, переносят раствор в мерную колбу вместимостью 1 дм3 и дистиллированной водой доводят объем раствора до метки. 10 см3 полученного раствора переносят в мерную колбу вместимостью 100 см3 и дистиллированной водой доводят объем раствора до метки. 1 см3 полученного образцового раствора кремнекислого натрия соответствует 0,1 мг кремнефтористоводородной кислоты.
Полученный раствор хранят в полиэтиленовой склянке. Срок хранения раствора концентрации 1 мг/см3 - не более 3 мес. Раствор концентрации 0,1 мг/см3 применяют свежеприготовленным.
3.6.2.2. Построение градуировочного графика
В мерные колбы вместимостью по 100 см3 вносят 0,0; 0,20; 0,50; 1,00; 1,50; 2,00; 2,50; 3,00; 4,00 см3 образцового раствора кремнекислого натрия, затем приливают 2 см3 раствора хлористого калия, 5 см3 раствора глицерина, 10 см3 раствора борной кислоты и доводят объем раствора водой до 50 см3. После этого приливают 4 см3 раствора серной кислоты концентрации c(1/2H2SO4)=2 моль/дм3 (2 н), 5 см3 раствора молибденовокислого аммония, перемешивают и оставляют на 10-15 мин, затем приливают 5 см3 раствора щавелевой кислоты, 25 см3 раствора серной кислоты концентрации c(1/2H2SO4)=8 моль/дм3 (8 н), перемешивают, через 1-2 мин прибавляют 10 см3 раствора соли Мора, перемешивают, дистиллированной водой доводят объем раствора до метки и снова перемешивают. Через 15 мин измеряют оптическую плотность растворов на фотоэлектроколориметре в кюветах с толщиной поглощающего свет слоя 30 мм с красным светофильтром при длине волны , равной 630-750 нм относительно раствора сравнения. В качестве раствора сравнения применяют раствор, содержащий все реактивы, за исключением образцового раствора кремния.
На основе полученных данных строят градуировочный график, откладывая на оси ординат оптическую плотность (D), на оси абсцисс - массу кремнефтористоводородной кислоты в миллиграммах. Для каждой точки графика проводят не менее трех параллельных определений. Периодичность проверки градуировочного графика - не реже одного раза в три месяца. Для проверки готовят не менее трех растворов.
3.6.3. Проведение анализа
(5,00±0,50) г (от 4,5 до 5,5 см3) раствора А, взвешенного в бюксе из фторопласта-4 с крышкой, переносят в платиновую чашку, в которую предварительно налито 2 см3 раствора хлористого калия и 5 см3 раствора глицерина. Содержимое платиновой чашки тщательно перемешивают и выпаривают на водяной бане приблизительно до 1 см3, затем прибавляют 10 см3 раствора борной кислоты и раствор количественно переносят в мерную колбу вместимостью 100 см3. В колбу добавляют 4 см3 раствора серной кислоты концентрации c(1/2H2SO4)=2 моль/дм3 (2 н), перемешивают, приливают 5 см3 раствора молибденовокислого аммония, снова перемешивают и оставляют на 10-15 мин.
Затем приливают 5 см3 раствора щавелевой кислоты, 25 см3 раствора серной кислоты концентрации c(1/2H2SO4)=8 моль/дм3 (8 н), перемешивают, через 1-2 мин добавляют 10 см3 раствора соли Мора, снова перемешивают и дистиллированной водой доводят объем раствора до метки. Через 15 мин измеряют оптическую плотность раствора относительно раствора сравнения. В качестве раствора сравнения применяют раствор, содержащий те же реактивы, но вместо раствора А берут 5 см3 дистиллированной воды. Массу кремнефтористоводородной кислоты (m1) в миллиграммах определяют по градуировочному графику или математическому выражению градуировочного графика.
3.6.4. Обработка результатов
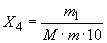
Массовую долю кремнефтористоводородной кислоты (X4) в процентах вычисляют по формуле (9)
где m1 - масса кремнефтористоводородной кислоты, найденная по градуировочному графику, мг;
M - масса фтористого водорода в 1 г раствора А, г;
m - масса навески раствора А, г.
За результат анализа принимают среднее арифметическое результатов двух параллельных определений, относительное расхождение между которыми не превышает допускаемое расхождение, равное 20%. Относительная суммарная погрешность результата анализа ±10% при доверительной вероятности P=0,95.
3.7. Допускается применение других средств измерения (приборов, мерной посуды) с метрологическими характеристиками и оборудования с техническими характеристиками не ниже указанных.
4. ТРАНСПОРТИРОВАНИЕ И ХРАНЕНИЕ
4.1. Безводный фтористый водород транспортируют в железнодорожных цистернах отправителя из стали 09Г2С-12 по ГОСТ 5520, рассчитанных на давление до 1,5 МПа и температуру от минус 50 до плюс 50 °С, соответствующих Правилам устройства и безопасной эксплуатации сосудов, работающих под давлением, утвержденным Госгортехнадзором СССР.
4.2. Степень (уровень) заполнения цистерн рассчитывают с учетом полного использования их вместимости и объемного расширения продукта при возможном перепаде температур в пути следования.
4.3. После наполнения цистерны безводным фтористым водородом запорный вентиль и предохранительный колпак должны быть опломбированы.
4.4. Возвратные цистерны должны иметь избыточное давление не менее 0,02 МПа.
4.5. Контейнеры и баллоны с безводным фтористым водородом транспортируют повагонными отправками в крытых вагонах железнодорожным транспортом или мелкими отправками автомобильным транспортом в соответствии с правилами перевозок грузов, действующими на транспорте данного вида.
4.6. Контейнеры и баллоны, заполненные безводным фтористым водородом, хранят в крытых складских помещениях в соответствии с требованиями санитарных правил для складов с сильнодействующими ядовитыми веществами.
5. ГАРАНТИИ ИЗГОТОВИТЕЛЯ
5.1. Изготовитель гарантирует соответствие безводного фтористого водорода требованиям настоящего стандарта при соблюдении условий транспортирования и хранения.
5.2. Гарантийный срок хранения безводного фтористого водорода - 5 лет со дня изготовления.
ПРИЛОЖЕНИЕ (обязательное). ПОДГОТОВКА БАЛЛОНА ДЛЯ ОТБОРА ПРОБЫ
ПРИЛОЖЕНИЕ
Обязательное
Подготовка баллона для отбора пробы заключается в следующем. Удаляют остатки продукта, для чего закрывают один конец вентиля баллона заглушкой, другой соединяют с системой дегазации (см. черт.1), открывают вентиль на баллоне и выпускают фтористый водород.
После полного удаления фтористого водорода из баллона закрывают вентиль, снимают заглушку и отсоединяют трубку от системы дегазации и баллона. Концы вентиля промывают водой. Затем открывают вентиль на баллоне так, чтобы Вода смогла попасть внутрь баллона. Поворачивая, опорожняют баллон. Все его внешние части тщательно промывают водой.
Хорошо промытый баллон сушат при температуре 110°С в течение 8-12 ч. Допускается вентиль и баллон сушить раздельно. Высушенные баллоны хранят в специально отведенном месте.
Перед отбором пробы высушенный баллон с помощью вакуумного насоса вакуумируют до остаточного давления 26,6 кПа, закрывают вентиль на баллоне и баллон охлаждают до температуры ниже 15 °С.
ПОДГОТОВКА ПРОБООТБОРНИКА ПРОТОЧНОГО ТИПА К ОТБОРУ ПРОБЫ
Открывают оба вентиля пробоотборника проточного типа (см. черт.2), удаляют остатки продукта и продувают сжатым очищенным и осушенным воздухом в течение 0,5-1 ч. После этого вентили закрывают. Раз в месяц проводят профилактический осмотр.
официальное издание
М.: Издательство стандартов, 1989
