Меди (II) оксид. Реактивы ГОСТ 16539-79
Меди (II) оксид. Реактивы. Технические условия (с Изменениями N 1, 2) ГОСТ 16539-79
ГОСТ 16539-79
Группа Л51
МЕЖГОСУДАРСТВЕННЫЙ СТАНДАРТ
Реактивы
МЕДИ (II) ОКСИД
Технические условия
Reagents. Cupric oxide. Specifications
МКС 71.040.30
ОКП 26 1121 1440 02, 26 1121 0630 02
Дата введения 1980-07-01
ИНФОРМАЦИОННЫЕ ДАННЫЕ
1. РАЗРАБОТАН И ВНЕСЕН Министерством химической промышленности
2. УТВЕРЖДЕН И ВВЕДЕН В ДЕЙСТВИЕ Постановлением Государственного комитета СССР по стандартам от 16.04.79 N 1389
3. ВЗАМЕН ГОСТ 16539-71
4. ССЫЛОЧНЫЕ НОРМАТИВНО-ТЕХНИЧЕСКИЕ ДОКУМЕНТЫ
|
Обозначение НТД, на который дана ссылка |
Номер пункта, подпункта |
|
ГОСТ 12.1.007-76 |
2.1 |
|
ГОСТ 1770-74 |
4.3.1, 4.4.1. 4.5.1, 4.9.1a, 4.10.1, 4.11.1 |
|
4.4.1 |
|
|
3.1, 4.1, 5.1 |
|
|
4.10.1 |
|
|
4.5.1, 4.10.1 |
|
|
ГОСТ 4212-76 |
4.9.1a, 4.10.1, 4.11.1 |
|
4.3.1 |
|
|
4.10.1 |
|
|
4.9.1a, 4.11.1 |
|
|
ГОСТ 4517-87 |
4.5.1, 4.7, 4.10.1 |
|
ГОСТ 4919.1-77 |
4.3.1, 4.7 |
|
4.7 |
|
|
4.9.1a, 4.11.1 |
|
|
4.10.1 |
|
|
4.3.1 |
|
|
4.3.1, 4.4.1, 4.5.1, 4.9.1a, 4.11.1 |
|
|
4.10.1 |
|
|
ГОСТ 9147-80 |
4.5.1, 4.10.1 |
|
4.3.1 |
|
|
ГОСТ 10671.4-74 |
4.6 |
|
ГОСТ 10671.5-74 |
4.7 |
|
ГОСТ 10671.7-74 |
4.8 |
|
ГОСТ 14192-96 |
5.1 |
|
ГОСТ 19433-88 |
5.1 |
|
4.10 |
|
|
ГОСТ 25336-82 |
4.3.1, 4.4.1, 4.5.1, 4.6, 4.7, 4.8, 4.9, 4.9.1a, 4.10.1, 4.11.1 |
|
ГОСТ 25794.2-83 |
4.3.1 |
|
ГОСТ 27025-86 |
4.1а |
|
4.3.1 |
5. Ограничение срока действия снято по протоколу N 4-93 Межгосударственного совета по стандартизации, метрологии и сертификации (ИУС 4-94)
6. ИЗДАНИЕ (декабрь 2006 г.) с Изменениями N 1, 2, утвержденными в сентябре 1984 г., в декабре 1989 г. (ИУС 12-84, 3-90)
Настоящий стандарт распространяется на Оксид меди (II), гранулированный и порошкообразный, который представляет собой твердые гранулы коричневато-бурого или черно-бурого цвета размером 3-5 мм (гранулированный) или тонкий порошок черного цвета (порошкообразный). Оксид меди нерастворим в воде, растворим в кислотах. Порошкообразный Оксид меди (II) мало растворим в растворах солей аммония.
Формула CuO
Молекулярная масса (по международным атомным массам 1971 г.) - 79,54.
(Измененная редакция, Изм. N 1, 2).
1. ТЕХНИЧЕСКИЕ ТРЕБОВАНИЯ
1.1. Оксид меди (II) должен быть изготовлен в соответствии с требованиями настоящего стандарта по технологическому регламенту, утвержденному в установленном порядке.
1.2. По физико-химическим показателям Оксид меди (II) должен соответствовать нормам, указанным в табл.1.
Таблица 1
(Измененная редакция, Изм. N 1, 2).
2. ТРЕБОВАНИЯ БЕЗОПАСНОСТИ
2.1. Оксид меди (II) - токсичное вещество. Может вызвать раздражение слизистых оболочек глаз, верхних дыхательных путей и желудочно-кишечного тракта, а также кожных покровов. При хронической интоксикации возможны функциональные расстройства нервной системы и нарушение функций печени и почек.
По степени воздействия на организм человека относится к веществам 2-го класса опасности (ГОСТ 12.1.007). Предельно допустимая концентрация в воздухе рабочей зоны (по меди) - 0,5 мг/м3 (среднесменная) и 1 мг/м3 (максимально-разовая).
(Измененная редакция, Изм. N 2).
2.2. При работе с оксидом меди (II) следует применять индивидуальные средства защиты (респираторы, резиновые перчатки, защитные очки, спецодежду), а также соблюдать правила личной гигиены.
Не допускать попадания препарата внутрь организма и на кожу.
2.3. Помещения, в которых проводятся работы с препаратом, должны быть оборудованы общей приточно-вытяжной вентиляцией, а места наибольшего пыления - укрытиями с местной вытяжной вентиляцией. Анализ препарата следует проводить в вытяжном шкафу лаборатории.
(Измененная редакция, Изм. N 2).
2.4. Препарат пожаро- и взрывоопасен. При проведении анализа препарата с использованием горючего газа следует соблюдать правила противопожарной безопасности.
3. ПРАВИЛА ПРИЕМКИ
3.1. Правила приемки - по ГОСТ 3885.
3.2. Массовые доли веществ, растворимых в воде, общего азота, серы, железа, органических примесей и суммы натрия, калия и кальция изготовитель определяет в каждой 50-й партии.
(Измененная редакция, Изм. N 2).
4. МЕТОДЫ АНАЛИЗА
4.1а. Общие указания по проведению анализа - по ГОСТ 27025.
При взвешивании применяют весы лабораторные общего назначения типа ВЛР-200 и ВЛКТ-500 г-М или ВЛЭ-200 г.
Допускается применение других средств измерения с метрологическими характеристиками и оборудования с техническими характеристиками не хуже, а также реактивов по качеству не ниже указанных в настоящем стандарте.
(Введен дополнительно, Изм. N 2).
4.1. Пробы отбирают по ГОСТ 3885. Масса средней пробы должна быть не менее 100 г.
4.2. Пробу гранулированного оксида меди (II), отобранную для анализа, предварительно растирают в агатовой ступке в тонкий порошок.
4.1; 4.2. (Измененная редакция, Изм. N 2).
4.3. Определение массовой доли оксида меди (II)
4.3.1. Аппаратура, реактивы и растворы
Бюретка 1(2)-2-50-0,1 по НТД.
Колба Кн-2-250-34 ТХС по ГОСТ 25336.
Пипетка 6(7)-2-10 по НТД.
Цилиндр 1(3)-50 по ГОСТ 1770.
Вода дистиллированная по ГОСТ 6709.
Калий йодистый по ГОСТ 4232, х.ч.
Кислота ортофосфорная по ГОСТ 6552.
Крахмал растворимый по ГОСТ 10163, раствор с массовой долей 0,5%; готовят по ГОСТ 4919.1.
Натрий серноватисто-кислый (Тиосульфат натрия) 5-водный по ГОСТ 27068; раствор концентрации c(Na2S2O3·5H2O)=0,1 моль/дм3 (0,1 н.); готовят по ГОСТ 25794.2 .
4.3.2. Проведение анализа
Около 0,2000 г препарата помещают в коническую колбу, прибавляют 15 см3 воды, 5 см3 ортофосфорной кислоты, накрывают часовым стеклом и осторожно растворяют при нагревании на электрической плитке или воздушной бане, поддерживая постоянный объем добавлением воды.
Раствор охлаждают до комнатной температуры, прибавляют 50 см3 воды, 3 г йодистого калия и сразу же титруют выделившийся йод раствором 5-водного серноватистокислого натрия, прибавляя в конце титрования 1-2 см3 раствора крахмала.
4.3.3. Обработка результатов
Массовую долю оксида меди (II) (X) в процентах вычисляют по формуле
где V - объем раствора 5-водного серноватистокислого натрия концентрации точно c(Na2S2O3·5H2O)=0,1 моль/дм3 (0,1 н), израсходованный на титрование, см3;
m - масса навески препарата, г;
0,007954 - масса оксида меди (II), соответствующая 1 см3 раствора 5-водного серноватистокислого натрия концентрации точно c(Na2S2O3·5H2O)=0,1 моль/дм3 (0,1 н).
За результат анализа принимают среднеарифметическое результатов двух параллельных определений, абсолютное расхождение между которыми не превышает допускаемое расхождение, равное 0,3%.
Допускаемая абсолютная суммарная погрешность результата анализа ±0,6% при доверительной вероятности P=0,95.
4.3.1-4.3.3. (Измененная редакция, Изм. N 1, 2).
4.4. Определение массовой доли веществ, не растворимых в соляной кислоте
4.4.1. Реактивы, растворы и посуда
Вода дистиллированная по ГОСТ 6709.
кислота соляная по ГОСТ 3118.
Тигель фильтрующий типа ТФ ПОР 10 или ТФ ПОР 16 по ГОСТ 25336.
Пипетка 6(7)-2-10 по НТД.
Стакан В (Н)-1-250 ТХС по ГОСТ 25336.
Цилиндр 1(3)-50(100, 250) по ГОСТ 1770.
4.4.2. Проведение анализа
5,00 г препарата помещают в стакан, прибавляют 20 см3 соляной кислоты и 10 см3 воды, стакан накрывают часовым стеклом и растворяют при нагревании на водяной бане. Затем объем раствора доводят водой до 100 см3 и фильтруют через фильтрующий тигель, предварительно высушенный до постоянной массы и взвешенный (результат взвешивания в граммах записывают до четвертого десятичного знака). Остаток на фильтре промывают 150 см3 горячей воды и сушат в сушильном шкафу при 105°С-110°С до постоянной массы.
4.4.1; 4.4.2. (Измененная редакция, Изм. N 1, 2).
4.4.3. Обработка результатов
Массовую долю нерастворимых в соляной кислоте веществ (X1) в процентах вычисляют по формуле
где m1 - масса тигля с высушенным остатком, г;
m2 - масса пустого тигля, г;
m3 - масса навески препарата, г.
Допускаемая относительная суммарная погрешность результата анализа ±45% при доверительной вероятности P=0,95.
Допускается не вычислять массовую долю нерастворимых в соляной кислоте веществ. В этом случае препарат считают соответствующим требованиям настоящего стандарта, если масса остатка после высушивания не будет превышать 1 мг.
(Введен дополнительно, Изм. N 2).
4.5. Определение массовой доли веществ, растворимых в воде
4.5.1. Аппаратура, реактивы и растворы
Пипетка 4(5)-2-2 по НТД.
Стакан В(Н)-1-250 ТХС по ГОСТ 25336.
Цилиндр 1(3)-50(100) по ГОСТ 1770.
Чашка выпарительная 3 по ГОСТ 9147.
Вода дистиллированная по ГОСТ 6709.
Кислота серная по ГОСТ 4204, раствор с массовой долей 20%; готовят по ГОСТ 4517.
4.5.2. Проведение анализа
10,00 г препарата помещают в стакан, прибавляют 50 см3 воды, накрывают стакан часовым стеклом и кипятят в течение 5 мин. Раствор охлаждают, фильтруют через обеззоленный фильтр "синяя лента", трижды промытый горячей водой. Фильтрат помещают в выпарительную чашку, предварительно прокаленную до постоянной массы и взвешенную (результат взвешивания в граммах записывают с точностью до четвертого десятичного знака), прибавляют 1 см3 раствора серной кислоты, выпаривают на водяной бане досуха и прокаливают в муфельной печи при 500°С-600°С до постоянной массы.
4.5.1, 4.5.2. (Измененная редакция, Изм. N 2).
4.5.3. Массовую долю растворимых в воде веществ (X2) в процентах вычисляют по формуле
где m1 - масса выпарительной чашки с прокаленным остатком, г;
m2 - масса пустой выпарительной чашки, г;
m3 - масса навески препарата, г.
Допускаемая относительная суммарная погрешность результата анализа ±30% при доверительной вероятности P=0,95.
Допускается не вычислять массовую долю растворимых в воде веществ. В этом случае реактив считают соответствующим требованиям настоящего стандарта, если масса остатка после прокаливания не будет превышать 2 мг.
(Введен дополнительно, Изм. N 2).
4.6. Определение массовой доли общего азота проводят по ГОСТ 10671.4. При этом 1,00 г препарата помещают в круглодонную колбу, прибавляют 10 см3 раствора соляной кислоты с массовой долей 25% и растворяют при нагревании на водяной бане. После охлаждения к раствору прибавляют воду, 3 г сплава Деварда, 20 см3 раствора гидроокиси натрия с массовой долей 20% и далее определение проводят фотометрическим или визуально-колориметрическим методом. Допускается помещать препарат в колбу П-1-250 ТХС по ГОСТ 25336.
Препарат считают соответствующим требованиям настоящего стандарта, если масса общего азота не будет превышать 0,02 мг.
При разногласиях в оценке массовой доли общего азота анализ проводят фотометрическим методом.
4.7. Определение массовой доли серы в пересчете на сульфаты проводят по ГОСТ 10671.5. При этом 0,50 г препарата помещают в стакан вместимостью 100 см3 (ГОСТ 25336), прибавляют 5 см3 раствора соляной кислоты с массовой долей 25%, 1 см3 бромной воды (готовят по ГОСТ 4517), накрывают стакан часовым стеклом и растворяют при нагревании на электрической плитке. К раствору прибавляют 5 см3 воды, 1 г гидрохлорида гидроксиламина (ГОСТ 5456), нагревают до кипения, прибавляют 2 г гранулированного цинка и продолжают нагревание до полного обесцвечивания раствора при периодическом перемешивании. Затем прибавляют 5 см3 воды, перемешивают и фильтруют через фильтр из фильтровальной бумаги, промытый горячей водой. Остаток на фильтре и фильтр трижды промывают 5 см3 горячей воды, собирая фильтрат и промывные воды в стакан вместимостью 100 см3 (с меткой на 46 см3). Раствор охлаждают, прибавляют одну-две капли раствора
-динитрофенола с массовой долей 0,1% (готовят по ГОСТ 4919.1) или n-нитрофенола с массовой долей 0,2% (готовят по ГОСТ 4919.1) и по каплям раствор гидроокиси натрия с массовой долей 10% (готовят по ГОСТ 4517) до появления желтой окраски раствора. Затем объем раствора доводят водой до метки и далее определение проводят визуально-нефелометрическим методом (способ 3).
Препарат считают соответствующим требованиям настоящего стандарта, если наблюдаемая опалесценция анализируемого раствора не будет интенсивнее опалесценции раствора, приготовленного одновременно с анализируемым и содержащего в таком же объеме: 0,05 мг SO4 1 см3 раствора соляной кислоты с массовой долей 25% и 3 см3 раствора хлористого бария.
В результат анализа вносят поправку на массу сульфатов в применяемых реактивах, определяемую контрольным опытом.
4.8. Определение массовой доли хлоридов проводят по ГОСТ 10671.7. При этом 1,00 г препарата помещают в стакан вместимостью 100 см3 (ГОСТ 25336), смачивают 15 см3 воды, прибавляют 5 см3 концентрированной азотной кислоты, накрывают стакан часовым стеклом и растворяют при нагревании на кипящей водяной бане. Затем раствор охлаждают и, если раствор мутный, его фильтруют через обеззоленный фильтр "синяя лента", тщательно промытый горячим раствором азотной кислоты с массовой долей 1%.
Фильтрат собирают в стакан вместимостью 100 см3 (ГОСТ 25336), доводят объем раствора водой до 30 см3 и далее определение проводят фототурбидиметрическим методом для окрашенных растворов (способ 2) или визуально-нефелометрическим (способ 2) методом, не прибавляя раствора азотной кислоты.
Препарат считают соответствующим требованиям настоящего стандарта, если масса хлоридов не будет превышать 0,03 мг.
В результат определения вносят поправку на массу хлоридов в применяемой азотной кислоте.
При визуально-нефелометрическом методе в растворы сравнения вводят раствор азотнокислой меди, не содержащей Cl, который готовят следующим образом: 4,00 г окиси меди (II) помещают в стакан вместимостью 150 см3 (с меткой на 100 см3) (ГОСТ 25336), прибавляют 30 см3 воды, 20 см3 концентрированной азотной кислоты и растворяют при нагревании. К раствору прибавляют 4 см3 раствора азотнокислого серебра, доводят объем раствора водой до метки, перемешивают и оставляют в покое. Через 18-24 ч раствор фильтруют через обеззоленный фильтр "синяя лента", промытый горячим раствором азотной кислоты с массовой долей 1%, отбрасывая первые порции фильтрата. Для приготовления каждого раствора сравнения берут 25 см3 фильтрата.
При разногласиях в оценке массовой доли хлоридов анализ проводят фототурбидиметрическим методом.
4.6-4.8. (Измененная редакция, Изм. N 1, 2).
4.9. Определение массовой доли железа
4.9.1а. Аппаратура, реактивы и растворы
Спектрофотометр атомно-абсорбционный типа "Сатурн" или другой прибор с чувствительностью определения железа 2,5 дел·см3 мкг-1.
Лампа спектральная с полым катодом ЛСП-Fe.
Фотоэлектронный умножитель ФЭУ-39А.
Колба Кн-2-100-22 ТХС по ГОСТ 25336.
Колба 2-50-2 по ГОСТ 1770.
Пипетка 4(5)-2-1(2) по НТД.
Ацетилен растворенный технический по ГОСТ 5457.
Воздух для питания контрольно-измерительных приборов.
Вода дистиллированная по ГОСТ 6709.
Кислота азотная по ГОСТ 4461, х.ч.
Меди (II) оксид, не содержащий определяемого элемента, или с минимальным его содержанием, определяемым методом добавок в условиях данной методики и учитываемом при приготовлении растворов сравнения.
Раствор массовой концентрации Fe 1 мг/см3; готовят по ГОСТ 4212; соответствующим разбавлением готовят раствор массовой концентрации Fe 0,1 мг/см3.
(Введен дополнительно, Изм. N 2).
4.9.1. Подготовка к анализу
4.9.1.1. Приготовление анализируемых растворов
1,00 г препарата помещают в коническую колбу, прибавляют 10 см3 азотной кислоты, растворяют при нагревании, охлаждают. Раствор количественно переносят в мерную колбу, доводят объем раствора водой до метки и тщательно перемешивают.
4.9.1.2. Приготовление растворов сравнения
Для приготовления каждого раствора сравнения 1,00 г оксида меди (II) помещают в коническую колбу, прибавляют 10 см3 азотной кислоты, растворяют при нагревании и охлаждают. Затем раствор количественно переносят в мерную колбу и прибавляют массы железа, указанные в табл.2, в виде растворов массовой концентрации 0,1 мг/см3. Объем каждого раствора доводят водой до метки и тщательно перемешивают.
Таблица 2
(Измененная редакция, Изм. N 1, 2).
4.9.2. Проведение анализа
Подготовку спектрофотометра "Сатурн" к проведению анализа ведут в соответствии с техническим описанием и инструкцией по эксплуатации.
Прибор считают подготовленным к проведению анализа, если при распылении в пламя раствора, содержащего 0,012 мг/см3 железа, поглощение его линии составит 30%.
Для анализа берут не менее двух навесок препарата. Анализ проводят в пламени ацетилен-воздух, используя аналитическую линию Fe - 248,3 нм.
После подготовки прибора проводят фотометрирование анализируемого раствора и растворов сравнения в порядке возрастания массовых долей определяемого элемента, распыляя после каждого измерения воду. Затем проводят фотометрирование в обратной последовательности. Каждый раствор фотометрируют по три раза.
(Измененная редакция, Изм. N 2).
4.9.3. Обработка результатов
Для определения массовой доли железа измеряют линейкой высоту пиков регистрограмм интенсивности поглощения и вычисляют среднеарифметическое значение интенсивности поглощения для каждого раствора.
По полученным данным для растворов сравнения строят градуировочный график для определения железа, откладывая на оси ординат значения поглощения (в процентах), на оси абсцисс - массовую долю железа в процентах в пересчете на препарат.
По полученному градуировочному графику находят массовую долю железа в препарате.
За результат измерения принимают среднеарифметическое результатов трех параллельных определений, относительное расхождение между наиболее отличающимися значениями которых не превышает допускаемое расхождение, равное 20%.
Допускаемая относительная суммарная погрешность результата измерения ±10% при доверительной вероятности P=0,95.
(Введен дополнительно, Изм. N 2).
4.10. Определение массовой доли органических примесей
4.10.1. Реактивы, растворы, приборы и посуда
аммиак водный, не содержащий углекислоты; готовят по ГОСТ 4517.
барий хлористый, раствор с массовой долей 20%; готовят по ГОСТ 4517.
Бария гидроокись 8-водная по ГОСТ 4107, насыщенный раствор.
Вода дистиллированная, не содержащая углекислоты; готовят по ГОСТ 4517.
Калия гидроокись по ГОСТ 24363, раствор с массовой долей 30% или
Натрия гидроокись по ГОСТ 4328, раствор с массовой долей 30%.
Кислота серная по ГОСТ 4204.
Кислород газообразный технический и медицинский по ГОСТ 5583.
Раствор массовой концентрации c=1 мг/см3; готовят по ГОСТ 4212; соответствующим разбавлением готовят раствор массовой концентрации c=0,01 мг/см3.
Печь горизонтальная трубчатая электрическая с терморегулятором.
Поглотитель химический известковый ХП-И по ГОСТ 6755.
Трубка для сжигания, фарфоровая или кварцевая, с внутренним диаметром 15-20 мм.
Кислород из газометра или баллона.
Колба П-2-100-22 ТХС или колба Кн-2-100-22 ТХС (поглотительные колбы) по ГОСТ 25336.
Склянки для промывания газов СПЖ-250 (.склянки Тищенко) по ГОСТ 25336.
Лодочка фарфоровая ЛС 2 по ГОСТ 9147, предварительно прокаленная в токе кислорода до полного выгорания углерода.
Пипетка 6(7)-2-5 по НТД.
Цилиндр 1(3)-50 по ГОСТ 1770.
(Измененная редакция, Изм. N 1, 2).
4.10.2. Подготовка к анализу
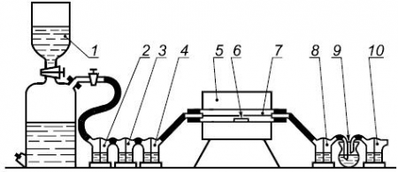
Общий вид прибора для определения массовой доли углерода приведен на чертеже.
Схема установки для определения углерода
1 - газометр с кислородом или баллон с кислородом; 2, 3, 4 - очистительные склянки Тищенко; 5- трубчатая печь; 6 - фарфоровая лодочка с анализируемым препаратом; 7 - трубка для сжигания; 8 - предохранительная склянка Тищенко; 9 - поглотительная колба; 10 - промывная склянка Тищенко
После газометра или баллона с кислородом для очистки и осушки поступающего в печь кислорода ставят три очистительные склянки Тищенко. В первую - наливают раствор гидроокиси натрия (или гидроокиси калия), во вторую - серную кислоту, в третью - раствор гидроокиси бария.
В печь вставляют трубки для сжигания. Концы трубки, выступающие на 15-17 см, плотно закрывают резиновыми пробками. В середине пробок должны быть отверстия, в которые вставляют стеклянные трубки диаметром 6 мм, на которые надевают резиновые трубки.
С другой стороны печь соединяют через предохранительную склянку Тищенко с поглотительной колбой, содержащей 25 см3 воды и 1 см3 раствора аммиака.
Поглотительную колбу закрывают резиновой пробкой с двумя отверстиями. Через одно отверстие проходит стеклянная трубка, верхний конец которой соединяют с предохранительной склянкой, а нижний опущен в поглотительный раствор. Через другое отверстие проходит короткая трубка, соединяющая поглотительную колбу с промывной склянкой, содержащей раствор гидроокиси натрия (или гидроокиси калия), или с трубкой, содержащей известковый химический поглотитель.
Перед сжиганием образцов анализируемого препарата установку проверяют на герметичность и на отсутствие углерода в системе. Для этого после достижения в печи 800°С-900°С пропускают ток кислорода в течение 1 ч, улавливая выходящие из печи газы в колбу с поглотительным раствором. Установку считают подготовленной к анализу, если поглотительный раствор через 20 мин после добавления к нему 1 см3 раствора хлористого бария не будет давать помутнения.
4.10.3. Проведение анализа
1,00 г препарата помещают в фарфоровую лодочку и, открыв трубку, соединенную с предохранительной склянкой, вставляют лодочку при помощи медного крючка в трубку для сжигания на уровне середины печи, предварительно нагретой до 800°С-900°С. Затем трубку плотно закрывают.
Ток кислорода должен проходить через систему равномерно, со скоростью 2-3 пузырька в секунду. Прокаливание ведут при 800°С-900°С в течение 1 ч. Затем колбу с поглотительным раствором быстро отсоединяют, прибавляют 1 см3 раствора хлористого бария, закрывают пробкой и перемешивают.
Препарат считают соответствующим требованиям настоящего стандарта, если наблюдаемое через 20 мин помутнение поглотительного раствора не будет интенсивнее помутнения раствора, приготовленного одновременно с анализируемым и содержащего в таком же объеме 0,02 мг C, 1 см3 раствора аммиака и 1 см3 раствора хлористого бария.
(Измененная редакция, Изм. N 1.)
4.11. Определение массовой доли суммы натрия, калия и кальция
4.11.1. Приборы, реактивы, растворы и оборудование
Фотометр пламенный или спектрофотометр на основе спектрографа типа ИСП-51 (или универсального монохроматора типа УМ-2) с фотоэлектрической приставкой ФЭП-1, или спектрофотометра типа "Сатурн" в эмиссионном режиме.
Фотоумножители типа ФЭУ-17, ФЭУ-22, ФЭУ-38.
Колба КН-2-250-34 ТХС по ГОСТ 25336.
Колба 2-100-2 по ГОСТ 1770.
Пипетка 6(7)-2-10 и 6(7)-2-25 по НТД.
Цилиндр 1(3)-25(50) по ГОСТ 1770.
Горелка газовая.
Распылитель.
Ацетилен растворенный технический по ГОСТ 5457.
Вода дистиллированная по ГОСТ 6709, вторично перегнанная в кварцевом дистилляторе, или Вода деминерализованная.
Воздух для питания контрольно-измерительных приборов.
Кислота азотная по ГОСТ 4461, х.ч.
Растворы массовой концентрации Na, K и Ca 1 мг/см3; готовят по ГОСТ 4212; соответствующим разбавлением и смешиванием получают раствор массовой концентрации Na, K и Ca по 0,1 мг/см3 - раствор А.
Оксид меди (II), не содержащий определяемых примесей или с минимальным их содержанием, которое определяют методом добавок в условиях данной методики и учитывают при построении градуировочного графика.
Все растворы и воду, применяемую для их приготовления, хранят в полиэтиленовой или кварцевой посуде.
(Измененная редакция, Изм. N 2).
4.11.2. Подготовка к анализу
4.11.2.1. Приготовление анализируемых растворов
2,00 г препарата помещают в коническую колбу, прибавляют 10 см3 азотной кислоты, 10 см3 воды, растворяют при нагревании и охлаждают. Раствор количественно переносят в мерную колбу, доводят объем раствора водой до метки и тщательно перемешивают.
4.11.2.2. Приготовление растворов сравнения
Для приготовления каждого раствора сравнения 2,00 г оксида меди (II), не содержащего определяемых примесей, помещают в коническую колбу, прибавляют 10 см3 азотной кислоты, 10 см3 воды, растворяют при нагревании, охлаждают и прибавляют указанные в табл.3 объемы раствора А. Затем растворы перемешивают, количественно переносят в мерные колбы, доводят объем каждого раствора водой до метки и снова тщательно перемешивают.
Таблица 3
4.11.2.1; 4.11.2.2. (Измененная редакция, Изм. N 1, 2).
4.11.3. Проведение анализа
Для анализа берут не менее двух навесок препарата. Сравнивают интенсивность излучения резонансных линий (нм): Na - 589,0-589,6, K - 766,5-769,89 и Ca - 422,7, возникающих в спектре пламени ацетилен-воздух, при введении в него анализируемых растворов и растворов сравнения.
После подготовки прибора к анализу проводят фотометрирование спектра анализируемых растворов и растворов сравнения, в порядке возрастания содержания определяемых примесей. После этого проводят фотометрирование в обратной последовательности, начиная с максимального содержания примесей, и вычисляют среднеарифметическое значение интенсивности излучения для каждого раствора. После каждого измерения распыляют воду.
4.11.4. Обработка результатов
По полученным данным для растворов сравнения строят градуировочный график для каждого определяемого элемента, откладывая значение интенсивности излучения на оси ординат, массовую долю примеси определяемого элемента в пересчете на препарат - на оси абсцисс.
Массовую долю каждой примеси в препарате находят по соответствующему градуировочному графику.
За результат анализа принимают среднеарифметическое результатов двух параллельных определений, относительное расхождение между которыми не превышает допускаемое расхождение, равное 20%.
Допускаемая относительная суммарная погрешность результата анализа ±10% при доверительной вероятности P=0,95.
(Измененная редакция, Изм. N 1, 2).
5. УПАКОВКА, МАРКИРОВКА, ТРАНСПОРТИРОВАНИЕ И ХРАНЕНИЕ
5.1. Препарат упаковывают и маркируют в соответствии с ГОСТ 3885 с указанием на препаративную форму.
Вид и тип тары: 2-1, 2-4, 11-1, 6-1.
Группа фасовки: IV, V, VI, VII.
Транспортная маркировка - по ГОСТ 14192 с нанесением знака опасности по ГОСТ 19433(класс 9, подкласс 9.1, классификационный шифр 9153).
(Измененная редакция, Изм. N 1, 2).
5.2. Препарат транспортируют всеми видами транспорта в соответствии с правилами перевозки грузов, действующими на данном виде транспорта.
5.3. Препарат хранят в упаковке изготовителя в крытых складских помещениях.
6. ГАРАНТИИ ИЗГОТОВИТЕЛЯ
6.1. Изготовитель гарантирует соответствие оксида меди (II) требованиям настоящего стандарта при соблюдении условий транспортирования и хранения.
6.2. Гарантийный срок хранения - два года со дня изготовления.
Разд.6. (Измененная редакция, Изм. N 1).
официальное издание
М.: Стандартинформ, 2007
