Гексахлорэтан технический ГОСТ 9991-74
Гексахлорэтан технический. Технические условия (с Изменениями N 1, 2, 3) ГОСТ 9991-74
ГОСТ 9991-74
Группа Л21
МЕЖГОСУДАРСТВЕННЫЙ СТАНДАРТ
ГЕКСАХЛОРЭТАН ТЕХНИЧЕСКИЙ
Технические условия
Technical hexachlorethane. Specifications
ОКП 24 1225 0100
Дата введения 1975-07-01
в части 1-го сорта 1977-01-01
ИНФОРМАЦИОННЫЕ ДАННЫЕ
1. РАЗРАБОТАН И ВНЕСЕН Министерством химической промышленности СССР
РАЗРАБОТЧИКИ
И.А. Дьяконов, канд. химических наук; З.М.Ривина, канд. химических наук; Т.В.Авгуль, П.Л.Резник, Л.Л.Сонина
2. УТВЕРЖДЕН И ВВЕДЕН В ДЕЙСТВИЕ Постановлением Государственного комитета стандартов Совета Министров СССР от 09.04.74 N 845
3. ВЗАМЕН ГОСТ 9991-66
4. ССЫЛОЧНЫЕ НОРМАТИВНО-ТЕХНИЧЕСКИЕ ДОКУМЕНТЫ
|
Обозначение НТД, на который дана ссылка |
Номер пункта |
|
ГОСТ 1770-74 |
3.5.1; 3.7.1а; 3.8.1; 3.9.1; 3.10.1 |
|
ГОСТ 2222-78 |
3.5.1 |
|
ГОСТ 2226-88 |
4.1 |
|
3.7.1а |
|
|
3.10.1 |
|
|
3.7.1а; 3.9.1 |
|
|
ГОСТ 4517-87 |
3.10.1 |
|
3.9.1 |
|
|
ГОСТ 4919.1-77 |
3.9.1; 3.11.1 |
|
ГОСТ 5044-79 |
4.1 |
|
3.8.1; 3.9.1; 3.10.1 |
|
|
3.8.1; 3.9.1; 3.10.1 |
|
|
3.3.1; 3.9.1 |
|
|
3.5.1 |
|
|
ГОСТ 8448-78 |
3.8.1; 3.9.1; 3.10.1 |
|
ГОСТ 9147-80 |
3.7.1а |
|
ГОСТ 9338-80 |
4.1 |
|
ГОСТ 9557-87 |
4.4 |
|
ГОСТ 9880-76 |
3.8.1; 3.9.1; 3.10.1 |
|
3.3.1 |
|
|
3.3.1 |
|
|
3.10.1 |
|
|
ГОСТ 10354-82 |
4.1 |
|
ГОСТ 10555-75 |
3.7.1 |
|
ГОСТ 12026-76 |
3.8.1 |
|
ГОСТ 13032-77 |
3.3.1 |
|
ГОСТ 14192-96 |
4.2 |
|
ГОСТ 14870-77 |
3.5.1 |
|
3.3.1 |
|
|
3.3.1; 3.9.1; 3.11.1 |
|
|
ГОСТ 18995.4-73 |
3.4 |
|
ГОСТ 19433-88 |
2.1; 4.2 |
|
3.5.1 |
|
|
ГОСТ 21650-76 |
4.4 |
|
ГОСТ 24597-81 |
4.4 |
|
ГОСТ 25336-82 |
3.8.1; 3.9.1; 3.10.1; 3.11.1 |
|
ГОСТ 25706-83 |
3.3.1 |
|
ГОСТ 27025-86 |
3.1а; 3.2 |
5. Ограничение срока действия снято по протоколу N 4-93 Межгосударственного Совета по стандартизации, метрологии и сертификации (ИУС 4-94)
6. ПЕРЕИЗДАНИЕ (ноябрь 1998 г.) с Изменениями N 1, 2, 3, утвержденными в августе 1975 г., мае 1985 г., декабре 1989 г. (ИУС 10-75, 7-85, 3-90)
Настоящий стандарт распространяется на технический гексахлорэтан, представляющий собой порошок с характерным запахом, напоминающим запах камфары, предназначенный для применения в химической промышленности и в сельском хозяйстве.
Формулы:
эмпирическая C2Cl6
структурная
Молекулярная масса (по международным атомным массам 1985 г.) - 236,74.
(Измененная редакция, Изм. N 3).
1. ТЕХНИЧЕСКИЕ ТРЕБОВАНИЯ
1.1. Технический гексахлорэтан должен изготовляться в соответствии с требованиями настоящего стандарта по технологическому регламенту, утвержденному в установленном порядке.
(Измененная редакция, Изм. N 2).
1.2. По физико-химическим показателям технический гексахлорэтан должен соответствовать требованиям и нормам, указанным в таблице.
|
Наименование показателя |
Норма |
|
|
1. |
Внешний вид |
Кристаллический порошок белого цвета. Допускается вкрапление окрашенных кристаллов |
|
2. |
Массовая доля гексахлорэтана, %, не менее |
99,0 |
|
3. |
Температура начала плавления, °С, не ниже |
184 |
|
4. |
Массовая доля воды, %, не более |
0,05 |
|
5. |
(Исключен, Изм. N 3). |
|
|
6. |
Массовая доля железа, %, не более |
0,01 |
|
7. |
Массовая доля остатка, нерастворимого в бензоле или толуоле, %, не более |
0,06 |
|
8. |
Массовая доля хлоридов в пересчете на хлор, %, не более |
0,04 |
|
9. |
Содержание свободного хлора |
Должен по п.3.10 выдерживать испытание |
|
10. |
Содержание свободных кислот и щелочей |
Должен по п. 3.1 выдерживать испытание |
(Измененная редакция, Изм. N 2, 3).
2а. ТРЕБОВАНИЯ БЕЗОПАСНОСТИ
2а.1. Технический гексахлорэтан негорючий порошок. Пылевоздушная смесь гексахлорэтана невзрывоопасна.
2а.2. Гексахлорэтан при попадании в организм может вызвать дистрофические изменения в печени и других органах.
2а.З. Производственные помещения должны быть оборудованы приточно-вытяжной вентиляцией. Все работы с гексахлорэтаном должны проводиться в условиях, исключающих пыление продукта. Уборка помещения - влажная.
2а.4. При работе с гексахлорэтаном необходимо пользоваться средствами индивидуальной защиты.
Разд. 2а. (Введен дополнительно, Изм. N 2).
2. ПРАВИЛА ПРИЕМКИ
2.1. Технический гексахлорэтан принимают партиями. Партией считают любое количество продукта, но не более 60 т, однородное по своим качественным показателям, сопровождаемое одним документом о качестве.
Документ должен содержать:
наименование предприятия-изготовителя и его товарный знак;
наименование продукта;
номер партии;
количество упаковочных единиц в партии;
дату изготовления;
массу брутто и нетто;
результаты проведенных анализов или подтверждение о соответствии качества продукта требованиям настоящего стандарта;
шифр группы по ГОСТ 19433;
обозначение настоящего стандарта.
2.2. Для проверки соответствия качества продукта требованиям настоящего стандарта объем выборки продукта - 10% мешков, но не менее трех.
2.1, 2.2. (Измененная редакция, Изм. N 2).
2.3. Содержание свободного хлора, свободных кислот и щелочей изготовитель определяет по требованию потребителя.
2.4. При получении неудовлетворительных результатов анализа хотя бы по одному из показателей проводят повторный анализ на удвоенной выборке.
Результаты повторного анализа распространяются на всю партию.
(Измененная редакция, Изм. N 2).
3. МЕТОДЫ АНАЛИЗА
3.1а. Общие указания по проведению анализа - по ГОСТ 27025.
Допускается применять аппаратуру с техническими и метрологическими характеристиками не хуже, а также реактивы по качеству не ниже указанных в настоящем стандарте.
При взвешивании применяют лабораторные весы общего назначения типов ВЛР-200 г, ВЛР-1 кг, ВЛКТ-500 г или ВЛЭ-1 кг.
(Введен дополнительно, Изм. N 3).
3.1. Точечные пробы отбирают щупом, тщательно перемешивают и отбирают среднюю пробу массой не более 500 г. Среднюю пробу помещают в чистую сухую стеклянную банку с притертой пробкой. На банку наклеивают этикетку с указанием: названия продукта, номера партии, даты и места отбора пробы и фамилии лица, отобравшего пробу.
(Измененная редакция, Изм. N 2).
3.2. Внешний вид определяют визуально по ГОСТ 27025 при рассеянном дневном свете на матовом фоне, осматривая пробу продукта толщиной 3-5 мм на площади не менее 50x50 мм.
(Измененная редакция, Изм. N 3).
3.3. Определение массовой доли гексахлорэтана
3.3.1. Аппаратура и реактивы
Хроматограф аналитический газовый лабораторный с детектором по теплопроводности.
Микрошприц типа МШ-10.
Планиметр или лупа типа ЛИ по ГОСТ 25706 с ценой деления 0,1 мм.
Носители твердые: сферохром-1, сферохром-2, хроматон N или хроматон N-AW-HMDS с частицами размером 0,150-0,315 мм.
Фаза неподвижная: жидкость кремнийорганическая ПФМС-4 по ГОСТ 15866 или жидкость полиметилсилоксановая ПМС-100 по ГОСТ 13032.
Бензонитрил с массовой долей основного вещества не менее 99%.
н-Декан с массовой долей основного вещества не менее 99%.
Метилен хлористый по ГОСТ 9968 или метилен хлористый, ч.
Эфир этиловый по НТД.
Спирт этиловый ректификованный технический по ГОСТ 18300, высший сорт.
Вода дистиллированная по ГОСТ 6709 или Вода эквивалентной чистоты.
Гексахлорэтан для хроматографии.
Трихлорэтилен по ГОСТ 9976.
Перхлорэтилен с массовой долей основного вещества не менее 95%.
Тетрахлорэтан симметричный с массовой долей основного вещества не менее 95%.
Пентахлорэтан с массовой долей основного вещества не менее 95%.
Гексахлорбутадиен с массовой долей основного вещества не менее 95%.
Газ-носитель: гелий газообразный.
(Измененная редакция, Изм. N 2, 3).
3.3.2. Подготовка сорбента
Сорбент готовят следующим образом: рабочую фракцию сферохрома-1, сферохрома-2 или хроматона N заливают разбавленной соляной кислотой (1:1), кипятят с обратным холодильником в течение 7 ч, отмывают дистиллированной водой до отсутствия хлор-ионов (реакция с азотнокислым серебром), декантируют, сушат в сушильном шкафу при 140°С и прокаливают в муфельной печи при 900-1000°С в течение 6-7 ч. Носитель хроматон N-AW-HMDS используют для приготовления сорбента без обработки.
Неподвижную фазу (18% от массы носителя) наносят на твердый носитель, для этого твердый носитель обрабатывают в фарфоровой чашке раствором кремнийорганической жидкости ПФМС-4 или ПМС-100 в хлористом метилене так, чтобы носитель полностью был покрыт раствором. Подогревая чашку со смесью на водяной бане и непрерывно перемешивая ее содержимое, испаряют хлористый метилен. Сорбент досушивают в сушильном шкафу при 100-120°С в течение 30 мин.
3.3.3. Подготовка к анализу
Чистую сухую хроматографическую колонку заполняют сорбентом небольшими порциями, используя вибратор для уплотнения сорбента.
Концы заполненной колонки закрывают металлической сеткой или стеклянной ватой. Заполненную колонку устанавливают в термостат прибора. Не присоединяя колонку к детектору, производят стабилизацию ее газом-носителем в течение 7-8 ч при 190°С.
Монтаж, наладку и вывод хроматографа на рабочий режим производят в соответствии с инструкцией, прилагаемой к прибору.
3.3.2, 3.3.3. (Измененная редакция, Изм. N 2).
3.3.4. Режим градуировки и работы хроматографа
|
Объемный расход газа-носителя, см3/мин |
30 |
||
|
Скорость движения диаграммной ленты, мм/ч |
200-600 |
||
|
Температура термостата колонок, °С |
160 |
||
|
Температура термостата детектора, °С |
210 |
||
|
Температура испарителя, °С |
220 |
||
|
Ток моста детектора, мА |
140 |
||
|
Длина колонки, м |
3 |
||
|
Диаметр колонки, мм |
4 |
||
|
Объем вводимой пробы, мм3 |
10 |
||
|
Продолжительность анализа, мин |
15-25 |
3.3.5. Градуировка прибора
Массовую долю примесей в гексахлорэтане определяют методом "внутреннего эталона". В качестве "внутреннего эталона" используют бензонитрил или -декан.
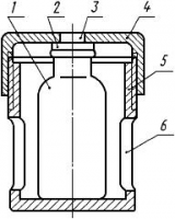
Для градуировки прибора готовят искусственные смеси в стаканчике, изображенном на черт. 1. Для этого во взвешенный стаканчик с пенициллиновой склянкой помещают около 2 г гексахлорэтана и взвешивают. Приливают 3 см3 этилового эфира, закрывают навинчивающейся крышкой. После взвешивания стаканчика в склянку микрошприцем через резиновую пробку добавляют примерно 0,2% "внутреннего эталона" и анализируемые примеси в количестве 0,1-0,2%.
Результаты всех взвешиваний в граммах записывают с четырьмя десятичными знаками.
Допускается готовить градуировочные смеси другими способами и приемами с погрешностью не более 15% относительно заданной величины.
Черт.1. Стаканчик для приготовления искусственных смесей для градуировки прибора
1 - пенициллиновая склянка; 2 - пробка; 3 - отверстие в крышке; 4 - навинчивающаяся металлическая крышка; 5 - корпус металлического стаканчика; 6 - прорезь в корпусе стаканчика
Черт.1
Полученную смесь тщательно перемешивают и хроматографируют. По полученным данным строят градуировочный график, откладывая на оси ординат отношение высот или площадей пиков определяемого вещества и "внутреннего эталона", а по оси абсцисс - отношение массовых долей этих веществ.
Хроматограф градуируют при смене сорбента, а также при изменении условий хроматографического определения.
3.3.4, 3.3.5. (Измененная редакция, Изм. N 2, 3).
3.3.6. Проведение анализа
Во взвешенный стаканчик с пенициллиновой склянкой помещают около 2 г анализируемого продукта, взвешивают, приливают 3 см3 этилового эфира, закрывают склянку резиновой пробкой, помещают в стаканчик, который закрывают навинчивающейся крышкой. После взвешивания стаканчика в склянку микрошприцем через резиновую пробку добавляют примерно 0,2% "внутреннего эталона" от массы навески гексахлорэтана. Полученную смесь тщательно перемешивают до полного растворения навески и хроматографируют.
(Измененная редакция, Изм. N 2).
3.3.7. Обработка результатов
По градуировочному графику находят отношение массовых долей определяемого вещества и "внутреннего эталона" и вычисляют массовую долю определяемой примеси в гексахлорэтане (Xi) в процентах по формуле
где Aэт - массовая доля введенного "внутреннего эталона", %;
N - отношение массовых долей определяемой примеси и "внутреннего эталона", найденное по графику (Ai/Aэт).
Массовую долю гексахлорэтана (X) в процентах вычисляют по формуле
где
- сумма массовых долей органических примесей в гексахлорэтане, %;
X1 - массовая доля воды, определяемая по п.3.5, %;
X4 - массовая доля нерастворимого остатка, определяемая по п.3.8, %.
За результат анализа принимают среднее арифметическое двух параллельных определений, допускаемые расхождения между которыми при доверительной вероятности 0,95 не должны превышать 0,1%.
Допускаемая абсолютная суммарная погрешность результата определения гексахлорэтана ±0,25% при доверительной вероятности P=0,95.
Типовая хроматограмма приведена на черт.2.
Черт.2. Типовая хроматограмма технического гексахлорэтана
Типовая хроматограмма технического гексахлорэтана
1 - эфир;
2 - трихлорэтилен; 3 - перхлорэтилен; 4 - тетрахлорэтан; 5 - пентахлорэтан; 6 - бензонитрил; 7 -гексахлорэтан; 8 - гексахлорбутадиен
Черт. 2
3.4. Определение температуры начала плавления
Температуру начала плавления определяют по ГОСТ 18995.4 капиллярным методом в приборе с жидким теплоносителем в запаянных с двух сторон капиллярах, которые вносят в пустую пробирку прибора, нагретого до 170°С. При этом применяют укороченный термометр ТЛ-6 3-А5 или ТЛ-6 3-Б5.
При отсутствии укороченного термометра используют термометр ТЛ-5 2-A3, ТЛ-5 2-БЗ, ТЛ-4 4-А5 или ТЛ-4 4-Б5 и вспомогательный термометр ТЛ-2 1-А2, ТЛ-2 1-Б2, ТЛ-4 4-А2 или ТЛ-4 4-Б2. В этом случае при обработке результатов вносят поправку на высоту столбика ртути термометра, выступающего над уровнем нагревательной жидкости.
3.3.7, 3.4. (Измененная редакция, Изм. N 2, 3).
3.5. Определение массовой доли воды
3.5.1. Аппаратура, реактивы, растворы
Цилиндр по ГОСТ 1770 исполнения 1 или 3 вместимостью 50 или 100 см3.
Углерод четыреххлористый по ГОСТ 20288 (или перхлорэтилен).
метанол-яд по ГОСТ 6995 с массовой долей воды не более 0,05% (готовят по ГОСТ 14870) или по ГОСТ 2222 высшего сорта.
Смесь растворителей (1:1) по объему метанола и четыреххлористого углерода (или перхлорэтилена).
3.5.2. Проведение анализа
Массовую долю воды определяют по ГОСТ 14870 методом Фишера. При этом в колбу для титрования вводят 50 см3 смеси растворителей и оттитровывают в этой смеси воду реактивом Фишера. К обезвоженной смеси добавляют 9,50-10,50 г анализируемого продукта, перемешивают мешалкой до его полного растворения и титруют реактивом Фишера.
3.5-3.5.2. (Измененная редакция, Изм. N 3).
3.6-3.6.3. (Исключены, Изм. N 3).
3.7. Определение массовой доли железа
(Измененная редакция, Изм. N 2).
3.7.1а. Аппаратура, реактивы, растворы
Колба мерная по ГОСТ 1770 исполнения 1 или 2 вместимостью 250 см3.
Пипетка исполнения 2 вместимостью 5 см3, исполнения 6 или 7 вместимостью 10 см3.
Электроплитка любой марки или другой нагревательный прибор.
Печь муфельная любой марки, обеспечивающая температуру (575±25)°С.
Тигель фарфоровый N 3 или N 4 по ГОСТ 9147.
Кислота азотная по ГОСТ 4461, х.ч.
кислота соляная по ГОСТ 3118, х.ч.
(Введен дополнительно, N 3).
3.7.1. Проведение анализа
9,50-10,50 г анализируемого продукта взвешивают в фарфоровом тигле. Навеску продукта нагревают при слабом нагревании до прекращения выделения паров, затем прокаливают в муфельной печи при температуре (575±25)°С в течение 3 ч. Остаток в тигле растворяют при нагревании в 10 см3 соляной кислоты и 1 см3 азотной кислоты. Раствор количественно переносят в мерную колбу, охлаждают до комнатной температуры, доводят объем раствора в колбе до метки водой и тщательно перемешивают.
Далее определение проводят по ГОСТ 10555 сульфосалициловым методом, отбирая для анализа 5 см3 полученного раствора.
(Измененная редакция, Изм. N 3).
3.7.2. Обработка результатов
Массовую долю железа (X3) в процентах вычисляют по формуле
где m - масса железа, найденная по градуировочному графику, мг;
m1 - масса анализируемой пробы, г.
3.7.3. (Исключен, Изм. N 2).
3.8. Определение массовой доли остатка, нерастворимого в бензоле или толуоле
(Измененная редакция, Изм. N 2).
3.8.1. Аппаратура и реактивы
Шкаф сушильный любой марки, обеспечивающий температуру (102+2)°С.
Стаканчик для взвешивания СВ-34/12, СН-34/12 или СН-45/13 по ГОСТ 25336.
Цилиндр мерный по ГОСТ 1770 исполнения 1 или 3 вместимостью 50 см3.
Стекло часовое.
Бумага фильтровальная лабораторная по ГОСТ 12026.
Бензол по ГОСТ 5955 или ГОСТ 8448 или Толуол по ГОСТ 5789 или ГОСТ 9880.
(Измененная редакция, Изм. N 2, 3).
3.8.2. Проведение анализа
Взвешивают 9,50-10,50 г анализируемого продукта. Навеску растворяют в 50 см3 бензола или толуола, нагретых до (65±5)°С, затем фильтруют через высушенный до постоянной массы бумажный фильтр.
Остаток на фильтре промывают бензолом или толуолом, нагретыми до (65±5)°С, конец промывки определяют по отсутствию видимого остатка после испарения нескольких капель фильтрата на часовом стекле. Промытый остаток сушат при (102±2)°С до постоянной массы. Результаты взвешивания в граммах записывают с четырьмя десятичными знаками.
(Измененная редакция, Изм. N 2).
3.8.3. Обработка результатов
Массовую долю остатка, нерастворимого в бензоле или толуоле, (X4) в процентах вычисляют по формуле
где m - масса навески продукта, г;
m1 - масса высушенного остатка, г.
За результат анализа принимают среднее арифметическое двух параллельных определений, допускаемые расхождения между которыми при доверительной вероятности P=0,95 не должны превышать 0,006%.
Допускаемая абсолютная суммарная погрешность результата анализа ±0,006% при доверительной вероятности P=0,95.
(Измененная редакция, Изм. N 2, 3).
3.9. Определение массовой доли хлоридов в пересчете на хлор
(Измененная редакция,Изм. N 2).
3.9.1. Аппаратура, реактивы и растворы
Бюретка исполнения 7 вместимостью 10 см3.
Воронка делительная по ГОСТ 25336 типа ВД исполнения 1 или 2 вместимостью 100 см3.
Колба коническая по ГОСТ 25336 типа Кн вместимостью 250 см3.
Стаканчик для взвешивания СВ-34/12, СН-34/12 или СН-45/13 по ГОСТ 25336.
Цилиндр мерный по ГОСТ 1770 исполнения 1 или 3 вместимостью 50 см3.
Бензол по ГОСТ 5955 или ГОСТ 8448 или Толуол по ГОСТ 5789 или ГОСТ 9880.
Дифенилкарбазон (индикатор), спиртовой раствор с массовой долей 1%; готовят по ГОСТ 4919.1.
Кислота азотная по ГОСТ 4461, х.ч., разбавленная 1:1.
Ртуть (II) азотнокислая 1-водная по ГОСТ 4520, раствор концентрации с(1/2Hg(NO3)2·H2O) =0,02 моль/дм3 (0,02 н.).
Спирт этиловый ректификованный технический по ГОСТ 18300, высший сорт.
Вода дистиллированная по ГОСТ 6709 или Вода эквивалентной чистоты.
3.9.2. Проведение анализа
Взвешивают 9,5000-10,5000 г анализируемого продукта. Навеску продукта растворяют в 50 см3 бензола или толуола, нагретых до (65±5)°С. Полученный раствор переносят в делительную воронку, добавляют 50 см3 воды и встряхивают в течение 1 мин.
После расслаивания водный слой сливают в коническую колбу. Экстракцию водой повторяют еще два раза порциями по 50 см3. Водные вытяжки сливают в ту же колбу.
В колбу добавляют 1,5 см3 раствора азотной кислоты, 20 капель дифенилкарбазона и титруют раствором азотнокислой ртути до появления розово-сиреневой окраски.
Одновременно проводят контрольный опыт в тех же условиях и с теми же количествами реактивов.
3.9.3. Обработка результатов
Массовую долю хлоридов в пересчете на хлор (X5) в процентах вычисляют по формуле
где V - объем раствора азотнокислой ртути концентрации точно 0,02 моль/дм3, израсходованный на титрование анализируемой пробы, см3;
V1 - объем раствора азотнокислой ртути концентрации точно 0,02 моль/дм3, израсходованный на титрование в контрольном опыте, см3;
0,0007091 - масса хлора, соответствующая 1 см3 раствора азотнокислой ртути концентрации точно 0,02 моль/дм3, г;
m - масса навески продукта, г.
За результат анализа принимают среднее арифметическое двух параллельных определений, допускаемые расхождения между которыми при доверительной вероятности P=0,95 не должны превышать 0,003%.
Допускаемая абсолютная суммарная погрешность результата анализа ±0,003% при доверительной вероятности P=0,95.
3.9.1-3.9.3. (Измененная редакция, Изм. N 2, 3).
3.10. Определение содержания свободного хлора
3.10.1. Аппаратура, реактивы и растворы
Воронка делительная по ГОСТ 25336 типа ВД исполнения 1 или 2 вместимостью 250 см3.
Пипетка исполнения 4 (или 5, 6, 7) вместимостью 1 или 2 см3.
Пробирки по ГОСТ 25336 типа П1 или П2 диаметром 14 или 16 мм.
Стаканчик для взвешивания СВ-34/12, СН-34/12 или СН-45/13 по ГОСТ 25336.
Цилиндры мерные по ГОСТ 1770 исполнения 1 или 3 вместимостью 50 см3.
Калий йодистый по ГОСТ 4232, раствор с массовой долей 10%.
Крахмал растворимый по ГОСТ 10163, раствор с массовой долей 0,5%.
Бензол по ГОСТ 5955 или ГОСТ 8448 или Толуол по ГОСТ 5789 или ГОСТ 9880.
Вода дистиллированная, не содержащая углекислоты; готовят по ГОСТ 4517.
3.10.2. Проведение анализа
Взвешивают 9,50-10,50 г анализируемого продукта. Навеску продукта растворяют в 50 см3 бензола или толуола, нагретых до (65±5)°С. Раствор помещают в делительную воронку, приливают 50 см3 воды и тщательно перемешивают.
После расслаивания часть водного слоя сливают в пробирку. В другой пробирке готовят раствор, состоящий из 0,5 см3 раствора крахмала и 0,1 см3 раствора йодистого калия.
Продукт считают соответствующим требованиям настоящего стандарта, если при смешивании содержимого двух пробирок не появится синяя окраска.
Оставшуюся часть водного слоя используют для определения свободных кислот и щелочей.
3.10.1, 3.10.2. (Измененная редакция, Изм. N 2, 3).
3.11. Определение содержания свободных кислот и щелочей
3.11.1. Аппаратура, реактивы и растворы
Пробирки по ГОСТ 25336 типа П1 или П2 диаметром 14 или 16 мм.
Метиловый оранжевый (индикатор), раствор с массовой долей 0,1%; готовят по ГОСТ 4919.1.
Фенолфталеин (индикатор), спиртовой раствор с массовой долей 0,1%; готовят по ГОСТ 4919.1.
Спирт этиловый ректификованный технический по ГОСТ 18300, высший сорт.
(Измененная редакция, Изм. N 2).
3.11.2. Проведение анализа
Часть водного слоя из делительной воронки (п.3.10.2) сливают в две пробирки. В одну из них добавляют 2-3 капли раствора метилового оранжевого, а в другую - 2-3 капли раствора фенолфталеина.
Продукт считают соответствующим требованиям настоящего стандарта, если в пробирках не появится красная окраска.
(Измененная редакция, Изм. N 2, 3).
4. УПАКОВКА, МАРКИРОВКА, ТРАНСПОРТИРОВАНИЕ И ХРАНЕНИЕ
4.1. Технический гексахлорэтан упаковывают в пятислойные бумажные мешки марки ПМ по ГОСТ 2226 или пятислойные бумажные мешки марки БМ по ГОСТ 2226 с полиэтиленовым вкладышем. Масса нетто 30-50 кг.
Для сельского хозяйства технический гексахлорэтан упаковывают в четырех-, пятислойные бумажные мешки марки БМ по ГОСТ 2226 с полиэтиленовым вкладышем. Масса нетто - не более 25 кг.
Вкладыш должен быть изготовлен из полиэтиленовой пленки по ГОСТ 10354 толщиной не менее 0,100 мм.
Полиэтиленовый вкладыш заваривают или завязывают с перегибом горловины на 180° пеньковым шпагатом или шпагатом из синтетического волокна.
Бумажные мешки зашивают машинным способом (не прокалывая полиэтиленового вкладыша).
При отправке водным транспортом мешки с продуктом дополнительно помещают в стальные барабаны исполнения В по ГОСТ 5044 любого типа или в фанерные барабаны по ГОСТ 9338 любого типа.
(Измененная редакция, Изм. N 2).
4.2. Транспортная маркировка - по ГОСТ 14192 с нанесением манипуляционного знака: на мешки - "Беречь от влаги", на барабаны - "Герметичная упаковка" и знака опасности по ГОСТ 19433 (класс 9, подкласс 9.1, классификационный шифр 9153).
Дополнительно наносят следующие данные, характеризующие упакованную продукцию:
товарный знак и (или) наименование предприятия-изготовителя;
наименование продукта;
номер партии и дату изготовления;
массу нетто;
обозначение настоящего стандарта.
На каждый мешок с техническим гексахлорэтаном для сельского хозяйства наклеивают или вкладывают между бумажным мешком и полиэтиленовым вкладышем краткую инструкцию по применению продукта.
(Измененная редакция, Изм. N 2, 3).
4.3. Технический гексахлорэтан транспортируют железнодорожным, автомобильным и водным транспортом в крытых транспортных средствах в соответствии с правилами перевозки опасных грузов, действующими на данном виде транспорта. Железнодорожным транспортом - повагонно и мелкими отправками.
(Измененная редакция, Изм. N 2).
4.4. Технический гексахлорэтан должен перевозиться транспортными пакетами в соответствии с правилами перевозки грузов, утвержденными соответствующими ведомствами, на плоских деревянных поддонах по ГОСТ 9557 размером 8001200 мм. На поддон укладывают в каждом ряду три мешка - два вдоль и один поперек с последующей связкой мешков в следующем ряду - один вдоль и два поперек.
Размеры пакета должны соответствовать ГОСТ 24597.
Масса брутто пакета не должна превышать 1 т.
Средства скрепления - по ГОСТ 21650.
(Измененная редакция, Изм. N 2, 3).
4.5. Технический гексахлорэтан хранят в упаковке изготовителя в закрытых складских неотапливаемых помещениях, исключающих попадание влаги и совместное хранение фуражных и пищевых продуктов.
(Измененная редакция, Изм. N 2).
5. ГАРАНТИИ ИЗГОТОВИТЕЛЯ
5.1. Изготовитель гарантирует соответствие технического гексахлорэтана требованиям настоящего стандарта при соблюдении условий транспортирования и хранения.
5.2. Гарантийный срок хранения технического гексахлорэтана - два года со дня изготовления.
Разд.5. (Измененная редакция, Изм. N 2).
Разд.6. (Исключен, Изм. N 2).
официальное издание
М.: ИПК Издательство стандартов, 1999
