Углерод четыреххлористый ГОСТ 20288-74
Углерод четыреххлористый. Технические условия (с Изменениями N 1, 2, с Поправкой) ГОСТ 20288-74 (СТ СЭВ 4804-84)
ГОСТ 20288-74*
(СТ СЭВ 4804-84)
Группа Л52
ГОСУДАРСТВЕННЫЙ СТАНДАРТ СОЮЗА ССР
Реактивы
УГЛЕРОД ЧЕТЫРЕХХЛОРИСТЫЙ
Технические условия
Reagents. Carbon tetrachloride. Specifications
ОКП 26 3161 0890 10
Дата введения 1975-01-01
Постановлением Государственного комитета стандартов Совета Министров СССР от 15 ноября 1974 г. N 2534 срок введения установлен с 01.01.75
Проверен в 1985 г. Постановлением Госстандарта от 27.09.85 N 3161 срок действия продлен до 01.01.94**
________________
** Ограничение срока действия снято по протоколу N 3-93 Межгосударственного Совета по стандартизации, метрологии и сертификации (ИУС N 5-6, 1993 год). - Примечание изготовителя базы данных.
ВЗАМЕН ГОСТ 5827-68 и ГОСТ 5.834-71
* ПЕРЕИЗДАНИЕ (декабрь 1986 г.) с Изменениями N 1, 2, утвержденными в августе 1980 г., сентябре 1985 г. (ИУС 11-80, 12-85).
ВНЕСЕНА поправка, опубликованная в ИУС N 3, 1990 год
Поправка внесена изготовителем базы данных
Настоящий стандарт распространяется на четыреххлористый углерод, представляющий собой бесцветную прозрачную жидкость, нерастворимую в воде.
Формула CCl4
Молекулярная масса (по международным атомным массам 1971 г.) - 153,82.
Температура кипения 76-77 °С, плотность 1,595 г/см3.
Стандарт полностью соответствует СТ СЭВ 4804-84.
Установленные настоящим стандартом показатели технического уровня предусмотрены для высшей категории качества.
1. ТЕХНИЧЕСКИЕ ТРЕБОВАНИЯ
1.1а. Четыреххлористый углерод должен быть изготовлен в соответствии с требованиями настоящего стандарта по технологическому регламенту, утвержденному в установленном порядке.
(Введен дополнительно, Изм. N 1).
1.1. По физико-химическим показателям четыреххлористый углерод должен соответствовать требованиям и нормам, указанным в табл.1.
Таблица 1
|
Наименования показателей |
Нормы |
||
|
Химически чистый (х.ч.) |
Чистый для анализа (ч.д.а.) |
Чистый (ч.) |
|
|
1. Массовая доля четыреххлористого углерода, %, не менее |
99,80 |
99,60 |
99,60 |
|
2. Массовая доля нелетучего остатка, %, не более |
0,0002 |
0,0005 |
0,001 |
|
3. Массовая доля кислот в пересчете на НСl, %, не более |
0,0001 |
0,0001 |
0,0001 |
|
4. Массовая доля альдегидов (CH2O), %, не более |
0,0001 |
0,0001 |
0,0001 |
|
5. Массовая доля свободного хлора (Cl), %, не более |
0,00003 |
0,00005 |
0,00005 |
|
6. Массовая доля хлоридов (Сl), %, не более |
0,00005 |
0,00005 |
0,00005 |
|
7. Массовая доля воды, %, не более |
0,003 |
0,005 |
0,006 |
|
8. Массовая доля веществ, реагирующих с йодом, в пересчете на CH2O, %, не более |
0,0002 |
0,0002 |
0,0002 |
|
9. Массовая доля веществ, темнеющих под действием серной кислоты |
Должен выдерживать испытание по п.3.10 |
||
|
10. Массовая доля сероуглерода (CS2), %, не более |
0,0002 |
0,0002 |
0,0002 |
|
11. Проба на фосген |
Должен выдерживать испытание по п.3.12 |
||
Примечания:
1. По показателям 3-6 и 8 проверяют продукт, предназначенный для экспорта, и по требованию потребителя.
2. Четыреххлористый углерод с показателем, указанным в скобках, допускается производить до 01.01.93.
(Измененная редакция, Изм. N 2).
2a. ТРЕБОВАНИЯ БЕЗОПАСНОСТИ
2а.1. Четыреххлористый углерод негорюч, неогнеопасен, при соприкосновении с открытым пламенем и раскаленными предметами разлагается с образованием фосгена.
Вдыхание паров четыреххлористого углерода опасно. Продукт при высоких концентрациях паров может вызвать острое отравление и хроническую интоксикацию, имеет класс опасности 2.
Четыреххлористый углерод обладает наркотическим действием.
Проникая через кожу, оказывает токсическое действие.
Предельно допускаемая концентрация (ПДК) паров четыреххлористого углерода в воздухе рабочей зоны 20 мг/м3.
2а.2. Разлитый четыреххлористый углерод посыпают песком, который затем убирают.
2а.3. Производственные помещения при работе с четыреххлористым углеродом должны быть оборудованы приточно-вытяжной вентиляцией. Анализы продукта следует проводить в вытяжном шкафу.
При работе с четыреххлористым углеродом необходимо использовать промышленный противогаз с коробкой марки А° или БКФ.
При концентрации паров четыреххлористого углерода выше допустимой необходимо применять изолирующие или шланговые противогазы.
(Введен дополнительно, Изм. N 2).
2. ПРАВИЛА ПРИЕМКИ
2.1. Правила приемки - по ГОСТ 3885-73-->ГОСТ 3885-73.
2.2. При ксантогенатном методе очистки продукта испытание на отсутствие фосгена можно не проводить.
(Введен дополнительно, Изм. N 2).
3. МЕТОДЫ АНАЛИЗА
3.1а. Общие указания по проведению анализа - по СТ СЭВ 804-77.
(Введен дополнительно, Изм. N 1).
3.1. Пробы отбирают по ГОСТ 3885-73-->ГОСТ 3885-73. Масса средней пробы не должна быть менее 6,4 кг (4,0 дм3). Количество четыреххлористого углерода, необходимого для анализа, отбирают пипеткой, бюреткой или цилиндром с погрешностью не более 1%.
3.2. Определение массовой доли четыреххлористого углерода
Метод заключается в газохроматографическом разделении примесей, "внутреннего эталона" и основного компонента, определения примесей с помощью пламенно-ионизационного детектора или детектора по теплопроводности.
Массовую долю четыреххлористого углерода (X) в процентах вычисляют по формуле
где X1 - массовая доля нелетучего остатка, %;
XB - массовая доля воды, %;
- суммарное содержание примесей, определяемых газохроматографически, %;
X3 - массовая доля сероуглерода, %.
3.2.1.1. Приборы, материалы и реактивы:
хроматограф газовый аналитический с детектором по теплопроводности или с пламенно-ионизационным детектором;
колонка газохроматографическая стеклянная или из нержавеющей стали марки 12Х18Н10Т (ГОСТ 5632-72) длиной 2,0 м, внутренним диаметром 3-4 мм;
микрошприц МШ-10 вместимостью 10 мм3;
шприц медицинский вместимостью 1 см3;
газ-носитель: гелий газообразный технический (для детектора по теплопроводности) или азот газообразный по ГОСТ 9293-74 (для пламенно ионизационного детектора);
газы вспомогательные: водород технический по ГОСТ 3022-80 и воздух сжатый для питания приборов;
фаза неподвижная: полиэтилсилоксан (ПЭС-5) по ГОСТ 13004-77 или апиезон L, или другие жидкие фазы;
носитель твердый: сферохром-1 (с минимальными адсорбционными свойствами, с частицами размером 0,25-0,5 мм) или хроматон N-AW-HMDS (с частицами размером 0,16-0,31 мм), или другие твердые носители, обладающие теми же адсорбционными свойствами;
метилен хлористый технический по ГОСТ 9968-73*;
хлороформ технический по ГОСТ 20015-74**;
________________
* Действует ГОСТ 9968-86;
** действует ГОСТ 20015-88. - Примечание изготовителя базы данных.
Бензол по ГОСТ 5955-75;
эталон внутренний: н-октан или другие;
кислота соляная по ГОСТ 3118-77, 10%-ный раствор;
интегратор электронный или измерительная лупа по ГОСТ 25706-83 и линейка металлическая по ГОСТ 427-75 или планиметр;
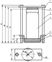
струбцина для герметизации пенициллиновой склянки (см. черт.3).
Пп.3.2-3.2.1.1. (Измененная редакция, Изм. N 2).
3.2.1.2. Подготовка к анализу
Рабочую фракцию сферохрома-1 в фарфоровой чашке полностью покрывают 10%-ным раствором соляной кислоты и выдерживают в течение 3 ч при 20 °С, периодически перемешивая стеклянной палочкой, затем отмывают водой до нейтральной реакции по лакмусовой бумажке, сушат при 200 °С 3-4 ч и охлаждают. Затем сферохром-1 или хроматон N-AW-HMDS обрабатывают в фарфоровой чашке раствором ПЭС-5 или апиезона L (15% от массы твердого носителя) в хлористом метилене.
Хлористый метилен испаряют, подогревая чашку со смесью на водяной бане и непрерывно перемешивая ее содержимое. Газохроматографическую колонку перед заполнением промывают хлористым метиленом, высушивают и заполняют неподвижной фазой. Концы заполненной колонки закрывают тампонами из стекловаты.
Заполненную колонку устанавливают в термостат хроматографа и, не присоединяя к детектору, продувают газом-носителем 3-4 ч при 140 °С.
Неподвижная фаза, твердый носитель, длина и диаметр колонок должны быть подобраны так, чтобы обеспечить разделение пиков четыреххлористого углерода, примесей и внутреннего эталона.
Условия хроматографического разделения и параметры детектирующей системы должны обеспечить определение примесей при их массовой доле в продукте 0,01%.
3.2.1.3. Проведение анализа
Подготовку хроматографа к анализу и вывод прибора на рабочий режим производят в соответствии с инструкцией по монтажу и эксплуатации хроматографа, прилагаемой к прибору.
Условия работы хроматографа:
Последовательность выхода компонентов из колонки указана в табл.2.
Таблица 2
Около 6,0000 (3,8 см3) анализируемого четыреххлористого углерода взвешивают и добавляют 0,1-0,3% внутреннего эталона. Затем смесь с помощью микрошприца вводят в испаритель хроматографа и снимают хроматограмму. Типовая хроматограмма четыреххлористого углерода приведена на черт.1 и 2.
Черт.1 Типовая хроматограмма примесей в четыреххлористом углероде на апиезоне L
Типовая хроматограмма примесей в четыреххлористом углероде на апиезоне L
1 - воздух;
2 - хлористый метилен; 3 - хлороформ; 4 - четыреххлористый углерод; 5 - "внутренний эталон"
Черт.1
Черт.2 Типовая хроматограмма примесей в четыреххлористом углероде на ПЭС-5
Типовая хроматограмма примесей в четыреххлористом углероде на ПЭС-5
2 - хлористый метилен; 3 - хлороформ; 4 - четыреххлористый углерод; 5 - -октан
Черт.2
Пп.3.2.1.2, 3.2.1.3. (Измененная редакция, Изм. N 2).
3.2.1.4. Обработка результатов
Количественное содержание примесей определяют методом внутреннего эталона или внутренней нормализации с учетом поправочных коэффициентов.
Допускается применение этих методов без учета градуировочных коэффициентов.
Для градуировки готовят несколько искусственных смесей, состоящих из растворителя - бензола, определяемых примесей при различных концентрациях и внутреннего эталона в количестве 0,1-0,3% от массы растворителя. 6-8 см3 бензола помещают в пенициллиновую склянку, герметизируют ее при помощи резиновой прокладки и струбцины (черт.3). В склянку шприцем через резиновую прокладку поочередно добавляют примеси и внутренний эталон, взвешивая смесь после каждого добавления на весах с наибольшим пределом взвешивания 200 г. Результат взвешивания записывают с точностью до четвертого десятичного знака. Микрошприцем отбирают 10 мм3 (при использовании детектора по теплопроводности) или 2 мм3 (при использовании пламенно-ионизационного детектора) полученной смеси, вводят в испаритель прибора, снимают хроматограмму и определяют градуировочные коэффициенты для каждой примеси.
Черт.3
![]()
1 - металлическая пластина; 2, 6 - резиновая прокладка; 3 - стяжной болт; 4 - пенициллиновая склянка;
5 - металлическая подставка
Черт.3
Градуировочный коэффициент Ki вычисляют по формуле
где Sэт - площадь пика внутреннего эталона, мм2;
Si - площадь пика определяемой примеси, мм3;
mi - масса примеси, г;
mэт - масса внутреннего эталона, г.
Градуировочные коэффициенты определяют после смены фазы в колонке и стабилизации ее работы. Ориентировочные значения гадуировочных коэффициентов: для хлористого метилена - 1,33, для хлороформа - 1,45.
3.2.1.5. Массовую долю каждой примеси в четыреххлористом углероде (XП) в процентах вычисляют по формулам:
методом внутреннего эталона
методом внутренней нормализации
где Si - площадь пика определяемой примеси, мм2;
Sэт - площадь пика внутреннего эталона, мм2;
Ki - градуировочный коэффициент определяемой примеси;
mэт - масса навески внутреннего эталона, г;
m - масса навески четыреххлористого углерода, г.
За результат анализа принимают среднее арифметическое двух параллельных определений.
Допускаемые расхождения между двумя параллельными определениями не должны превышать 0,01% при доверительной вероятности P=0,95.
3.3. Определение массовой доли нелетучего остатка
500 г (310 см3) анализируемого препарата х.ч. или 300 г (188 см3) анализируемого препарата ч.д.а. и ч. помещают в платиновую или кварцевую чашку, предварительно высушенную до постоянной массы и взвешенную на весах, с наибольшим пределом взвешивания 200 г (результат записывают с точностью до четвертого десятичного знака), и выпаривают по частям на водяной бане досуха при 60-70 °С. Далее определение проводят по СТ СЭВ 433-77.
3.4. Определение массовой доли кислот в пересчете на НСl.
3.4.1. Реактивы и растворы:
метиловый красный (индикатор) 0,1%-ный спиртовой раствор готовят по ГОСТ 4919.1-77;
натрия гидроокись по ГОСТ 4328-77, раствор концентрации c(NaOH)=0,02 моль/дм3 (0,02 н.), готовят по ГОСТ 25794.1-83;
спирт этиловый ректификованный технический по ГОСТ 18300-72*;
______________
* Действует ГОСТ 18300-87, здесь и далее по тексту. - Примечание изготовителя базы данных.
Вода дистиллированная по ГОСТ 6709-72-->ГОСТ 6709-72, не содержащая углекислоты, готовят по ГОСТ 4517-75.
Пп.3.2.1.4-3.4.1. (Измененная редакция, Изм. N 2).
3.4.2. Проведение анализа
100 см3 препарата встряхивают 1 мин с 40 см3 воды. После расслоения водный слой отделяют, прибавляют 1-3 капли раствора метилового красного и титруют из микробюретки раствором гидроокиси натрия до перехода окраски раствора в желтую.
3.4.3. Обработка результатов
Массовая доля кислоты в пересчете на НСl (X2) в процентах вычисляют по формуле
где V - объем раствора гидроокиси натрия концентрации точно 0,02 моль/дм3 (0,02 н.), израсходованный на титрование, см3;
100 - объем препарата, см3;
0,00073 - количество соляной кислоты, соответствующее 1 см3 раствора гидроокиси натрия концентрации точно 0,02 моль/дм3 (0,02 н.);
p - плотность четыреххлористого углерода, г/см3.
За результат анализа принимают среднее арифметическое двух параллельных определений.
Допускаемые расхождения между двумя параллельными определениями не должны превышать 0,00001% при доверительной вероятности P=0,95.
3.5. Определение массовой доли альдегидов (CH2O)
Определение проводят по ГОСТ 16457-76 визуально-колориметрическим методом. При этом 25 см3 (40 г) препарата помещают в делительную воронку, прибавляют 20 см3 воды, взбалтывают 2 мин и оставляют в покое до расслоения. Водный слой отделяют, фильтруют через маленький беззольный фильтр, помещают в коническую колбу вместимостью 50 см3 с меткой на 23 см3, доводят объем раствора водой до метки, прибавляют 2 см3 фуксинсернистого реактива и перемешивают. Препарат считают соответствующим требованиям настоящего стандарта, если появившаяся через 30 мин розовая окраска анализируемого раствора не будет интенсивнее окраски раствора сравнения, приготовленного одновременно с анализируемым и содержащего в таком же объеме:
для препарата химически чистый - 0,04 мг CH2O;
для препарата чистый для анализа - 0,04 мг CH2O;
для препарата чистый - 0,04 мг CH2O и 2 см3 реактива фуксинсернистого.
3.6. Определение массовой доли свободного хлора
3.6.1. Реактивы и растворы
калия гидроокись по ГОСТ 24363-80;
Калий йодистый по ГОСТ 4232-74, 10%-ный раствор свежеприготовленный;
кислота соляная по ГОСТ 3118-77, 25%-ный раствор;
углерод четыреххлористый, не содержащий свободного хлора, готовят следующим образом: 50 см3 четыреххлористого углерода тщательно перемешивают с 5 г гидроокиси калия в мерном цилиндре с притертой пробкой вместимостью 100 см3, встряхивая в течение 5 мин. Затем четыреххлористый углерод фильтруют через бумажный фильтр "синяя лента".
Раствор, содержащий хлор, готовят по ГОСТ 4212-76; соответствующим разбавлением готовят раствор с концентрацией хлора 0,01 мг/см3.
3.6.2. Проведение анализа
75 см3 (120 г) препарата химически чистый или 45 см3 (72 г) препарата чистый для анализа и чистый помещают в мерный цилиндр с притертой пробкой вместимостью 100 см3 и тщательно перемешивают с 1 см3 раствора йодистого калия, 9 см3 воды и 0,1 см3 раствора соляной кислоты, встряхивая в течение 2 мин. Одновременно в тех же условиях готовят раствор сравнения, состоящий из того же объема четыреххлористого углерода, не содержащего хлора, 0,036 мг хлора и тех же объемов реактивов.
Препарат соответствует требованиям настоящего стандарта, если наблюдаемая после разделения слоев в проходящем свете на белом фоне окраска слоя анализируемого четыреххлористого углерода будет не интенсивнее окраски раствора сравнения.
Пп.3.6-3.6.2. (Измененная редакция, Изм. N 2).
3.7. Определение массовой доли хлоридов
Определение проводят по ГОСТ 10671.7-74 фототурбидиметрическим (способ 2) или визуально-нефелометрическим методом. При этом 25 см3 (40 г) препарата помещают в делительную воронку, прибавляют 25 см3 воды и энергично встряхивают 3-5 мин. После расслоения водный слой отделяют и фильтруют через беззольный фильтр, трижды промытый горячим 1%-ным раствором азотной кислоты в коническую колбу вместимостью 100 см3 с меткой на 40 см3. Объем фильтрата доводят водой до метки, прибавляют 2 мл раствора азотной кислоты, 1 см3 раствора азотнокислого серебра и перемешивают.
Препарат считают соответствующим требованиям настоящего стандарта, если наблюдаемая через 20 мин опалесценция анализируемого раствора не будет интенсивнее опалесценции раствора сравнения, приготовленного одновременно с анализируемым и содержащего в таком же объеме:
для препарата химически чистый - 0,020 мг Сl;
для препарата чистый для анализа - 0,020 мг Сl;
для препарата чистый - 0,02 (0,024) мг Сl,
2 см3 раствора азотной кислоты и 1 см3 раствора азотнокислого серебра.
При разногласиях в оценке массовой доли хлоридов анализ проводят фототурбидиметрическим методом.
(Измененная редакция, Изм. N 1).
3.8. Массовую долю воды определяют по ГОСТ 14870-77, разд.2, электрометрическим титрованием; допускается визуальное титрование (способ 1). При этом навеска препарата составляет 50 см3 (80 г). Причем титр реактива Фишера должен быть 0,0016-0,0018 г/см3. Допускаемые расхождения между двумя параллельными определениями не должны превышать 0,0002% при доверительной вероятности P=0,95.
3.9. Определение массовой доли веществ, реагирующих с йодом, в пересчете на CH2O
К 50 см3 (80 г) препарата прибавляют 0,05 см3 раствора йода (по ГОСТ 4159-79) концентрации точно c(1/2J2)=0,1 моль/дм3 (0,1 н.) и энергично взбалтывают.
Препарат считают соответствующим требованиям настоящего стандарта, если фиолетовая окраска раствора не исчезнет в течение 30 мин.
3.10. Определение массовой доли веществ, темнеющих под действием серной кислоты
3.10.1. Реактивы и растворы:
железо хлорное 6-водное по ГОСТ 4147-74;
раствор, содержащий 4,50 г FeCl3·6H2O и 2,5 см3 соляной кислоты в объеме 100 см3;
кислота соляная по ГОСТ 3118-77;
кислота серная по ГОСТ 4204-77;
кобальт хлористый 6-водный по ГОСТ 4525-77;
раствор, содержащий 5,95 г CoCl2·6H2O и 2,5 см3 соляной кислоты в объеме 100 см3;
медь (II) сернокислая 5-водная по ГОСТ 4165-78;
раствор, содержащий 6,24 г CuSO4·5H2O и 2,5 см3 соляной кислоты в объеме 100 см3;
Вода дистиллированная по ГОСТ 6709-72-->ГОСТ 6709-72.
Пп.3.9-3.10.1. (Измененная редакция, Изм. N1, 2).
3.10.2. Проведение анализа
20 см3 препарата помещают в цилиндр с притертой пробкой, предварительно промытый серной кислотой, осторожно прибавляют 5 мл серной кислоты и взбалтывают в течение 5 мин.
Препарат считают соответствующим требованиям настоящего стандарта, если после расслоения слой серной кислоты для препарата химически чистый и чистый для анализа, при сравнении с таким же объемом серной кислоты, - остается бесцветным, для препарата чистый - не будет по окраске интенсивнее раствора, содержащего 0,4 см3 раствора 6-водного хлористого кобальта, 0,7 см3 раствора хлорного железа, 0,4 см3 раствора 5-водной сернокислой меди (II) и 3,5 см3 воды.
(Измененная редакция, Изм. N 1).
3.11. Определение массовой доли сероуглерода
3.11.1. Реактивы, растворы и приборы:
йод по ГОСТ 4159-79, раствор концентрации c(1/2J2)=0,1 моль/дм3 (0,1 н.);
калия гидроокись по ГОСТ 24363-80, водный раствор концентрации c(KОН)=0,1 моль/дм3(0,1 н.) и 10%-ный спиртовой раствор, профильтрованный через фильтр "белая лента";
калий ксантогенат этиловый, ч.д.а.;
кислота уксусная по ГОСТ 61-75, ледяная, х.ч., 10%-ный раствор;
крахмал растворимый по ГОСТ 10163-76, 1%-ный раствор;
медь (II) сернокислая 5-водная по ГОСТ 4165-78, 0,1%-ный раствор;
натрий серноватистокислый (Тиосульфат натрия) по СТ СЭВ 223-75, раствор концентрации c(Na2S2O3·5H2O)=0,1 моль/дм3 (0,1 н.);
спирт этиловый ректификованный технический по ГОСТ 18300-72, высший сорт;
Вода дистиллированная по ГОСТ 6709-72-->ГОСТ 6709-72;
раствор концентрации CS2 10 мг/см3 готовят по ГОСТ 4212-76. Соответствующим разбавлением этиловым спиртом готовят раствор концентрации CS2 0,02 мг/см3 или 1,0530 г ксантогената калия (считая на 100%-ный), что соответствует 0,5 г CS2, растворяют в 500 см3 водного раствора гидроокиси калия концентрации точно c(KОН)=0,1 моль/дм3 (0,1 н.), соответствующим разбавлением водой готовят раствор концентрации CS2 0,02 мг/см3.
Концентрацию применяемого ксантогената калия определяют следующим образом: около 0,5000 г препарата растворяют в 50 см3 воды в конической колбе с притертой пробкой. Прибавляют 50 см3 раствора йода, закрывают колбу пробкой и оставляют на 5 мин. Затем прибавляют 2 см3 ледяной уксусной кислоты и титруют избыток йода раствором серноватистокислого натрия, прибавляя в конце титрования раствор крахмала.
1 см3 раствора йода концентрации точно c(1/2J2)=0,1 моль/дм3 (0,1 н.) соответствует 0,01603 г ксантогената калия;
сероуглерод синтетический технический по ГОСТ 19213-73;
фенолфталеин (индикатор) по ГОСТ 5850-72, 1%-ный спиртовой раствор;
фотоэлектроколориметр типа ФЭК-56 или любой другой c аналогичной чувствительностью.
(Измененная редакция, Изм. N 2).
3.11.2. Построение градуировочного графика
В мерные цилиндры с метками на 25 см3 с притертыми пробками микропипеткой или из микробюретки вводят 1, 2, 3, 4, 5 см3 раствора концентрации CS2 0,02 мг/см3, что соответствует 0,02; 0,04; 0,06; 0,08; 0,10 см3 CS2, прибавляют в каждый цилиндр по 5 см3 спиртового раствора гидроокиси калия, перемешивают и оставляют в покое на 5 мин. Затем прибавляют по 10 см3 воды, по 1 капле раствора фенолфталеина, нейтрализуют по каплям 10%-ным раствором уксусной кислоты и прибавляют еще по 0,1 см3 избытка того же раствора кислоты. Объем растворов доводят спиртом до 25 см3, перемешивают, прибавляют по 0,5 см3 раствора 5-водной сернокислой меди (II) и снова перемешивают; затем закрывают пробками и ставят в затемненное место. Одновременно готовят в двойном количестве (для заполнения двух кювет) контрольный раствор, не содержащий CS2, в который добавляют в том же порядке реактивы в удвоенном количестве. Через 15 мин измеряют величину оптических плотностей полученных растворов сравнения по отношению к контрольному раствору на фотоэлектроколориметре с синим светофильтром в кювете с толщиной поглощающего свет слоя 50 мм (для прибора типа ФЭК-56 применяют светофильтр N 3
400 нм). По полученным данным строят градуировочный график: откладывая по оси абсцисс введенные в растворы сравнения количества сероуглерода в миллиграммах, а по оси ординат - соответствующие им величины оптических плотностей. Для построения каждой точки градуировочного графика вычисляют значение величины оптической плотности из трех параллельных определений.
Градуировочный график должен иметь вид прямой линии, проходящей через начало координат. Градуировочный график проверяют один раз в три месяца, а также при смене реактивов или фотоэлектроколориметра.
3.11.3. Проведение анализа
25 см3 (40 г) препарата помещают в делительную воронку, прибавляют 5 см3 спиртового раствора гидроокиси калия и энергично встряхивают. Через 5 мин прибавляют 10 см3 воды, снова встряхивают и оставляют на 5-10 мин для разделения слоев. Затем слой четыреххлористого углерода тщательно отделяют и отбрасывают, а водный слой помещают в мерный цилиндр с притертой пробкой, прибавляют 1 каплю раствора фенолфталеина, нейтрализуют по каплям 10%-ным раствором уксусной кислоты и прибавляют еще 0,1 см3 избытка того же раствора кислоты. Объем раствора доводят спиртом до 25 см3, перемешивают, прибавляют 0,5 см3 раствора сернокислой меди, снова перемешивают, закрывают цилиндр и помещают в затемненное место. Одновременно в тех же условиях и с теми же количествами реактивов, но без сероуглерода готовят контрольный раствор.
Через 15 мин измеряют величину оптической плотности анализируемого раствора по отношению к контрольному раствору. По полученной величине оптической плотности, пользуясь градуировочным графиком, находят массу сероуглерода в анализируемом растворе.
3.11.4. Обработка результатов
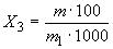
Массовую долю сероуглерода (X3) в процентах вычисляют по формуле
где m - масса сероуглерода, найденная по градуировочному графику, мг;
m1 - масса препарата, г.
Допускается определение проводить визуально.
За результат анализа принимают среднее арифметическое двух параллельных определений. Допускаемые расхождения между двумя параллельными определениями не должны превышать 0,00004% при доверительной вероятности P=0,95.
3.12. Проба на фосген
3.12.1. Реактивы и растворы:
бумага на фосген; готовят следующим образом: 5 г n-диметиламинобензальдегида и 5 г дифениламина растворяют при охлаждении до 15-18 °С в 100 см3 этилового спирта. Этим раствором пропитывают бумажные полосы (20х50 мм) из хроматографической бумаги в течение 30 мин. Затем бумажные полосы высушивают на воздухе, не содержащем фосгена и кислоты (не должно появляться желтой окраски бумажных полос);
бумага хроматографическая;
n-диметиламинобензальдегид;
дифениламин по ГОСТ 5825-79;
спирт этиловый ректификованный технический по ГОСТ 18300-72, высший сорт.
3.12.2. Проведение анализа
20 см3 препарата помещают в колбу вместимостью 50 см3 с притертой пробкой. В воздушное пространство над жидкостью помещают полосу бумаги на фосген, колбу плотно закрывают и выдерживают в темноте в течение 24 ч.
Препарат считают соответствующим требованиям настоящего стандарта, если не будет наблюдаться желтая окраска бумажной полосы.
Пп.3.13-3.14. (Исключены, Изм. N 2).
4. УПАКОВКА, МАРКИРОВКА, ТРАНСПОРТИРОВАНИЕ И ХРАНЕНИЕ
4.1. Препарат упаковывают в соответствии с ГОСТ 3885-73-->ГОСТ 3885-73. Допускается упаковка бутылей с четыреххлористым углеродом в обрешетку с полиэтиленовыми амортизаторами.
Вид и тип тары:
3-1, 3-5, 8-1, 8-3 (или 3т-1, 3т-5, 8т-1, 8т-3), при этом укупорку тары парафином не проводят.
Группа фасовки: V, VI, VII.
(Измененная редакция, Изм. N 2).
4.2. Препарат маркируют в соответствии с ГОСТ 3885-73-->ГОСТ 3885-73. На тару наносят знак опасности по ГОСТ 19433-88 (класс 6, подкласс 6.1, чертеж 6а, классификационный шифр 6112, серийный номер ООН 1846).
(Поправка. ИУС N 3-90).
4.3. Препарат перевозят всеми видами транспорта в соответствии с правилами перевозки грузов, действующими на данном виде транспорта.
4.4. Препарат хранят в сухих, закрытых складских помещениях.
5. ГАРАНТИИ ИЗГОТОВИТЕЛЯ
5.1. Изготовитель гарантирует соответствие препарата требованиям настоящего стандарта при соблюдении условий транспортирования и хранения.
5.2. Гарантийный срок хранения препарата - 3 года со дня изготовления.
(Измененная редакция, Изм. N 2).
Разд.6. (Исключен, Изм. N 2).
официальное издание
М.: Издательство стандартов, 1987
