Новости Нефтегазовая пром.
Выставки Наука и технология


Нафталин коксохимический ГОСТ 16106-82

Нафталин коксохимический. Технические условия (с Изменениями N 1, 2, 3) ГОСТ 16106-82

ГОСТ 16106-82

Группа Л32

     

МЕЖГОСУДАРСТВЕННЫЙ СТАНДАРТ

НАФТАЛИН КОКСОХИМИЧЕСКИЙ 

Технические условия

Coal-chemical naphthalene. 
Specifications



ОКП 24 1510

Дата введения 1983-07-01

     
     
ИНФОРМАЦИОННЫЕ ДАННЫЕ

1. РАЗРАБОТАН И ВНЕСЕН Министерством черной металлургии СССР 

РАЗРАБОТЧИКИ

Н.Д.Русьянова; В.Е.Привалов, Л.А.Коган, Т.А.Коренская, Л.А.Исаенко, Н.А.Попова, В.М.Зайченко, Л.М.Харькина, Л.С.Локшина, Т.А.Гоголева

2. УТВЕРЖДЕН И ВВЕДЕН В ДЕЙСТВИЕ Постановлением Государственного комитета СССР по стандартам от 26.08.82 N 3393

3. ВЗАМЕН ГОСТ 16106-70

4. ССЫЛОЧНЫЕ НОРМАТИВНО-ТЕХНИЧЕСКИЕ ДОКУМЕНТЫ

Обозначение НТД, на который дана ссылка

Номер пункта, подпункта

ГОСТ 12.1.004-91

3.3

ГОСТ 12.1.007-76

3.1

ГОСТ 12.1.016-79

3.2

ГОСТ 12.4.021-75

3.5

ГОСТ 400-80

5.3.1

ГОСТ 1770-74

5.9.1, 5.11.1

ГОСТ 2053-77

5.5.1

ГОСТ 2226-88

6.1

ГОСТ 2239-79

5.6.1

ГОСТ 2477-65

5.8

ГОСТ 4159-79

5.9.1

ГОСТ 4165-78

5.3.1

ГОСТ 4166-76

5.3.1

ГОСТ 4197-74

5.11.1

ГОСТ 4204-77

5.5.1, 5.9.1, 5.11.1

ГОСТ 4232-74

5.9.1

ГОСТ 4255-75

5.3.1

ГОСТ 4528-78

5.5.1

ГОСТ 5445-79

4.1, 5.1

ГОСТ 5520-79

6.2

ГОСТ 5955-75

5.9.1

ГОСТ 6263-80

2.1

ГОСТ 6709-72-->ГОСТ 6709-72

5.5.1, 5.11.1

ГОСТ 9147-80

5.3.1, 5.4.1, 5.6.1, 5.7.1

ГОСТ 9880-76

5.8

ГОСТ 9949-76

5.8

ГОСТ 14192-96

6.3

ГОСТ 18300-87

5.4.1, 5.11.1

ГОСТ 19433-88

6.3

ГОСТ 21650-76

6.1

ГОСТ 22235-76

6.2

ГОСТ 24597-81

6.1

ГОСТ 25336-82

5.3.1, 5.4.1, 5.5.1, 5.6.1, 5.7.1, 5.9.1

ГОСТ 26319-84

6.1

ГОСТ 26663-85

6.1

ГОСТ 29227-91

5.9.1, 5.11.1

ГОСТ 29251-91

5.9.1, 5.11.1

ГОСТ Р 51999-2002

5.4.1, 5.11.1


(Измененная редакция, Изм. N 3).

5. Ограничение срока действия снято по протоколу N 5-94 Межгосударственного Совета по стандартизации, метрологии и сертификации (ИУС 11-12-94)

6. ПЕРЕИЗДАНИЕ (июнь 1999 г.) с Изменениями N 1, 2, утвержденными в декабре 1987 г. и июне 1990 г. (ИУС 4-88, 10-90)

ВНЕСЕНО Изменение N 3, утвержденное и введенное в действие Приказом Федерального агентства по техническому регулированию и метрологии от 07.06.2007 N 125-ст с 01.01.2008

Изменение N 3 внесено изготовителем базы данных по тексту ИУС N 9, 2007 год

Настоящий стандарт распространяется на нафталин, выделяемый из продуктов коксования углей и применяемый для различных органических синтезов и промышленных целей. 

(Измененная редакция, Изм. N 1).

1. МАРКИ

1.1. В зависимости от способа изготовления и назначения выпускают марки коксохимического нафталина, указанные в табл.1.

Таблица 1

Марка

Код ОКП

Очищенный нафталин:

24 1512 0100 

ОБ, высший сорт

24 1512 0400

ОБ, 1-й сорт

24 1512 0130

ОБ, 2-й сорт

24 1512 0140

ОВ

24 1512 0150

Технический нафталин

24 1511 0100

ТА

24 1511 0130

ТБ

24 1511 0140

ТВ

24 1511 0150



(Измененная редакция, Изм. N 2).

2. ТЕХНИЧЕСКИЕ ТРЕБОВАНИЯ

2.1. Коксохимический нафталин должен быть изготовлен в соответствии с требованиями настоящего стандарта по технологическому регламенту, утвержденному в установленном порядке.

2.2. Коксохимический нафталин по физико-химическим показателям должен соответствовать нормам и требованиям, указанным в табл.2.

Таблица 2

Наименование показателя

Норма для нафталина

Метод анализа

очищенного

технического

ОБ

ТА

ТБ

ТВ

высший сорт

1-й сорт

2-й сорт

1. Внешний вид

Расплавленный или твердый продукт в виде порошка, чешуек, таблеток, шариков, брикетов

Расплавленный продукт

Визуально

2. Цвет

Белый

Белый, допускается слабо-желтая или слабо-розовая окраска

Не нормируется

По п.5.2

3. Температура кристаллизации, °С, не ниже

79,8

79,8

79,6

79,0

79,0

78,8

76,0

По п.5.3

4. Разница температур кристаллизации между перекристаллизованным из спирта и выделенным из маточного раствора нафталином, °С, не более

2,3

2,3

Не нормируется

Не нормируется

По п.5.4

5. Действие серной кислоты, номер раствора сравнения образцовой шкалы, не более

2

4

7

Не нормируется

То же

По п.5.5

6. Массовая доля нелетучего остатка, %, не более

Не нормируется

0,02

0,04

0,04

0,03

По п.5.6

7. Зольность, %, не более

То же

0,01

0,02

0,02

0,01

По п.5.7

8. Массовая доля воды, %, не более

0,2

0,2

0,2

0,2

0,2

0,2

0,2

По п.5.8

9. Массовая доля серы, %, не более

Не нормируется

0,4

0,5

0,5

0,3

По ГОСТ 6263

10. Окраска по йодной шкале, единицы шкалы, не более

То же

9

14

8

По п.5.9

11. Проба на маслянистость

"

Отсутствие маслянистых пятен

Не нормируется

По п.5.10

12. Массовая доля индола, %, не более

"

0,08

0,2

0,2

0,01

По п.5.11


Примечания:

1. Нормы по показателю 4 установлены для очищенного нафталина, предназначенного только для производства нафталинсульфокислот. 

2. Нормы по показателям 6, 8 и 9 установлены для нафталина марки ОВ, предназначенного только для производства фталевого ангидрида, хлор-нафталина и некаля, а нормы по показателям 2 и 11 определяют только при поставке нафталина в качестве инсектицида.

3. Нормы по показателю 12 установлены для нафталина марок ОВ, ТА, ТБ и ТВ, предназначенного только для производства фталевого ангидрида.


(Измененная редакция, Изм. N 2, 3).

3. ТРЕБОВАНИЯ БЕЗОПАСНОСТИ

3.1. Нафталин по степени воздействия на организм человека в соответствии с ГОСТ 12.1.007относится к 4-му классу опасности (вещество малоопасное).

3.2. Предельно допустимые концентрации (ПДК) нафталина в различных объектах окружающей среды составляют:

20 мг/м3 - в воздухе рабочей зоны [1];

0,007 мг/м3 - в атмосферном воздухе населенных мест [2];

0,01 мг/л - в воде водных объектов хозяйственно-питьевого и культурно-бытового водопользования [3];

0,004 мг/л - в воде водных объектов, имеющих рыбохозяйственное значение [4].

3.1, 3.2. (Измененная редакция, Изм. N 3).

3.3. Нафталин - горючее вещество.

Пожарная безопасность при его производстве должна обеспечиваться в соответствии с требованиями ГОСТ 12.1.004.

Температура вспышки 80 °С. Температура воспламенения 86 °С.

Температура самовоспламенения аэрогеля 468 °С, аэрозоля 591 °С.

Нижний температурный предел воспламенения паров 62 °С, верхний - 126 °С.

Пылевоздушная смесь взрывоопасна; область воспламенения паров в воздухе 0,91-6,9% (по объему).

Нафталин склонен к химическому и тепловому самовозгоранию.

Для тушения нафталина используют тонкораспыленную воду со смачивателем, а также воздушно-механическую пену с высокой кратностью и большой интенсивностью подачи.

(Измененная редакция, Изм. N 1).

3.4. При работе с нафталином должны соблюдаться правила безопасности в коксохимическом производстве [5] и общие правила безопасности для металлургических и коксохимических предприятий и производств [6].

(Измененная редакция, Изм. N 3).

3.5. Помещения, в которых проводится работа с нафталином, должны быть оборудованы приточно-вытяжной вентиляцией, отвечающей требованиям ГОСТ 12.4.021 и обеспечивающей содержание вредных веществ в концентрациях, не превышающих предельно допустимую.

Производственные процессы должны быть герметизированы. 

(Измененная редакция, Изм. N 1).

3.6. Способ утилизации - сжигание. Размещение и обезвреживание отходов производства - в соответствии с санитарно-эпидемиологическими правилами и нормативами [7].

(Введен дополнительно, Изм. N 3). 

4. ПРАВИЛА ПРИЕМКИ

4.1. Правила приемки - по ГОСТ 5445.

4.2. (Исключен, Изм. N 2).

4.3. Действие серной кислоты, массовую долю серы и зольность изготовитель определяет периодически один раз в десять суток, разницу температур кристаллизации между перекристаллизованным из спирта и выделенным из маточного раствора нафталином - по требованию потребителя.

(Измененная редакция, Изм. N 1, 3).

5. МЕТОДЫ АНАЛИЗА

5.1. Методы отбора проб - по ГОСТ 5445 со следующими дополнениями: точечную пробу жидкого нафталина отбирают из цистерны, содержимое которой должно быть полностью расплавлено; во избежание кристаллизации нафталина в желонке последнюю нагревают жидким нафталином, набирая и выливая его 2-3 раза; отобранные пробы жидкого нафталина выливают на металлический противень, закрывают крышкой, предохраняющей пробы от загрязнения, охлаждают до полного затвердения, затем измельчают в порошок, тщательно перемешивают и методом квартования отбирают среднюю пробу; масса средней лабораторной пробы очищенного нафталина должна быть не менее 1 кг, технического - не менее 0,5 кг.

(Измененная редакция, Изм. N 3).

5.2. Цвет нафталина определяют осмотром измельченной средней пробы.

5.3. Определение температуры кристаллизации

Метод позволяет определять температуру кристаллизации от 75,0 до 80,1 °С.

(Измененная редакция, Изм. N 1).

5.3.1. Реактивы, приборы и посуда

Медь сернокислая по ГОСТ 4165, свежепрокаленная при температуре около 220 °С, или Натрий сернокислый по ГОСТ 4166, подсушенный при температуре около 100 °С, - водоотнимающие вещества.

Прибор Жукова по ГОСТ 4255.

Термометр ТИН 14 с пределами измерения от 38 до 82 °С, с ценой деления 0,1 °С по ГОСТ 400 или другой термометр с аналогичными характеристиками по цене деления и размером погружаемой части, включающий диапазон измерения 70-82 °С.

Стакан или колба типа Кн по ГОСТ 25336, вместимостью 100 см3.

Стекло часовое диаметром 60 мм или крышка фарфоровая N 4 или N 5 по ГОСТ 9147.

Термостат типа сушильного шкафа.

Весы лабораторные с наибольшим пределом взвешивания 500 г и погрешностью взвешивания не более 0,0035 г.

5.3.2. Проведение анализа

Взвешивают около 30 г нафталина. Результат взвешивания в граммах записывают с точностью до первого десятичного знака. Нафталин помещают в чистый стакан или колбу, туда же добавляют 2-3 г водоотнимающего вещества.

Стакан или колбу накрывают часовым стеклом или фарфоровой крышкой и помещают в термостат, нагретый до 90-95 °С. Допускается нагревать продукт при температуре 120-130 °С.

Нафталин полностью расплавляют, периодически перемешивая. После полного расплавления смесь оставляют в покое на 5-10 мин в термостате. Затем расплавленный нафталин наливают в прибор Жукова, предварительно нагретый до (90-95) °С, заполняя его на 2/3 объема. После этого прибор плотно закрывают пробкой со вставленным в нее термометром так, чтобы ртутный резервуар термометра находился в середине слоя расплавленного продукта и не касался стенок прибора.

Прибор с нафталином равномерно встряхивают до появления кристаллов, после этого встряхивание прекращают и наблюдают за температурой, которая постепенно понижается, затем в момент образования кристаллов несколько повышается и, достигнув максимума, остается постоянной в течение некоторого времени, затем температура начинает снижаться.

Если необходимого повышения температуры в момент образования кристаллов не наблюдается, анализ повторяют.

5.3.1, 5.3.2. (Измененная редакция, Изм. N 1, 2, 3).

5.3.3. Обработка результатов

Максимальную температуру, если она остается постоянной не менее 1 мин, принимают за температуру кристаллизации.

При применении для определения температуры кристаллизации термометра, градуированного при полном погружении, вносят поправку на выступающий над пробкой столбик ртути.

Поправку () в градусах Цельсия вычисляют по формуле где h - высота выступающего над пробкой столбика ртути, °С;

t1 - наблюдаемая температура кристаллизации, °С;

t2 - температура окружающего воздуха, измеренная другим термометром на уровне середины выступающего столбика ртути, °С; 

0,00016 - поправочный коэффициент на расширение ртути в стекле.

За результат анализа принимают среднеарифметическое результатов двух параллельных определений показателя "Температура кристаллизации", абсолютное значение разности между которыми (предел повторяемости, допускаемое расхождение), при доверительной вероятности P=0,95 не превышает 0,1 °С. 

Допускаемое расхождение между результатами определений температуры кристаллизации, полученных в разных лабораториях (предел воспроизводимости), при доверительной вероятности P=0,95 не должны превышать 0,4 °С.

Результат анализа округляют до первого десятичного знака.

(Измененная редакция, Изм. N 3).

5.4. Определение разности температур кристаллизации между перекристаллизованным из спирта и выделенным из маточного раствора нафталином

Метод позволяет определять разность температур кристаллизации от 1,5 до 2,5 °С.

(Измененная редакция, Изм. N 1).

5.4.1. Реактивы, приборы и посуда

Спирт этиловый ректификованный технический по ГОСТ 18300 или спирт этиловый синтетический ректификованный по ГОСТ Р 51999.

Колбы типа К по ГОСТ 25336, вместимостью 500 и 1000 см3.

Колба с тубусом по ГОСТ 25336.

Дефлегматор.

Баня водяная.

Воронка Бюхнера N 4 по ГОСТ 9147.

Холодильник типа ХПТ по ГОСТ 25336 длиной кожуха 400 мм.

Холодильник лабораторный стеклянный со вставленной трубкой длиной 800 мм.

Термометры ртутные стеклянные лабораторные с ценой деления шкалы 1 °С и пределами измерения от 0 до 100 °С и от 0 до 250 °С.

Весы лабораторные с наибольшим пределом взвешивания 500 г и погрешностью взвешивания не более 0,0035 г и весы лабораторные с наибольшим пределом взвешивания 1000 г и погрешностью взвешивания не более 0,1 г.

(Измененная редакция, Изм. N 1, 2, 3).

5.4.2. Проведение анализа 

200 г нафталина взвешивают (результат взвешивания в граммах записывают с точностью до первого десятичного знака), помещают в круглодонную колбу вместимостью 1000 см3 и приливают 300 см3 этилового спирта.

Колбу при помощи корковой пробки или шлифа соединяют с холодильником типа ХПТ и нагревают на водяной бане, при этом содержимое колбы перемешивают мешалкой или периодическим встряхиванием до полного растворения нафталина.

Затем колбу снимают, закрывают корковой пробкой со вставленным термометром с пределами измерения от 0 до 100 °С и медленно охлаждают при помешивании (встряхивании) до 30-35 °С, следя за тем, чтобы кристаллы нафталина не прилипали к стенкам колбы. Когда основная масса нафталина выкристаллизовалась, колбу с содержимым охлаждают до 20 °С и при этой температуре в течение 3 ч содержимое периодически размешивают термометром.

Выпавший нафталин отфильтровывают от маточного раствора под вакуумом при помощи воронки Бюхнера. Колбу споласкивают небольшим количеством фильтрата и содержимое сливают в воронку. Осадок на воронке тщательно отжимают, колбу споласкивают 40 см3 этилового спирта, промывают им осадок на фильтре, который вновь тщательно отжимают. Процесс фильтрования должен быть проведен быстро.

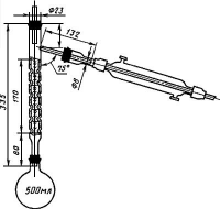
Нафталин переносят в чистую круглодонную колбу вместимостью 500 см3, соединяют ее с помощью корковой пробки или шлифа с дефлегматором, который присоединяют к холодильнику со вставленной трубкой (см. чертеж). В дефлегматор сверху вставляют термометр с пределами измерения от 0 до 250 °С, при этом конец ртутного резервуара должен находиться на уровне нижнего края отводной трубки. Колбу покрывают листовым асбестом и медленно нагревают. Допускается применение медной колбы той же вместимости.

Прибор для отгонки спирта


При температуре около 80 °С спирт отгоняют, затем осторожно повышают температуру до начала отгонки нафталина, тщательно следя за тем, чтобы пары его не попадали в отводную трубку дефлегматора. Когда пары нафталина коснутся ртутного шарика термометра, наблюдается быстрый подъем температуры, в этот момент уменьшают пламя горелки, вынимают термометр с пробкой и продолжают подогревать еще 3-5 мин для удаления остатков спирта.

После этого колбе дают остыть, затем взвешивают и определяют температуру кристаллизации нафталина, перекристаллизованного из спирта, по п.5.3.

Спирт из маточного раствора отгоняют в таком же приборе.

Во избежание повышенных потерь нафталина следят за тем, чтобы спирт отгонялся со скоростью 2-3 см3 в минуту.

Остатки спирта удаляют так же, как указано выше.

После отгонки спирта колбу с нафталином охлаждают, затем взвешивают и определяют температуру кристаллизации нафталина, выделенного из маточного раствора, по п.5.3.

Общая потеря нафталина (разность между навеской и суммой масс перекристаллизованного и выделенного из маточного раствора нафталина) не должна превышать 4 г.

(Измененная редакция, Изм. N 1, 3).

5.4.3. Обработка результатов

Разность температур кристаллизации () в градусах Цельсия вычисляют по формуле где t1 - температура кристаллизации нафталина, перекристаллизованного из спирта, °С;

t2 - температура кристаллизации нафталина, выделенного из маточного раствора, °С.

За результат анализа принимают среднеарифметическое результатов двух параллельных определений показателя "Разница температур кристаллизации между перекристаллизованным из спирта и выделенным из маточного раствора нафталином", абсолютное значение разности между которыми (предел повторяемости, допускаемое расхождение) при доверительной вероятности P=0,95 не превышает 0,2 °С.

(Измененная редакция, Изм. N 3).

5.5. Определение действия серной кислоты

5.5.1. Реактивы, приборы и посуда 

Кислота серная по ГОСТ 4204, х.ч. 

Кобальт азотнокислый по ГОСТ 4528, х.ч. 

натрий сернистый 9-водный по ГОСТ 2053, ч.д.а. 

Вода дистиллированная по ГОСТ 6709

Пробирки исполнения П1 или П2 по ГОСТ 25336. 

Баня водяная.

Весы лабораторные с наибольшим пределом взвешивания 500 г и погрешностью взвешивания 0,0035 г.

(Измененная редакция, Изм. N 1, 2, 3).

5.5.2. Приготовление образцовой шкалы

5 г азотнокислого кобальта взвешивают (результат взвешивания в граммах записывают с точностью до первого десятичного знака), растворяют в 100 см3 воды - раствор А.

1 г 9-водного сернистого натрия взвешивают (результат взвешивания в граммах записывают с точностью до первого десятичного знака), растворяют в 1000 см3 воды - раствор Б.

Соответствующим разведением растворов А и Б готовят образцовую шкалу, состоящую из восьми растворов сравнения в соответствии с табл.3.

Таблица 3

Номер раствора сравнения образцовой шкалы

Состав раствора сравнения

Объем раствора А, см3

Объем воды, см3

Объем раствора Б, см3

1

1

15

0,5

2

1

10

0,5

3

2

10

0,5

4

3

10

0,5

5

4

10

0,5

6

6

10

0,5

7

10

10

0,5

8

10

-

0,5


(Измененная редакция, Изм. N 1).

5.5.3. Проведение анализа

2 г нафталина взвешивают (результат взвешивания в граммах записывают с точностью до первого десятичного знака), помещают в пробирку и нагревают на водяной бане до расплавления.

Затем в пробирку добавляют 10 см3 серной кислоты, предварительно нагретой на водяной бане до 80-85 °С.

Смесь в пробирке нагревают на кипящей водяной бане, взбалтывают до получения однородной массы и сравнивают окраску полученной смеси с окраской растворов сравнения образцовой шкалы.

Интенсивность окраски смеси при рассмотрении по диаметру пробирки не должна превышать интенсивности окраски раствора сравнения образцовой шкалы:

для нафталина марки ОБ высшего сорта - 2,

для нафталина марки ОБ 1-го сорта - 4,

для нафталина марки ОБ 2-го сорта - 7.

(Измененная редакция, Изм. N 1, 2).

5.6. Определение массовой доли нелетучего остатка

Метод позволяет определять массовую долю нелетучего остатка от 0,01 до 0,05%.

(Измененная редакция, Изм. N 1).

5.6.1. Приборы и посуда

Чашка выпарительная ГОСТ 9147, вместимостью 50 см3.

Лампа для сушки с зеркальным покрытием на колбе, или лампа накаливания электрическая осветительная по ГОСТ 2239, мощностью 500 Вт, или любая другая лампа, обеспечивающая температуру в центре зоны (120±5) °С.

Термометр ртутный стеклянный лабораторный с ценой деления шкалы 1 °С и пределами измерения от 0 до 150 °С.

Эксикатор по ГОСТ 25336.

Весы лабораторные с наибольшим пределом взвешивания 200 г и погрешностью взвешивания не более 0,0002 г.

(Измененная редакция, Изм. N 1, 2, 3).

5.6.2. Проведение анализа

В две фарфоровые чашки, предварительно прокаленные при (800±25) °С и взвешенные, помещают по 25 г нафталина.

Нафталин испаряют под лампой при (120±5) °С до сухого остатка. Температуру измеряют термометром, который помещают между чашками в центре зоны максимального нагрева.

Чашки с нелетучим остатком охлаждают в эксикаторе и взвешивают.

Для проверки полноты испарения чашки повторно нагревают в течение 15 мин, охлаждают и взвешивают.

Нелетучий остаток сохраняют для определения зольности нафталина.

Результаты всех взвешиваний в граммах записывают с точностью до четвертого десятичного знака.

(Измененная редакция, Изм. N 1, 2).

5.6.3. Обработка результатов

Массовую долю нелетучего остатка (X) в процентах вычисляют с точностью до третьего десятичного знака по формуле где m - масса навески нафталина, г;

m1 - масса пустой чашки, г;

m2 - масса чашки с сухим остатком, г.

За результат анализа принимают среднеарифметическое результатов двух параллельных определений показателя "Массовая доля нелетучего остатка", абсолютное значение разности между которыми (предел повторяемости, допускаемое расхождение) при доверительной вероятности P=0,95 не превышает значений, указанных в табл.3а.

Допускаемые расхождения (предел воспроизводимости) между результатами анализов, полученных в разных лабораториях, при доверительной вероятности P=0,95 не должны превышать значений, указанных в табл.3а.

Таблица 3а


В процентах

Массовая доля 
нелетучего остатка (единичное измерение)

Предел 
повторяемости r

Массовая доля 
нелетучего остатка (результат анализа)*

Предел воспроизводимости R

Св. 0,010 до 0,020

0,003

Св. 0,01 до 0,02

0,01

" 0,020 " 0,050

0,005

" 0,02 " 0,05

0,01

_______________
* Результат анализа округляют до второго десятичного знака.


Массовую долю нелетучего остатка до 0,01% считают как его отсутствие.

(Измененная редакция, Изм. N 1, 3).

5.7. Определение зольности

Метод позволяет определять зольность от 0,005 до 0,03%.

(Измененная редакция, Изм. N 1).

5.7.1. Приборы и посуда 

Печь муфельная.

Эксикатор по ГОСТ 25336 с обезвоженным хлористым кальцием. 

Чашка выпарительная по ГОСТ 9147, вместимостью 50 см3

Весы лабораторные с наибольшим пределом взвешивания 200 г и погрешностью взвешивания 0,0002 г.

(Измененная редакция, Изм. N 1, 2, 3). 

5.7.2. Проведение анализа

Нелетучий остаток, полученный по п.5.6, прокаливают в муфельной печи при (800±25) °С в течение 20 мин.

Для нафталина марки ОВ, используемого в качестве инсектицида, сначала получают нелетучий остаток по п.5.6 и, не охлаждая его, прокаливают в муфельной печи.

После прокаливания чашку охлаждают в эксикаторе над хлористым кальцием и взвешивают.

Результат взвешивания в граммах записывают с точностью до четвертого десятичного знака.

(Измененная редакция, Изм. N 1).

5.7.3. Обработка результатов

Зольность в нафталине (X1) в процентах вычисляют с точностью до третьего десятичного знака по формуле где - масса навески нафталина, г;

m1 - масса пустой чашки, определенная по п.5.6.2, г; 

m3 - масса чашки с золой после прокаливания, г.

За результат анализа принимают среднеарифметическое результатов двух параллельных определений показателя "Зольность", абсолютное значение разности между которыми (предел повторяемости, допускаемое расхождение) при доверительной вероятности P=0,95 не превышает значений, указанных в табл.3б.

Допускаемые расхождения (предел воспроизводимости) между результатами анализов, полученных в разных лабораториях при доверительной вероятности P=0,95, не должны превышать значений, указанных в табл.3б.


Таблица 3б


В процентах 

Зольность 
(единичное измерение)

Предел повторяемости r

Зольность 
(результат анализа)*

Предел воспроизводимости

Св. 0,005 до 0,010

0,002

Св. 0,005 до 0,001

0,01

" 0,010 " 0,030

0,005

" 0,01 " 0,03

0,02

_____________
* Результат анализа округляют до второго десятичного знака. 


Зольность до 0,005% считают как ее отсутствие. 

(Измененная редакция, Изм. N 1, 3).

5.8. Определение массовой доли воды

Массовую долю воды в нафталине определяют по ГОСТ 2477 со следующим изменением: в качестве растворителя применяют ксилол каменноугольный по ГОСТ 9949 или каменноугольный или сланцевый Толуол по ГОСТ 9880.

(Измененная редакция, Изм. N 3).

5.9. Определение окраски по йодной шкале

5.9.1. Реактивы и посуда

Йод по ГОСТ 4159, свежевозогнанный.

Калий йодистый по ГОСТ 4232, раствор массовой концентрации 0,1 г/см3.

Бензол по ГОСТ 5955, х.ч.

Кислота серная по ГОСТ 4204, х.ч.

Колба мерная с пришлифованной пробкой по ГОСТ 1770, вместимостью 100 см3.

Бюретка исполнения 1 по ГОСТ 29251, вместимостью 50 см3.

Воронка ВД-50 по ГОСТ 25336.

Пипетка по ГОСТ 29227, вместимостью 5 см3.

Часы песочные на 1 и 5 мин.

Фотоэлектроколориметр любого типа.

Стакан по ГОСТ 25336.

Смазка вакуумная.

Весы лабораторные с наибольшим пределом взвешивания 500 г и погрешностью взвешивания не более 0,0035 г.

(Измененная редакция, Изм. N 1, 2, 3).

5.9.2. Построение градуировочного графика

Для построения градуировочного графика готовят растворы сравнения.

Для этого 1 г йода взвешивают (результат взвешивания в граммах записывают с точностью до второго десятичного знака) и растворяют в 100 см3 раствора йодистого калия - раствор А.

10 см3 раствора А разбавляют до 100 см3 раствором йодистого калия - раствор Б. В 100 см3 раствора Б содержится 100 мг йода.

Затем соответствующим разведением растворов А и Б готовят девять растворов сравнения в соответствии с табл.4.

Таблица 4

Номер раствора сравнения

Состав раствора сравнения

Масса йода в 100 см3 раствора (единицы йодной шкалы), мг

Раствор А или Б

Объем раствора
А или Б, см3

Объем раствора йодистого калия, см3

1

А

3,0

97,0

30

2

То же

2,5

97,5

25

3

"

2,0

98,0

20

4

Б

15,0

85,0

15

5

То же

10,0

90,0

10

6

"

5,0

95,0

5

7

"

3,0

97,0

3

8

"

2,0

98,0

2

9

"

1,0

99,0

1


Оптические плотности растворов сравнения по отношению к контрольному измеряют на фотоэлектроколориметре с синим светофильтром (440 нм) в кюветах с толщиной поглощающего свет слоя 5 мм при массовой концентрации растворов сравнения 1-10 мг йода/100 см3 и 3 мм - при массовой концентрации растворов сравнения 15-30 мг йода/100 см3.

В качестве контрольного раствора применяют дистиллированную воду.

По полученным данным строят градуировочные графики, откладывая на оси абсцисс введенные массы йода в миллиграммах, а на оси ординат - соответствующие им значения оптических плотностей.

(Измененная редакция, Изм. N 1, 2).

5.9.3. Проведение анализа

5 г технического нафталина взвешивают (результат взвешивания в граммах записывают с точностью до второго десятичного знака), количественно переносят в мерную колбу и растворяют в 60-80 см3 бензола. Затем бензолом доводят объем раствора до метки и перемешивают.

5 см3 полученного раствора пипеткой с грушей переносят в делительную воронку, туда же приливают 5 см3 серной кислоты. Смесь энергично встряхивают в течение 1 мин и после отстаивания в течение 5 мин нижний кислотный слой осторожно переносят в кювету.

Кювету накрывают крышкой и по истечении 1 мин измеряют оптическую плотность кислотного слоя.

В качестве контрольного раствора применяют дистиллированную воду.

(Измененная редакция, Изм. N 1).

5.9.4. Обработка результатов

По градуировочному графику находят соответствующую массу йода, определяющую величину окраски анализируемого нафталина в единицах йодной шкалы.

За результат анализа принимают среднеарифметическое двух параллельных определений показателя "Окраска по йодной шкале", абсолютное значение разности между которыми (предел повторяемости, допускаемое расхождение) при доверительной вероятности P=0,95 не превышает 1,5 единиц для марок ТА и ТВ и 2 единицы - для марки ТБ.

(Измененная редакция, Изм. N 3).

5.10. Проба на маслянистость

Около 25 г нафталина измельчают в фарфоровой ступке, помещают ровным слоем без уплотнения на листе белой писчей бумаги площадью 100 см3 и оставляют на 16-18 ч под стеклянным колпаком.

После освобождения бумаги от нафталина на ней не должно быть масляных пятен.

5.11. Определение массовой доли индола

Метод позволяет определять массовую долю индола от 0,005 до 0,3%. 

(Измененная редакция, Изм. N 1).

5.11.1. Реактивы, аппаратура и посуда 

Индол, ч.

Спирт этиловый ректификованный технический по ГОСТ 18300 или спирт этиловый синтетический ректификованный по ГОСТ Р 51999.

Натрий азотистокислый по ГОСТ 4197, раствор массовой концентрации 0,02 г/см3.

Кислота серная по ГОСТ 4204, х.ч.

Вода дистиллированная по ГОСТ 6709.

Бюретка по ГОСТ 29251, вместимостью 50 см3.

Пипетка по ГОСТ 29227, вместимостью 1 см3.

Колбы 1-50-1, 1-100-1 и 1-250-1 по ГОСТ 1770.

Допускается применение колб 1-50-2, 1-100-2, 1-250-2 по ГОСТ 1770.

Фотоэлектроколориметр любого типа.

Весы лабораторные общего назначения типа ВЛР-200.

5.11.2. Построение градуировочного графика

Для построения градуировочного графика готовят растворы сравнения. Для этого 0,5 г индола взвешивают (результат взвешивания в граммах записывают с точностью до четвертого десятичного знака) и количественно переносят в мерную колбу вместимостью 100 см3. Содержимое колбы растворяют в этиловом спирте, доводят объем раствора спиртом до метки и тщательно перемешивают (раствор 1).

1 см3 раствора 1 помещают в мерную колбу вместимостью 250 см3, доводят объем раствора этиловым спиртом до метки и тщательно перемешивают (раствор 2). 1 см3 раствора 2 содержит 0,02 мг индола.

Бюреткой в мерные колбы вместимостью 100 см3 последовательно вносят 2, 3, 5, 10, 15, 20, 25, 30 см3 раствора 2 и приливают Этиловый спирт до 80-90 см3.

В каждую колбу добавляют по 0,5 см3 серной кислоты и 0,25 см3 раствора азотнокислого натрия. Растворы тщательно перемешивают, доводят объемы этиловым спиртом до метки и снова перемешивают.

Растворы сравнения выдерживают 3 ч в темноте. Оптические плотности растворов сравнения по отношению к контрольному измеряют на фотоэлектроколориметре с зеленым светофильтром (540 нм) в кюветах с толщиной поглощающего свет слоя 20 мм.

В качестве контрольного раствора применяют Этиловый спирт.

По полученным данным строят градуировочный график, откладывая на оси абсцисс массовые концентрации индола, мг/см3, а на оси ординат - соответствующие им значения оптических плотностей.

Проверку градуировочного графика проводят не реже одного раза в полгода.

5.11.1, 5.11.2. (Измененная редакция, Изм. N 1, 2, 3).

5.11.3. Проведение анализа

Около 0,1 г нафталина марок ТА и ТБ, или около 0,2 г нафталина марки ОВ, или около 1 г нафталина марки ТВ взвешивают (результаты взвешивания в граммах записывают с точностью до четвертого десятичного знака) в мерной колбе вместимостью 50 см3 и растворяют в 40-45 см3 этилового спирта.

Для ускорения полного растворения в спирте навески нафталина около 1 г, колбу с навеской и этиловым спиртом нагревают на водяной бане при (50-60) °С, периодически встряхивая. Затем раствор охлаждают.

В раствор добавляют 0,25 см3 серной кислоты и 0,125 см3 раствора азотистокислого натрия. После тщательного перемешивания объем доводят до метки этиловым спиртом и снова перемешивают.

Раствор выдерживают 3 ч в темноте, после этого измеряют его оптическую плотность в тех же условиях, что и при построении градуировочного графика.

По градуировочному графику находят концентрацию индола в анализируемом растворе, соответствующую измеренной оптической плотности.

Раствор азотистокислого натрия готовят не реже одного раза в неделю и хранят в темноте.

(Измененная редакция, Изм. N 1, 2).

5.11.4. Обработка результатов

Массовую долю индола в нафталине (X2) в процентах вычисляют с точностью до второго десятичного знака для марок ТА, ТБ и до третьего десятичного знака - для марок ОВ, ТВ по формуле где c1 - концентрация индола в анализируемом растворе, мг/см3

50 - вместимость мерной колбы, см3

m - масса навески нафталина, г.

За результат анализа принимают среднеарифметическое результатов двух параллельных определений показателя "Массовая доля индола", абсолютное значение разности между которыми (предел повторяемости, допускаемое расхождение) при доверительной вероятности P=0,95 не превышает значений, указанных в табл.5.

Допускаемые расхождения (предел воспроизводимости) между результатами анализов, полученных в разных лабораториях при доверительной вероятности P=0,95, не должны превышать значений, указанных в табл.5.


Таблица 5

В процентах 

Массовая доля индола (единичное измерение)

Предел 
повторяемости r

Массовая доля индола (результат анализа)*

Предел воспроизводимости R 

Св. 0,005 до 0,010

0,003

Св. 0,005 до 0,01

0,01

" 0,010 " 0,020

0,005

" 0,01 " 0,02

0,01

" 0,020 " 0,050

0,008

" 0,02 " 0,05

0,02

" 0,050 " 0,10

0,01

" 0,05 " 0,10

0,02

" 0,10 " 0,30

0,02

" 0,10 " 0,3

0,1

________________
* Результат анализа округляют для марок ТА и ТБ до первого десятичного знака, для марок ОВ и ТВ - до второго десятичного знака.


Массовую долю индола до 0,005% считают как ее отсутствие.

(Измененная редакция, Изм. N 1, 3).

5.12. Допускается применение других средств измерений с метрологическими характеристиками и оборудования с техническими характеристиками не хуже, а также реактивов по качеству не ниже указанных в настоящем стандарте.

Допускаемые расхождения между результатами определений, полученных в разных лабораториях (предел воспроизводимости) по пп.5.3, 5.6, 5.7 и 5.11 настоящего стандарта, являются рекомендуемыми до 1 января 2009 г. После этой даты при отсутствии замечаний нормативы воспроизводимости переходят в обязательные.

(Введен дополнительно, Изм. N 2. Измененная редакция, Изм. N 3).

6. УПАКОВКА, МАРКИРОВКА, ТРАНСПОРТИРОВАНИЕ И ХРАНЕНИЕ

6.1. Твердый нафталин упаковывают в пяти-, шестислойные бумажные мешки марок БМ и ВМБ, а также четырех-шестислойные мешки марки ПМ по ГОСТ 2226.

Мешки с продуктом зашивают машинным способом.

Масса каждого мешка не должна превышать 40 кг.

При транспортировании нафталина в пакетах необходимо соблюдать требования ГОСТ 26663.

Размер пакета устанавливают в соответствии с ГОСТ 24597.

Средства скрепления - по ГОСТ 21650.

Упаковка твердого нафталина, в том числе и транспортная тара, должны соответствовать требованиям ГОСТ 26319 и [12].

(Измененная редакция, Изм. N 1, 3).

6.2. Расплавленный нафталин транспортируют наливом в вагонах-цистернах, принадлежащих грузоотправителю или грузополучателю, имеющих приспособление для разогрева продукта и теплоизоляцию, в соответствии с [11] и ГОСТ 22235, а также в автоцистернах, принадлежащих грузоотправителю или грузополучателю, имеющих приспособление для разогрева продукта, в соответствии с [10].

Котлы вагонов-цистерн должны быть изготовлены из стали по ГОСТ 5520. Специального покрытия для котлов не требуется.

Температура расплавленного нафталина, заливаемого в вагоны-цистерны, должна быть 90 °С -100 °С. При сливе продукт нагревают до той же температуры при помощи приспособления для разогрева продукта, которым оборудовано транспортное средство.

Слив из вагонов-цистерн производится через нижнее сливное отверстие с использованием сливного прибора с тройным затвором. До 1 января 2010 г. допускается применение находящихся в эксплуатации вагонов-цистерн с универсальным сливным прибором. Ответственность за сохранность груза в этом случае несет грузоотправитель.

Способ нейтрализации при разливе - обваловка места разлива. Не допускается попадание продукта в поверхностные воды [8].

По согласованию с потребителем допускается использовать вагоны-цистерны без теплоизоляции, имеющие приспособление для разогрева.

6.3. Транспортная маркировка - по ГОСТ 14192 с нанесением манипуляционного знака "Беречь от влаги", а также следующих дополнительных данных, характеризующих продукт:

наименование предприятия-изготовителя и его товарный знак;

наименование, марка и сорт продукта;

масса нетто;

дата изготовления;

обозначение настоящего стандарта.

Маркировка, характеризующая транспортную опасность груза, - по ГОСТ 19433. Нафталин относится к классу 4, подклассу 4.1, классификационный шифр 4113, знак опасности - по черт.4а. Номер ООН - 1334 (нафталин); 2304 (расплавленный нафталин).

Код опасности при перевозках по железным дорогам - 40 и 44 [9].

Номер аварийной карточки - 402 [8].

Код экстренных мер при перевозках автомобильным транспортом - 345К [10].

6.4. Твердый нафталин транспортируют железнодорожным транспортом в крытых транспортных средствах повагонными отправками в соответствии с [12].

6.2-6.4. (Измененная редакция, Изм. N 3).

6.5. Транспортирование твердого нафталина морским транспортом должно осуществляться в соответствии с правилами безопасной морской перевозки генеральных грузов.

Речным транспортом твердый нафталин, упакованный в мешки, транспортируют в контейнерах или пакетами в трюмах.

(Измененная редакция, Изм. N 1).

6.6. Расплавленный нафталин хранят в емкостях, оборудованных приспособлением для разогрева до 90-120 °С, которое включают перед подачей продукта на погрузку или в производство.

Твердый нафталин хранят в упаковке изготовителя в помещениях, снабженных естественной вентиляцией и предохраняющих продукт от попадания прямых солнечных лучей, влаги и механических примесей. 

(Измененная редакция, Изм. N 1, 3).

7. ГАРАНТИИ ИЗГОТОВИТЕЛЯ

7.1. Изготовитель гарантирует соответствие нафталина требованиям настоящего стандарта при соблюдении условий транспортирования и хранения.

(Измененная редакция, Изм. N 1, 3).

7.2. Гарантийный срок хранения очищенного нафталина - три месяца, технического - 15 суток со дня изготовления.

БИБЛИОГРАФИЯ

[1] ГН 2.2.5.1313-03

Предельно допустимые концентрации (ПДК) в воздухе рабочей зоны

(Утв. Главным государственным санитарным врачом Российской Федерации, Первым заместителем Министра здравоохранения Российской Федерации 27.04.2003 г.)

[2] ГН 2.1.6.1338-03

Предельно допустимые концентрации (ПДК) загрязняющих веществ в атмосферном воздухе населенных мест

(Утв. Главным государственным санитарным врачом Российской Федерации, Первым заместителем Министра здравоохранения Российской Федерации 21.05.2003 г.)

[3] ГН 2.1.5.1315-03

Предельно допустимые концентрации (ПДК) химических веществ в воде водных объектов хозяйственно-питьевого и культурно-бытового водопользования

(Утв. Главным государственным санитарным врачом Российской Федерации, Первым заместителем Министра здравоохранения Российской Федерации 27.04.2003 г.)

[4]

Перечень рыбохозяйственных нормативов: предельно допустимых концентраций (ПДК) и ориентировочно безопасных уровней воздействия (ОБУВ) вредных веществ для воды водных объектов, имеющих рыбохозяйственное значение

(Утв. Приказом государственного комитета Российской Федерации по рыболовству от 28.04.1999 г. N 96)

[5] ПБ 11-503-03

Правила безопасности в коксохимическом производстве

(Утв. Постановлением Госгортехнадзора России 24.04.2003, N 22)

[6] ПБ 11-493-02

Общие правила безопасности для металлургических и коксохимических предприятий и производств

(Утв. Постановлением Госгортехнадзора России 21.06.2002, N 35)

[7] СанПиН 2.1.7.1322-03

Гигиенические требования к размещению и обезвреживанию отходов производства и потребления

(Утв. Главным государственным санитарным врачом Российской Федерации, Первым заместителем Министра здравоохранения Российской Федерации 30.04.2003 г.)

[8]

Правила безопасности и порядок ликвидации аварийных ситуаций с опасными грузами при перевозке их по железным дорогам N 1170

(Утв. Заместителем Министра путей сообщения Российской Федерации 25.11.1996 г. N ЦМ-407)

[9]

Правила перевозок опасных грузов. Часть 2.

Приложение 2 к Соглашению о международном железнодорожном грузовом сообщении (СМГС). Организация сотрудничества железных дорог (ОСЖД). Переиздание с изменением и дополнением на 1 января 1998 г.

[10]

Правила перевозки опасных грузов автомобильным транспортом

(Утв. приказом Министра транспорта РФ 08.08.1995 N 73)

[11]

Правила перевозок железнодорожным транспортом грузов наливом в вагонах-цистернах и вагонах бункерного типа для перевозки нефтебитума

(Утв. приказом МПС РФ от 18.06.2003 г. N 25)

[12]

Правила перевозок опасных грузов по железным дорогам 

(Утв. Заместителем Министра путей сообщения Российской Федерации 27.12.1994). Издание, второе, исправленное


БИБЛИОГРАФИЯ. (Введена дополнительно, Изм. N 3).




официальное издание
М.: ИПК Издательство стандартов, 1999