Диметиланилин технический ГОСТ 2168-83
Диметиланилин технический. Технические условия (с Изменением N 1) ГОСТ 2168-83
Группа Л21
ГОСУДАРСТВЕННЫЙ СТАНДАРТ СОЮЗА ССР
ДИМЕТИЛАНИЛИН ТЕХНИЧЕСКИЙ
Технические условия
Technical dimethylaniline. Specifications
ОКП 24 7145 0300
Дата введения 1985-01-01
ИНФОРМАЦИОННЫЕ ДАННЫЕ
1. РАЗРАБОТАН И ВНЕСЕН Министерством химической промышленности СССР
РАЗРАБОТЧИКИ
Н.Н.Красикова, Н.И.Нехорошева, Б.В.Салов, канд.хим.наук (руководитель темы), Г.Н.Семина
2. УТВЕРЖДЕН И ВВЕДЕН В ДЕЙСТВИЕ Постановлением Государственного комитета СССР по стандартам от 17.12.83 N 6105
3. ВЗАМЕН ГОСТ 2168-71
4. ССЫЛОЧНЫЕ НОРМАТИВНО-ТЕХНИЧЕСКИЕ ДОКУМЕНТЫ
|
Обозначение НТД, на который дана ссылка |
Номер пункта, подпункта |
|
ГОСТ 12.1.007-76 |
2.2 |
|
ГОСТ 427-75 |
4.5.1.1 |
|
ГОСТ 1770-74 |
4.3.1; 4.5.1.1 |
|
4.5.1.1 |
|
|
4.2.1 |
|
|
4.5.1.1 |
|
|
ГОСТ 6247-79 |
5.1 |
|
4.6.1 |
|
|
ГОСТ 6732.1-89 |
3.1 |
|
ГОСТ 6732.2-89 |
4.1 |
|
ГОСТ 6732.3-89 |
5.1 |
|
ГОСТ 6732.4-89 |
5.2 |
|
ГОСТ 6732.5-89 |
5.4 |
|
ГОСТ 9147-80 |
4.5.1.1 |
|
4.5.1.1 |
|
|
ГОСТ 13950-91 |
5.1 |
|
ГОСТ 14870-77 |
4.6.4 |
|
ГОСТ 17366-80 |
5.1 |
|
ГОСТ 18995.5-73 |
4.4 |
|
ГОСТ 19433-88 |
5.2 |
|
4.5.1.1; 4.6.1 |
|
|
ГОСТ 24104-88 |
4.5.1.1; 4.6.1 |
|
ГОСТ 25336-82 |
4.2.1; 4.3.1; 4.5.1.1 |
|
ГОСТ 25706-83 |
4.5.1.1 |
5. Ограничение срока действия снято по протоколу N 4-93 Межгосударственного Совета по стандартизации, метрологии и сертификации (ИУС 4-94)
6. ПЕРЕИЗДАНИЕ (апрель 1998 г.) с Изменением N 1, утвержденным в марте 1989 г. (ИУС 6-89)
Настоящий стандарт распространяется на технический диметиланилин, предназначенный для синтеза органических продуктов.
Формулы:
эмпирическая C8H11N
структурная
Молекулярная масса (по международным атомным массам 1971 г.) - 121,18.
1. ТЕХНИЧЕСКИЕ ТРЕБОВАНИЯ
1.1. Технический диметиланилин должен изготовляться в соответствии с требованиями настоящего стандарта по технологическому регламенту, утвержденному в установленном порядке.
1.2. По физико-химическим показателям технический диметиланилин должен соответствовать требованиям и нормам, указанным в таблице.
2. ТРЕБОВАНИЯ БЕЗОПАСНОСТИ
2.1. Технический диметиланилин - горючая жидкость.
Температура вспышки 74°С.
Температура самовоспламенения 370°С.
Область воспламенения 1,0-7,0% (по объему).
Температурные пределы воспламенения: нижний 68°С, верхний 98°С.
При загорании тушить распыленной водой, химической и воздушно-механической пеной.
2.2. Технический диметиланилин - высокоопасное вещество (2-й класс опасности по ГОСТ 12.1.007). Предельно допустимая концентрация в воздухе рабочей зоны (ПДК) 0,2 мг/м3.
Продукт действует на нервную систему, кровь, паренхиматозные органы, способен проникать в организм человека через кожные покровы, слизистые оболочки и дыхательные пути.
2.3. При работе с продуктом следует применять средства индивидуальной защиты, предотвращающие попадание продукта на кожные покровы, слизистые оболочки и проникновения его паров в органы дыхания, а также соблюдать правила личной гигиены.
Для обеспечения безопасности помещение, где проводятся работы с продуктом, должно быть оборудовано общеобменной приточно-вытяжной вентиляцией. В местах возможного выделения паров должны быть оборудованы местные вентиляционные отсосы.
Продукт с кожных покровов и слизистых оболочек удаляют водой.
(Измененная редакция, Изм.N 1).
3. ПРАВИЛА ПРИЕМКИ
3.1. Правила приемки - по ГОСТ 6732.1.
4. МЕТОДЫ АНАЛИЗА
4.1. Метод отбора проб - по ГОСТ 6732.2. Объем средней лабораторной пробы должен быть не менее 1 дм3.
Перед каждым анализом среднюю пробу тщательно перемешивают.
4.2. Подготовка пробы к анализу
4.2.1. Реактивы, посуда и материалы
Натрия гидроокись по ГОСТ 4328, свежеплавленая.
Колба Кн-2-50(100)-18(22, 34) ТХС по ГОСТ 25336.
Стакан Н-2-100(150) ТХС по ГОСТ 25336.
Воронка В-36(56, 75)-50(80, 110) ХС по ГОСТ 25336.
Эксикатор 1(2)-100(140, 190) по ГОСТ 25336.
Фильтр обеззоленный "белая лента".
4.2.2. Проведение подготовки пробы
Анализируемый технический диметиланилин наливают в стакан, помещают в эксикатор и сушат в течение 6 ч над свежеплавленной гидроокисью натрия, затем фильтруют через сухой обеззоленный фильтр, вложенный в воронку, в сухую колбу.
4.3. Определение внешнего вида
4.3.1. Посуда
Цилиндр 1(3)-10(25) по ГОСТ 1770.
Пробирка П1-14(16)-120(150) или П2-14(16)-100(150, 180) по ГОСТ 25336.
4.3.2. Проведение анализа
Внешний вид продукта оценивают визуально. Для этого 10 см3 анализируемого технического диметиланилина наливают в сухую пробирку и рассматривают в проходящем свете.
4.4. Температуру кристаллизации высушенного продукта определяют по ГОСТ 18995.5(разд.1) в приборе Жукова. Пробу для анализа готовят по п.4.2. За результат анализа принимают среднее арифметическое результатов двух параллельных определений, расхождение между которыми не превышает допускаемое расхождение, равное 0,2°С.
4.5. Определение массовой доли диметиланилина и суммы органических примесей в высушенном продукте
Массовую долю диметиланилина в продукте определяют по разности, вычитая из 100% сумму массовых долей органических примесей (анилина, монометиланилина и монометилциклогексиламина, моно- и диметил-о-толуидина, неидентифицированных примесей).
4.2-4.5. (Измененная редакция, Изм.N 1).
4.5.1. Определение массовых долей органических примесей
4.5.1.1. Приборы, реактивы и посуда
Хроматограф газовый с пламенно-ионизационным детектором.
Колонка газохроматографическая из нержавеющей стали длиной 3 м и внутренним диаметром 3 мм.
Микрошприц МШ-10 или МШ-10М.
Лупа измерительная по ГОСТ 25706.
Линейка металлическая измерительная по ГОСТ 427.
Секундомер механический.
Баня песчаная.
Термометр ТТ П 4(5)-100(160).
Весы лабораторные общего назначения 2-го класса точности по ГОСТ 24104 с наибольшими пределами взвешивания 200 и 500 г.
полиэтиленгликоль-20М (ПЭГ-20М) для хроматографии и апиезон L для хроматографии (неподвижная жидкая фаза).
Хроматон N-AW с частицами размером 0,16-0,20 мм или другой диатомитовый носитель любой марки, обеспечивающий аналогичное разделение примесей (твердый носитель).
Этилбензол для хроматографии ("внутренний эталон").
Хлороформ по ГОСТ 20015.
Анилин по ГОСТ 5819, ч.д.а.
Монометиланилин технический, свежеперегнанный.
Азот газообразный технический по ГОСТ 9293 или гелий газообразный (газ-носитель).
Водород технический по ГОСТ 3022, марка Б или электролитический, полученный от генератора водорода.
Воздух сжатый для питания контрольно-измерительных приборов.
Чашка выпарительная 3(4) по ГОСТ 9147.
Стаканчик СВ-14/8(19/9) по ГОСТ 25336.
Цилиндр 1(3)-50(100) по ГОСТ 1770.
Пипетка вместимостью 5 см3.
4.5.1.2. Подготовка к анализу
Приготовление насадки
К 8,96 г хроматона N-AW, помещенному в выпарительную чашку и смоченному хлороформом, приливают раствор, содержащий 1 г апиезона L и 0,04 г ПЭГ-20М в 30-40 см3 хлороформа. Затем растворитель удаляют нагреванием выпарительной чашки с содержимым на песчаной бане при 70-80°С при непрерывном перемешивании.
Колонку, предварительно промытую и высушенную, заполняют насадкой, помещают в термостат хроматографа и, не присоединяя к детектору, продувают током газа-носителя в течение 16 ч при 200°С. После продувки колонку кондиционируют введением не менее 20 проб анализируемого диметиланилина.
Включение хроматографа и вывод его на рабочий режим осуществляют в соответствии с инструкцией, прилагаемой к прибору.
Условия работы хроматографа
Соотношение скорости водорода и воздуха - в соответствии с инструкцией, прилагаемой к прибору.
Градуировка хроматографа
Градуировку хроматографа осуществляют по искусственным смесям. Искусственные смеси готовят следующим образом: одинаковые количества (в пределах 1 г) этилбензола и определяемой примеси взвешивают в стаканчике для взвешивания (результат взвешивания в граммах записывают с точностью до четвертого десятичного знака). К навеске приливают 3 см3 хлороформа, смесь тщательно перемешивают и вводят в испаритель хроматографа.
Градуировочный коэффициент для анилина и монометиланилина (Ki) вычисляют по формуле
где mi - масса навески определяемой примеси, г;
Sэт - площадь пика "внутреннего эталона", мм2;
mэт - масса навески "внутреннего эталона", г;
Si - площадь пика определяемой примеси, мм2.
Градуировочный коэффициент для монометилциклогексиламина принимают равным градуировочному коэффициенту для монометиланилина.
Градуировочные коэффициенты для монометил-о-толуидина, диметил-о-толуидина и неидентифицированных примесей принимают равными 1.
Площадь пика вычисляют как произведение высоты пика на его ширину, измеренную на середине высоты. Высоту пика измеряют металлической измерительной линейкой, а ширину - измерительной лупой.
4.5.1.3. Проведение анализа
4,5-5,0 г анализируемого технического диметиланилина, приготовленного по п.4.2, взвешивают в стаканчике для взвешивания, добавляют микрошприцем 0,004-0,010 г этилбензола и снова взвешивают. Результаты всех взвешиваний в граммах записывают с точностью до четвертого десятичного знака. Затем смесь тщательно перемешивают и вводят в испаритель хроматографа.
Порядок выхода компонентов указан на хроматограмме (см. черт.1).
4.5.1.4. Обработка результатов
Массовую долю определяемой примеси (Xi) в процентах вычисляют по формуле
где Ki - градуировочный коэффициент определяемой примеси;
Si - площадь пика определяемой примеси, мм2;
mэт - масса навески "внутреннего эталона", г;
Sэт - площадь пика "внутреннего эталона", мм2;
m - масса навески анализируемого продукта, г.
За результат анализа принимают среднее арифметическое результатов двух параллельных определений, абсолютное расхождение между которыми не превышает допускаемое расхождение, равное 0,01% для анилина и 0,07% для суммы органических примесей.
Допускаемая абсолютная суммарная погрешность результата анализа ±0,01% для анилина и ±0,05% для суммы органических примесей при доверительной вероятности P=0,95.
Массовую долю диметиланилина (X) в процентах вычисляют по формуле
где
- сумма массовых долей всех определяемых примесей, %.
4.5.1.1-4.5.1.4. (Измененная редакция, Изм.N 1).
Черт.1. Порядок выхода компонентов
1 - этилбензол ("внутренний эталон"); 3 - анилин; 4 - монометиланилин+монометилциклогексиламин; 5 - диметиланилин; 6 - монометил-о-толуидин; 7- диметил-о-толуидин; 2, 8 - неидентифицированные примеси
Черт.1
4.6. Определение массовой доли воды
Массовую долю воды определяют методом биамперометрического титрования реактивом Фишера.
4.6.1. Реактивы, растворы, посуда и приборы
Реактив Фишера, готовят из компонентов готового комплекта и разбавляют хлороформом 1:1, годен к применению через 24 ч.
Хлороформ по ГОСТ 20015.
Вода дистиллированная по ГОСТ 6709.
Бюретка вместимостью 10 см3.
Пипетки для отбора и взвешивания проб.
Пипетки вместимостью 10 и 20 см3.
Прибор для определения массовой доли воды, собранный по схеме (черт.2). Допускается применение любого другого прибора для электрометрического определения воды реактивом Фишера, обладающего той же чувствительностью.
Черт.2. Электрическая схема прибора для определения массовой доли воды
Электрическая схема прибора для определения массовой доли воды
![]()
B - батарея 1,5 В, емкостью 72 нФ; K - ключ; R1 - сопротивление 5000 Ом, любого типа; R2 - сопротивление 100 Ом, любого типа; G - стрелочный гальванометр с чувствительностью 0,25-0,50 мкА/дел; E - ячейка с электродами
Черт.2
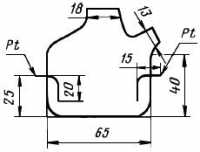
Черт.3. Ячейка для биамперометрического титрования
Ячейка для биамперометрического титрования
Черт.3
Ячейка для титрования, представляющая собой двугорлую колбу вместимостью 50 см3, с впаянными в стенку электродами из платиновой проволоки диаметром 1 мм (черт.3).
Мешалка магнитная любого типа.
Весы лабораторные общего назначения 2-го класса точности по ГОСТ 24104 с наибольшим пределом взвешивания 200 г.
4.6.2. Подготовка к анализу
Установка титра реактива Фишера
В ячейку для титрования помещают 10 см3 хлороформа, в центральную горловину плотно на пробке вставляют носик бюретки, заполненной реактивом Фишера, и помещают ячейку на магнитную мешалку. Включив мешалку, в ячейку через боковую горловину вводят каплю воды (не более 0,02 г) из взвешенной пипетки с водой. Боковую горловину закрывают пробкой. К раствору из бюретки прибавляют 3 капли реактива Фишера и выдерживают до исчезновения интенсивной оранжево-красной окраски. После этого быстро титруют смесь реактивом Фишера до тех пор, пока стрелка гальванометра, отклонившись на всю шкалу, останется в этом положении 1 мин. При этом расход титранта не измеряют. Затем бюретку снова заполняют реактивом Фишера. В ячейку вводят из пипетки еще одну каплю воды и проводят титрование, при этом измеряют расход реактива Фишера. Пипетку взвешивают до и после отбора капли воды, записывая результат взвешивания в граммах с точностью до четвертого десятичного знака.
4.6.3. Проведение анализа
В сухую ячейку помещают 20 см3 хлороформа, прибавляют каплю воды из взвешенной пипетки и титруют, не записывая расход реактива Фишера. Затем в ячейку через боковую горловину вводят из пипетки 1,5-2,5 г анализируемого технического диметиланилина, горловину закрывают пробкой. По разности взвешиваний пипетки определяют навеску продукта (результаты взвешиваний в граммах записывают с точностью до четвертого десятичного знака). Смесь титруют при перемешивании до того момента, пока стрелка гальванометра, отклонившись на всю шкалу, останется в этом положении 1 мин.
В одной порции хлороформа можно титровать две навески продукта.
4.6.4. Обработка результатов
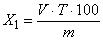
Массовую долю воды (X1) в процентах вычисляют по формуле
где V - объем реактива Фишера, израсходованный на титрование навески анализируемого продукта, см3;
T - титр реактива Фишера, г H2O/см3;
m - масса навески анализируемого продукта, г.
Титр реактива Фишера (T) в г/см3 вычисляют по формуле
где m1 - масса капли воды, г;
V1 - объем реактива Фишера, израсходованный на титрование капли воды, см3.
За результат анализа принимают среднее арифметическое результатов двух параллельных определений, абсолютное расхождение между которыми не превышает допускаемое расхождение, равное 0,01%.
Допускаемая абсолютная суммарная погрешность результата анализа ±0,02% при доверительной вероятности P=0,95.
Допускается определение воды проводить по ГОСТ 14870, методом Фишера (визуальное титрование).
При разногласиях в оценке массовой доли воды анализ проводят методом биамперометрического титрования.
4.6.1-4.6.4. (Измененная редакция, Изм.N 1).
4.7-4.7.3. (Исключены, Изм.N 1).
5. УПАКОВКА, МАРКИРОВКА, ТРАНСПОРТИРОВАНИЕ И ХРАНЕНИЕ
5.1. Упаковка - по ГОСТ 6732.3.
Технический диметиланилин упаковывают в стальные бочки типа I по ГОСТ 6247 вместимостью 100, 200 или 275 дм3, типа I по ГОСТ 13950 вместимостью 100 или 200 дм3, типа I по ГОСТ 17366 вместимостью 110 или 275 дм3. Тара является разовой.
Степень заполнения бочек не должна превышать 95% объема.
5.2. Маркировка - по ГОСТ 6732.4 с нанесением знака опасности по ГОСТ 19433 (класс 6, подкласс 6.1, классификационный шифр 6132).
На железнодорожные цистерны наносят специальный трафарет "Ядовито" и трафарет приписки.
5.1, 5.2. (Измененная редакция, Изм.N 1).
5.3. Допускается по требованию потребителя для продукта, предназначенного для специального назначения, устанавливать другие виды упаковки.
5.4. Транспортирование - по ГОСТ 6732.5 со следующими дополнениями: по железной дороге технический диметиланилин транспортируют повагонно и мелкими отправками, а также наливом в специально выделенных железнодорожных цистернах в соответствии с правилами перевозки грузов.
Степень заполнения цистерн не должна превышать 95% объема.
(Измененная редакция, Изм.N 1).
5.5. Технический диметиланилин хранят в упаковке изготовителя или в закрытых стальных емкостях в закрытых складских помещениях при температуре не выше 40°С.
6. ГАРАНТИИ ИЗГОТОВИТЕЛЯ
6.1. Изготовитель гарантирует соответствие технического диметиланилина требованиям настоящего стандарта при соблюдении условий хранения и транспортирования.
6.2. Гарантийный срок хранения - два года со дня изготовления.
официальное издание
М.: ИПК Издательство стандартов, 1998
