Новости Нефтегазовая пром.
Выставки Наука и технология


Дифтордихлорметан (хладон 12) ГОСТ 19212-87

Дифтордихлорметан (хладон 12). Технические условия (с Изменением N 1) ГОСТ 19212-87


ГОСТ 19212-87

Группа Л92

     
     
ГОСУДАРСТВЕННЫЙ СТАНДАРТ СОЮЗА ССР

ДИФТОРДИХЛОРМЕТАН
(ХЛАДОН 12)

Технические условия

Difluorodichloromethane (Khladon 12). Specifications



ОКП 24 1242 0100

Дата введения 1988-07-01


ИНФОРМАЦИОННЫЕ ДАННЫЕ

1. РАЗРАБОТАН И ВНЕСЕН Министерством химической промышленности

РАЗРАБОТЧИКИ

К.М.Бердичевская, канд. хим. наук; М.М.Немова, с.н.с.; Г.Ф.Нечуговский, канд. хим. наук; Д.А.Гильманова, канд. техн. наук; В.Н.Строгалева, с.н.с.

2. УТВЕРЖДЕН И ВВЕДЕН В ДЕЙСТВИЕ Постановлением Госстандарта от 29.06.87 N 2817

3. Срок проверки - 1992 г.

Периодичность проверки - 5 лет

4. В стандарт введен международный стандарт ИСО 7817-74

5. ВЗАМЕН ГОСТ 19212-73

6. ССЫЛОЧНЫЕ НОРМАТИВНО-ТЕХНИЧЕСКИЕ ДОКУМЕНТЫ

Обозначение НТД, на который дана ссылка

Номер пункта, подпункта перечисления, приложения

ГОСТ 9.010-80

3.4.1

ГОСТ 12.1.005-88

1.2.2, 1.2.3, 1.2.6, 1.2.8

ГОСТ 12.4.013-85

1.2.9

ГОСТ 12.4.021-75

1.2.8

ГОСТ 12.4.121-83

1.2.9

ГОСТ 427-75

3.5.1

ГОСТ 949-73

1.4.1

ГОСТ 1770-74

3.4.1

ГОСТ 2603-79

3.5.1

ГОСТ 4919.1-77

3.4.1

ГОСТ 6613-76

3.5.1

ГОСТ 6709-72-->ГОСТ 6709-72

3.4.1

ГОСТ 7164-78

3.5.1

ГОСТ 8502-88

3.5.1

ГОСТ 8682-93

3.4.1

ГОСТ 9147-80

3.5.1

ГОСТ 9731-79

3.5.1

ГОСТ 9932-75

3.4.1

ГОСТ 10007-80

3.1

ГОСТ 14192-77

1.3.1

ГОСТ 15860-84

1.4.1, 4.2.

ГОСТ 19212-87

3.5.1

ГОСТ 19433-88

1.3.1

ГОСТ 20010-93

1.2.9

ГОСТ 20288-74

3.5.1

ГОСТ 21650-76

4.2

ГОСТ 24104-80*

3.4.1

_______________
* На территории Российской Федерации действует ГОСТ 24104-2001. - Примечание изготовителя базы данных.

ГОСТ 24597-81

4.2

ГОСТ 24614-81

3.6

ГОСТ 25336-82

3.4.1

ГОСТ 25706-83

3.5.1

ГОСТ 26381-84

4.2

ГОСТ 26663-85

4.2

ГОСТ 27652-88

1.2.9

ГОСТ 27654-88

1.2.9

ГОСТ 28498-90

3.5.1

7. Ограничение срока действия снято Постановлением Госстандарта от 23.04.92 N 436

8. ПЕРЕИЗДАНИЕ (декабрь 1996 г.) с Изменением N 1, утвержденным в апреле 1992 г. (ИУС 7-92)

Настоящий стандарт распространяется на дифтордихлорметан (хладон 12). Символическое обозначение R12.

Хладон 12 - бесцветный сжиженный под давлением газ со слабым запахом четыреххлористого углерода.

Формула: CF2Cl2

Относительная молекулярная масса (по международным атомным массам 1987 г.) - 120,93.

Плотность жидкого хладона 12 при 20 °C - 1329 кг/м3.

Хладон 12 предназначен для использования в качестве хладагента и пропеллента.

(Измененная редакция, Изм. N 1).

1. ТЕХНИЧЕСКИЕ ТРЕБОВАНИЯ

1.1. Хладон 12 должен быть изготовлен в соответствии с требованиями настоящего стандарта по технологическому регламенту, утвержденному в установленном порядке.

1.2. Характеристики

1.2.1. По физико-химическим показателям хладон 12 должен соответствовать требованиям и значениям, указанным в табл.1.

Таблица 1

Наименование показателя

Значение

1. Массовая доля нелетучего остатка, %, не более

0,004

2. Кислотность

Окраска индикатора не должна изменяться

3. Объемная доля дифтордихлорметана, %, не менее

99,7

4. Объемная доля примесей, определяемых хроматографическим методом, %, в сумме не более

0,3

в том числе объемная доля неконденсирующихся примесей (воздуха или азота), %, не более

0,2

5. Массовая доля воды, %, не более

0,0003

1.2.2. Периодичность санитарно-химического контроля воздуха рабочей зоны устанавливается органами санитарно-эпидемиологической службы и осуществляется промсанлабораторией по ГОСТ 12.1.005.

1.2.3. Хладон 12 является негорючим, невзрывоопасным, малотоксичным сжиженным под давлением газом. Класс опасности 4 по ГОСТ 12.1.005.

1.2.4. Предельно допустимая концентрация (ПДК) хладона 12 в воздухе рабочей зоны - 3000 мг/м3.

1.2.3, 1.2.4. (Измененная редакция, Изм. N 1).

1.2.5. Производственные помещения должны быть обеспечены техническими средствами контроля за состоянием воздушной среды.

1.2.6. При нормальных условиях хладон 12 является стабильным веществом. При температуре выше 400 °C он разлагается с образованием высокотоксичных продуктов: хлористого водорода (ПДК - 5 мг/м3, класс опасности II) и фтористого водорода (ПДК - 0,5/0,1 мг/м3, класс опасности I по ГОСТ 12.1.005). Максимальная ПДК - 0,5 мг/м3, среднесменная - 0,1 мг/м3.

1.2.7. При работе с хладоном 12 следует руководствоваться "Правилами устройства и безопасной эксплуатации сосудов, работающих под давлением", утвержденными Госпроматомнадзором.

1.2.6, 1.2.7. (Измененная редакция, Изм. N 1).

1.2.8. Помещения, в которых проводят работы с хладоном 12, должны быть снабжены приточно-вытяжной вентиляцией и местной вентиляцией по ГОСТ 12.4.021, обеспечивающей состояние воздушной среды в соответствии с требованиями ГОСТ 12.1.005.

1.2.9. При работе с хладоном 12, при промывании и обработке аппаратуры и тары из-под него работающие должны применять суконную специальную одежду по ГОСТ 27652* и ГОСТ 27654*, резиновые перчатки по ГОСТ 20010, защитные очки по ГОСТ 12.4.013** или маски из органического стекла. В аварийных случаях необходимо пользоваться фильтрующим противогазом ФУ-13 с коробкой марки БКФ по ГОСТ 12.4.121.
______________
* На территории Российской Федерации действует ГОСТ Р 12.4.248-2008; 
** На территории Российской Федерации действует ГОСТ Р 12.4.230.1-2007. - Примечание изготовителя базы данных.

(Измененная редакция, Изм. N 1).

1.3. Маркировка

1.3.1. Транспортная маркировка - по ГОСТ 14192* с указанием манипуляционного знака "Беречь от нагрева" с обозначением знака опасности груза по ГОСТ 19433 (класс 2, подкласс 2.1, классификационный шифр 2113, черт.2) и серийного номера ООН 1028. К каждому баллону и контейнеру с хладоном 12 прикрепляют ярлык с указанием:
_______________
* На территории Российской Федерации действует ГОСТ 14192-96. - Примечание изготовителя базы данных. 

наименования предприятия-изготовителя и его товарного знака;

наименования продукта;

номера партии;

номера сосуда;

даты изготовления;

массы брутто и нетто;

обозначения настоящего стандарта.

1.3.2. Наружная поверхность цистерн, контейнеров, баллонов должна быть окрашена эмалью, масляной или алюминиевой краской в светло-серый цвет. Контейнеры и цистерны должны иметь отличительные полосы черного цвета и надписи "Хладон".

Цвет надписи - желтый.

1.3.1, 1.3.2. (Измененная редакция, Изм. N 1).

1.3.3. Отличительные полосы на цистернах должны быть нанесены на корпусе с обеих сторон по средней линии цистерны на всю длину цилиндрической части. Ширина полосы на железнодорожных цистернах должна быть 300 мм.

1.3.4. Надписи на цистернах должны быть нанесены с каждой стороны корпуса над полосой.

1.3.5. Отличительные полосы на контейнеры должны наноситься по всей окружности на расстоянии 200 мм от каждого днища. Ширина каждой полосы - 50 мм. Надписи на контейнеры должны наноситься на цилиндрической части между полосами. Высота букв - 50 мм.

1.3.6. На баллоны надпись "Хладон 12" наносят черным цветом по окружности на длину не менее 1/3 окружности.

1.3.7. При использовании баллонов и контейнеров из нержавеющей стали наружную поверхность не окрашивают.

1.3.3-1.3.7. (Введены дополнительно, Изм. N 1).

1.4. Упаковка

1.4.1. Хладон 12 заливают: в баллоны по ГОСТ 15860 вместимостью 50 дм3, в баллоны по ГОСТ 949, давление в которых 10 и 15 МПа, вместимостью 32, 40 и 50 дм3; в импортные специализированные контейнеры вместимостью 800 дм3, диаметром 906 мм, длиной 2090 мм, массой брутто не более 1420 кг; вместимостью 950 дм3, диаметром 920 мм, длиной 1925 мм, массой брутто не более 1775 кг; вместимостью 1023 дм3, диаметром 950 мм, длиной 1900 мм, массой брутто не более 2154 кг, рассчитанные на избыточное рабочее давление не менее 1,27 МПа и соответствующие "Правилам устройства и безопасной эксплуатации сосудов, работающих под давлением", утвержденным Госпроматомнадзором, а также в железнодорожные цистерны.

1.4.2. На каждый 1 дм3 вместимости в баллонах и контейнерах следует наливать не более 1,1 кг жидкого хладона 12.

1.4.1, 1.4.2. (Измененная редакция, Изм. N 1).

1.4.3. Вентили на баллонах и контейнерах следует устанавливать с правой резьбой на боковом штуцере. Наряду с латунными вентилями допускается применять стальные вентили.

1.4.4. Внутренняя поверхность баллонов и контейнеров должна быть очищена от грязи, ржавчины, тщательно просушена. Отслаивающаяся окалина на внутренней поверхности баллонов не допускается. Допускают тонкий прочный слой окислов и отдельные пятна красноватого оттенка.

1.4.5. Баллоны и контейнеры снабжают вентилями, испытанными на герметичность избыточным давлением. Испытания проводят погружением в воду вентиля, выходной штуцер которого находится под давлением 1,96 МПа, или обмыливанием вентиля. Вентиль считают пригодным, если в течение 5 мин не будет обнаружено пропуска газа. После испытания вентили должны быть тщательно просушены. Допускается испытывать вентили одновременно с испытанием баллонов и контейнеров.

1.4.6. Перед наполнением хладоном 12 баллоны и контейнеры вакуумируют до давления не более 1,33 кПа. Избыточное давление не менее 50 кПа в возвратных баллонах и контейнерах, согласно правилам Госпроматомнадзора, создают только хладоном 12.

1.4.7. Баллоны и контейнеры после заполнения хладоном 12 должны быть проверены на герметичность. Затем на выходные штуцеры вентилей надевают глухие гайки или фланцы с прокладкой из фторопласта или паранита.

1.4.8. На вентили баллонов и контейнеров с хладоном 12 надевают предохранительные колпаки, которые должны быть опломбированы.

1.4.5-1.4.8. (Измененная редакция, Изм. N 1).

2. ПРИЕМКА

2.1. Хладон 12 принимают партиями. Партией считают любое количество хладона 12, но не более 70 т, однородное по своим показателям качества, оформленное документом о качестве.

Документ должен содержать:

наименование предприятия-изготовителя или его товарный знак;

наименование продукта;

количество единиц продукта в партии;

номер партии;

дату изготовления;

массу нетто;

результаты проведенных анализов;

обозначение настоящего стандарта.

При транспортировании хладона 12 в железнодорожных цистернах каждую цистерну принимают за партию.

Массовую долю нелетучего остатка определяют периодически в каждой десятой партии.

2.2. Пробы отбирают от каждой цистерны или от 2% единиц продукции, но не менее чем от двух, если партия состоит менее чем из 100 упаковочных единиц продукции.

При наличии у изготовителя наполнительной емкости для хладона 12, содержащей не более 70 т продукта, допускается отбор проб из емкости.

Результаты анализа распространяются на все виды упаковочных единиц, которые заполняются из данной емкости.

2.1, 2.2. (Измененная редакция, Изм. N 1).

2.3. При получении неудовлетворительных результатов анализа хотя бы по одному из показателей проводят повторный анализ проб, отобранных от удвоенного количества единиц продукции той же партии. Результаты повторного анализа распространяются на всю партию.

3. МЕТОДЫ АНАЛИЗА

3.1. Пробы продукта отбирают в баллон вместимостью от 0,4 до 1 дм3 (ГОСТ 949), снабженный краном тонкой регулировки с уплотнениями из фторопласта-4 по ГОСТ 10007.

3.2. Баллоны для отбора проб, подготовленные в соответствии с пп.1.4.4 и 1.4.5 настоящего стандарта, прогревают в сушильном шкафу при температуре (110±10) °C в течение 1 ч и, не охлаждая, вакуумируют до остаточного давления не более 1,33 кПа. Давление в течение 10 мин не должно изменяться.

3.3. Пробы отбирают из жидкой фазы единицы продукции.

Для исключения попадания в баллон посторонней влаги с переходника и пробоотборной арматуры сосудов необходимо прогревать их горячим воздухом при температуре не выше 120 °C.

На 1 дм3 вместимости баллона заливают от 0,9 до 1,1 кг хладона 12. Перед присоединением баллона из сосуда сливают от 90 до 110 г продукта (выводят за пределы помещения в технологическую емкость). Каждую отобранную пробу анализируют отдельно, строго придерживаясь последовательности анализов, указанной в настоящем стандарте. Баллон с пробой хранят вентилем вниз.

3.1-3.3. (Измененная редакция, Изм. N 1).

3.4. Определение массовой доли нелетучего остатка и кислотности

3.4.1. Аппаратура, материалы и реактивы

Метиловый красный, индикатор; раствор готовят по ГОСТ 4919.1.

Вода дистиллированная по ГОСТ 6709.

Воздух по ГОСТ 9.010.

Весы лабораторные общего назначения с наибольшими пределами взвешивания 200 г и 10 кг и погрешностью ±0,0003 и 0,1 г соответственно.

Реометр по ГОСТ 9932 типа РКС с диапазоном измерения 0-0,4 дм3/мин, ценой деления 0,02 дм3/мин, допускаемой относительной погрешностью 2% и отградуированный по объемному расходу хладона 12.

Баллон по ГОСТ 949 вместимостью от 0,4 до 1,0 дм3.

Барботеры стеклянные вместимостью от 90 до 110 см3.

Склянка с тубусом 4-10 (газометр) по ГОСТ 25336.

Шлифы по ГОСТ 8682.

Цилиндр 1(3)-50(100) - 2 по ГОСТ 1770.

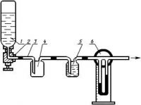
Установка для определения нелетучего остатка и кислотности (черт.1).

Черт.1. - Установка для определения кислотности и нелетучего остатка

Установка для определения кислотности и нелетучего остатка

1 - баллон с пробой; 2 - ниппель; 3 - труба соединительная резиновая; 4, 5 - барботеры; 6 - реометр


Черт.1

3.4.2. Подготовка к проведению анализа

Баллон 1 с пробой хладона 12 взвешивают (результат взвешивания в граммах записывают с точностью до первого десятичного знака), устанавливают вентилем вниз и присоединяют к барботеру 4 с помощью ниппеля 2. Предварительно взвешивают ниппель, соединительную резиновую трубку 3, барботер 4 (результат взвешивания в граммах записывают до четвертого десятичного знака). В барботер 5 цилиндром наливают 50,0 см3 дистиллированной воды и добавляют 2-3 капли индикатора.

Все части установки соединяют между собой встык резиновыми трубками. Собранная таким образом система должна быть герметичной. Герметичность проверяют с помощью газометра. Продуваемый через установку хладон 12 выводят за пределы помещения в технологическую емкость.

3.4.3. Проведение анализа

Хладон 12 подают в систему с объемным расходом (0,20±0,01) дм3/мин по реометру. По истечении 30 мин проверяют окраску раствора в барботере 5. Хладон 12 соответствует требованиям настоящего стандарта по кислотности, если первоначальная желтая окраска раствора индикатора не изменится.

После пропускания хладона 12 в течение (1,0±0,1) ч вентиль на баллоне закрывают, отсоединяют барботер 4 с ниппелем и соединительной резиновой трубкой и продувают примерно с тем же объемным расходом воздухом до постоянной массы (результаты взвешивания записывают с точностью до четвертого десятичного знака). Отсоединенный баллон взвешивают повторно.

3.4.4. Обработка результатов

Массовую долю нелетучего остатка (X) в процентах вычисляют по формуле где m - масса барботера 4 с ниппелем и резиновой трубкой после проведения анализа, г;

m1 - масса барботера 4 с ниппелем и резиновой трубкой до проведения анализа, г;

m2 - масса хладона 12, взятая для анализа, г (определяется по убыли массы в баллоне 1).

За результат анализа принимают среднее арифметическое результатов двух параллельных определений, абсолютное расхождение между которыми не превышает допускаемое расхождение, равное 0,0004%.

Допускаемая абсолютная суммарная погрешность результата анализа ±0,0005% при доверительной вероятности P=0,95.

3.5. Определение объемных долей дифторхлорметана и примесей хроматографическим методом.

Предел обнаружения для воздуха - 0,01%, дифторхлорметана - 0,007%, трифторхлорметана - 0,005%, трихлорфторметана - 0,01%, четыреххлористого углерода - 0,06%, дихлорфторметана - 0,01%.

3.5.1. Аппаратура, материалы и реактивы

Хроматограф типа ЛХМ-8МД с детектором по теплопроводности, с порогом чувствительности по пропану в объемных долях не более 1·10-3%, газ-носитель - гелий.

Детектор по теплопроводности типа Г-26 с четырьмя чувствительными элементами, порогом чувствительности объемной доли не более 1·10-3% и чувствительностью не менее 1,25·104 см3/мг - 1,25·102 м3/мг по пропану; газ-носитель - гелий, температура 150 °C, допустимы изменения чувствительности в течение 5 сут не более 10%.

Потенциометр самопишущий типа КСП-4 по ГОСТ 7164 с диапазоном измерения от 0 до 1,0 мВ.

Колонка хроматографическая длиной 5 м, внутренним диаметром 3 мм.

Секундомер 2-го класса точности, предел измерения 30 мин, цена деления 0,2, погрешность не более ±0,6 с.

Манометр образцовый по ТУ 25-05-1664-74, класс точности 0,4, предел измерения 1 МПа (10 кгс/см2), погрешность не более ±0,004 МПа (0,04 кгс/см2).

Баллон стальной по ГОСТ 9731 вместимостью 40 дм3.

Редуктор гелиевый типа Г-70 по ТУ 26-05-196-74.

Линейка металлическая по ГОСТ 427, диапазон измерения 0-300 мм, цена деления 1 мм, погрешность измерения не более ±0,1 мм.

Лупа типа ЛИ-3-10x по ГОСТ 25706.

Интегратор электронный.

Термометр лабораторный по ГОСТ 28498-90, диапазон измерения 0-100 °C, цена деления 1 °C, погрешность измерения не более ±1 °C.

Эксикатор по ГОСТ 25336.

Чашка выпарительная по ГОСТ 9147.

Набор сит с сетками по ГОСТ 6613.

Баня водяная.

Шкаф сушильный 2-В-151.

Весы лабораторные общего назначения с наибольшими пределами взвешивания 200 г и 5 кг, погрешностью ±0,0003 г и ±0,5 г соответственно.

Гелий, х.ч.

Силохром марки С-120, фракция с размером частиц от 0,35 до 0,50 мм.

Бис-2-цианэтиловый эфир.

Ацетон по ГОСТ 2603, х.ч.

Углерод четыреххлористый по ГОСТ 20288, х.ч.

Дифтордихлорметан по ГОСТ 19212 хроматографически чистый (определение по данной методике).

Фтортрихлорметан.

Фтордихлорметан с массовой долей основного вещества не менее 99%.

Дифторхлорметан по ГОСТ 8502*.
______________
* На территории Российской Федерации действует ГОСТ 8502-93. - Примечание изготовителя базы данных.

Допускается применение других средств измерений с метрологическими характеристиками и оборудования с техническими характеристиками не хуже, а также реактивов по качеству не ниже вышеуказанных.

Допускается применение серийного хроматографа любой марки отечественного образца с техническими характеристиками не ниже рекомендованных. При этом условия анализа подбирают согласно конструктивным особенностям хроматографа.

3.4.1-3.5.1. (Измененная редакция, Изм. N 1).

3.5.2. Подготовка к проведению анализа

3.5.2.1. Приготовление сорбента

Силохром С-120 отсеивают от пыли, отбирая фракцию частиц размером от 0,35 до 0,50 мм, сушат в сушильном шкафу при температуре (130±10) °C в течение 3 ч и охлаждают. Взвешивают 20% от массы носителя бис-2-цианэтилового эфира (результат взвешивания записывают с точностью до второго десятичного знака), растворяют в 120 см3 ацетона и полученным раствором заливают силохром С-120 так, чтобы раствор полностью покрыл носитель. Для равномерной пропитки смесь осторожно перемешивают стеклянной палочкой в течение 10 мин и выпаривают Ацетон на горячей бане, постоянно перемешивая, до рассыпчатого состояния и полного исчезновения запаха ацетона. Набивают колонку согласно инструкции, прилагаемой к хроматографу. Проверяют герметичность газовых линий хроматографа по образцовому манометру согласно инструкции по эксплуатации хроматографа.

3.5.2.2. Стабилизация колонки

Колонки при отсоединенном детекторе стабилизируют при температуре 70 °C и объемном расходе потока гелия 50 см3/мин в течение 3 ч.

3.5.2.1, 3.5.2.2. (Измененная редакция, Изм. N 1).

3.5.2.3. Кондиционирование колонки

Кондиционирование колонки проводят путем ввода пробы в условиях анализа не менее пяти раз.

3.5.3. Условия проведения анализа и режим работы хроматографа

Условия окружающей среды должны соответствовать условиям нормальной работы хроматографа, указанным в инструкции по эксплуатации прибора.

Количество сорбента, необходимого для одной колонки, - не менее 16,1 г.

Плотность набивки колонки - не менее 0,44 г/см3.

Температура термостата колонок - 60 °C.

Температура термостата детектора - 60 °C.

Температура термостата испарителя - 75 °C.

Объемный расход газа-носителя гелия - 50 см3/мин.

Скорость движения диаграммной ленты - 600 мм/ч.

Рабочий ток моста - 130 мА.

Шкалы потенциометра - от 1 до 100 мВ.

Номинальный объем дозы крана-дозатора - 0,50 см3 (градуирование гравиметрическим методом с погрешностью до четвертого десятичного знака).

Время продувки крана-дозатора анализируемой пробой - 1,5 мин.

Объемный расход анализируемой пробы при продувке крана-дозатора - 60 см3/мин.

Продолжительность снятия одной хроматограммы - 18,5 мин.

Пример хроматограммы приведен на черт. 2.

Черт.2. - Хроматограмма искусственной смеси дифтордихлорметана

Хроматограмма искусственной смеси дифтордихлорметана

1 - воздух;

2 - трифторхлорметан; 3 - дифтордихлорметан; 4 - дифторхлорметан; 5 - трихлорфторметан; 6 - дихлорфторметан; 7 - четыреххлористый углерод


Черт.2

3.5.4. Градуировка хроматографа

Градуировку хроматографа для газовых компонентов (компонент - хладон 12) проводят по искусственным смесям в диапазоне концентраций, близких к технологическим, приготовленным манометрическим методом в баллонах под давлением.

Суммарная относительная погрешность приготовления градуировочной смеси заданной концентрации компонента не должна превышать ±8%. Допускается приготовление градуировочной смеси другими способами с суммарной относительной погрешностью ее приготовления не выше установленной в настоящем стандарте.

Для жидких компонентов готовят искусственные смеси гравиманометрическим методом (четыреххлористый углерод-гелий, хладон 12-гелий) с суммарной относительной погрешностью приготовления ±9%.

Для определения относительных градуировочных коэффициентов готовят не менее 8 искусственных смесей концентраций, близких к технологическим, снимают по три параллельные хроматограммы при условиях, указанных в п.3.5.3, и вычисляют относительные градуировочные коэффициенты (K1) по формуле где C1 и C - объемные доли определяемого компонента и дифтордихлорметана, %;

S1 и S - площади пиков определяемого компонента и дифтордихлорметана, см2.

Для четыреххлористого углерода относительный градуировочный коэффициент вычисляют по средним значениям двух хроматограмм, полученным при анализе двух смесей (четыреххлористый углерод - гелий, хладон 12 - гелий), подставляя соответствующие значения объемных долей и площадей пиков в формулу.

Полученные значения относительных градуировочных коэффициентов используют при расчете хроматограммы анализируемого хладона 12.

Относительные градуировочные коэффициенты проверяют при смене сорбента, после ремонта хроматографа, при переходе на другую модель хроматографа, при изменении условий хроматографирования и детектирования.

3.5.5. Проведение анализа

После установления рабочих параметров хроматографа, стабильной нулевой линии на шкале 1 мВ и после градуировки хроматографа приступают к анализу.

Соединяют баллон с анализируемой пробой вентилем вниз с краном-дозатором. Устанавливают кран-дозатор в положение "отбор пробы", открывают баллон и продувают анализируемую пробу в течение 1,5 мин с объемным расходом (60±5) см3/мин. Затем вводят пробу в колонку, одновременно включают секундомер и закрывают вентиль баллона.

После регистрации пиков воздуха и трифторхлорметана шкалу регистрации переключают на 100 мВ и регистрируют дифтордихлорметан. Затем переключают шкалу на 1 мВ для регистрации последующих компонентов.

Относительное время удерживания компонентов относительно дифтордихлорметана, время удерживания которого принято 1,00 (черт. 2):

воздух

0,59

трифторхлорметан

0,69

дифторхлорметан

1,65

фтортрихлорметан

2,50

фтордихлорметан

4,42

четыреххлористый углерод

8,00


Каждый раз после смены сорбента необходимо проверять время удерживания компонентов и относительные градуировочные коэффициенты по искусственным смесям, близким к технологическим.

3.5.6. Обработка результатов

Объемные доли хладона 12 и примесей определяют по площадям пиков, используя метод внутренней нормализации с относительными градуировочными коэффициентами. Площадь пика вычисляют как площадь треугольника путем умножения ширины пика, измеренной на половине высоты, на высоту и на показание шкалы регистратора. Ширину пика измеряют от внешней стороны одной линии, прочерченной пером потенциометра, до внутренней стороны другой. Высоту отсчитывают от прямой, соединяющей нулевую линию до пика и после него, с помощью линейки. Среднюю линию проводят параллельно основанию пика.

Допускается определять площадь пика с помощью электронного интегратора.

Объемную долю каждого компонента (Xi) в процентах вычисляют по формуле где Si - площадь пика определяемого компонента, см2;

Ki - градуировочный коэффициент определяемого компонента;

- сумма произведений площадей пиков на градуировочные коэффициенты, соответствующие каждому определяемому компоненту, см2.
За результат анализа принимают среднее арифметическое результатов двух параллельных определений, абсолютное допускаемое расхождение (di) между которыми не превышает значений, указанных в табл.2.

Таблица 2

Компонент

Объемная доля, Ci, %

di, %

Воздух

0,015

0,0013

Трифторхлорметан

0,007

0,0006

Дифторхлорметан

0,019

0,0011

Фтордихлорметан

0,095

0,0036

Фтортрихлорметан

0,034

0,0040

Дифтордихлорметан

99,7

0,002

Четыреххлористый углерод

0,130

0,0200

Сумма примесей

0,3

0,0200

в том числе сумма примесных хладонов

0,155

0,0019



Допускаемая абсолютная суммарная погрешность результата анализа (±Ci) при доверительной вероятности P=0,95 указана в табл.3.

Таблица 3

Компонент

Объемная доля, Ci, %

, %

Воздух

0,015

0,002

Трифторхлорметан

0,007

0,002

Дифторхлорметан

0,019

0,002

Фтордихлорметан

0,095

0,008

Фтортрихлорметан

0,034

0,004

Дифтордихлорметан

99,7

0,03

Четыреххлористый углерод

0,13

0,03

Сумма примесей

0,3

0,03

в том числе сумма примесных хладонов

0,155

0,01

3.6. Определение массовой доли воды

Определение проводят по ГОСТ 24614. Перед началом определения систему продувают не менее чем 5 дм3 хладона 12 с объемным расходом (0,20±0,01) дм3/мин.

За результат анализа принимают среднее арифметическое результатов двух параллельных определений, абсолютное расхождение между которыми не превышает допускаемое расхождение, равное 0,6·10-4%.

Допускаемая абсолютная суммарная погрешность результата анализа ±0,4·10-4% при доверительной вероятности P=0,95.

Допускается применение других средств измерения с метрологическими характеристиками не ниже предусмотренных ГОСТ 24614. При возникновении разногласий в оценке качества продукта применяют средства измерений, предусмотренные ГОСТ 24614.

Допускается использование стандартного реактива Фишера после истечения гарантийного срока при его положительной реакции на воду.

3.5.3-3.6. (Измененная редакция, Изм. N 1).

4. ТРАНСПОРТИРОВАНИЕ И ХРАНЕНИЕ

4.1. Хладон 12 в баллонах транспортируют транспортом всех видов в соответствии с правилами перевозки опасных грузов, действующими на транспорте данного вида, при транспортировании по железной дороге груза в специализированных контейнерах - в соответствии с условиями погрузки и крепления грузов, утвержденными МПС СССР. Виды отправок - мелкие и повагонные. Транспортирование хладона 12 в цистернах проводится в соответствии с "Правилами перевозок грузов". Ч.2, разд.41, § 1, утвержденными МПС СССР.

Хладон 12 перевозится аналогично хладону 22 согласно приложению 2 "Сборника правил перевозок и тарифов железнодорожного транспорта Союза ССР".

4.2. Баллоны по ГОСТ 15860 вместимостью 50 дм3 формируют в пакеты в соответствии с ГОСТ 26663, ГОСТ 24597, ГОСТ 21650 на плоских поддонах по ГОСТ 26381. Длина пакета 1240 мм, ширина 1040 мм, высота 1350 мм, масса 1032 кг, количество баллонов в пакете - 12.

4.3. Хладон 12 хранят в соответствии с правилами Госпроматомнадзора.

4.1-4.3. (Измененная редакция, Изм. N 1).

5. ГАРАНТИИ ИЗГОТОВИТЕЛЯ

5.1. Изготовитель гарантирует соответствие качества хладона 12 требованиям настоящего стандарта при соблюдении условий транспортирования и хранения.

5.2. Гарантийный срок хранения хладона 12 - один год со дня изготовления.

ПРИЛОЖЕНИЕ (справочное). Ориентировочные значения относительных коэффициентов:

ПРИЛОЖЕНИЕ
Справочное

воздух

2,14

трифторхлорметан

1,42

дифторхлорметан

1,32

фтортрихлорметан

1,23

фтордихлорметан

1,37

четыреххлористый углерод

1,08





официальное издание
М.: ИПК Издательство стандартов, 1997