Бром технический ГОСТ 454-76
Бром технический. Технические условия (с Изменениями N 1, 2, 3) ГОСТ 454-76
ГОСТ 454-76
Группа Л11
ГОСУДАРСТВЕННЫЙ СТАНДАРТ СОЮЗА ССР
БРОМ ТЕХНИЧЕСКИЙ
Технические условия
Bromine for industrial use. Specifications
ОКП 21 1292
Дата введения 1978-01-01
ИНФОРМАЦИОННЫЕ ДАННЫЕ
1. РАЗРАБОТАН И ВНЕСЕН Министерством химической промышленности СССР
РАЗРАБОТЧИКИ
Ю.Д.Некрасов, Г.В.Погорельская, Г.Р.Залкинд, Н.Ф.Приходько, Л.И.Крылова, Т.В.Сапожникова, С.Л.Савенко, Л.Д.Бражник
2. УТВЕРЖДЕН И ВВЕДЕН В ДЕЙСТВИЕ Постановлением Государственного комитета стандартов Совета Министров СССР от 29.12.76 N 2912
3. ВЗАМЕН ГОСТ 454-70
4. Периодичность проверки - 5 лет
5. ССЫЛОЧНЫЕ НОРМАТИВНО-ТЕХНИЧЕСКИЕ ДОКУМЕНТЫ
|
Обозначение НТД, на который дана ссылка |
Номер пункта, подпункта |
|
ГОСТ 12.1.005-88 |
2а.2; 2а.4 |
|
ГОСТ 12.1.007-76 |
2а.2 |
|
3.3.1 |
|
|
ГОСТ 1770-74 |
3.3.1; 3.4.1 |
|
3.5.1 |
|
|
ГОСТ 3560-73 |
4.2 |
|
3.5.1 |
|
|
3.3.1 |
|
|
ГОСТ 4166-76 |
3.5.1 |
|
ГОСТ 4212-76 |
3.5.1 |
|
3.5.1 |
|
|
3.3.1 |
|
|
3.3.1 |
|
|
ГОСТ 4919.1-77 |
3.3.1 |
|
3.6.1 |
|
|
3.3.1 |
|
|
ГОСТ 9147-80 |
3.4.1; 3.5.1 |
|
3.6.1 |
|
|
ГОСТ 14192-96 |
4.3 |
|
ГОСТ 18573-86 |
4.2 |
|
ГОСТ 19433-88 |
4.3 |
|
ГОСТ 19908-90 |
3.4.1 |
|
ГОСТ 25336-82 |
3.3.1; 3.4.1; 3.5.1, 3.6.1 |
|
ГОСТ 25794.3-83 |
3.3.1 |
|
ОСТ 16.0.801.397-87* |
3.4.1 |
6. Ограничение срока действия снято по протоколу Межгосударственного Совета по стандартизации, метрологии и сертификации (ИУС 11-12-94)
7. ПЕРЕИЗДАНИЕ (октябрь 1997 г.) с Изменениями N 1, 2, 3, утвержденными в январе 1982 г., январе 1987 г., сентябре 1988 г. (ИУС 4-82, 4-87, 12-88)
Настоящий стандарт распространяется на технический бром, изготовляемый для нужд народного хозяйства и экспорта.
Формула: Br2
Относительная молекулярная масса (по международным атомным массам 1971 г.) - 159,808.
1. МАРКИ И ТЕХНИЧЕСКИЕ ТРЕБОВАНИЯ
1.1a. Бром должен быть изготовлен в соответствии с требованиями настоящего стандарта по технологическому регламенту, утвержденному в установленном порядке.
(Введен дополнительно, Изм. N 1).
1.1. В зависимости от применения бром выпускают двух марок:
А - для производства витаминов, лекарственных средств;
Б - для производства красителей, фреонов, витаминов, реактивов, бромирующих агентов и других целей.
(Измененная редакция, Изм. N 2, 3).
1.2. По физико-химическим показателям бром должен соответствовать нормам, указанным в таблице.
(Измененная редакция, Изм. N 1, 2, 3).
2а. ТРЕБОВАНИЯ БЕЗОПАСНОСТИ
2а.1. Бром - невоспламеняющееся вещество и не поддерживает горения, при повышенных температурах может гореть в атмосфере водорода, является сильным окислителем.
2а.2. Предельно допустимая концентрация паров брома в воздухе рабочей зоны производственных помещений - 0,5 мг/м3 по ГОСТ 12.1.005. В соответствии с ГОСТ 12.1.007бром относится ко 2-му классу опасности.
2а.3. Аналитические работы, связанные с выделением брома, проводят в вытяжном шкафу.
2а.4. Рабочие помещения должны быть оборудованы приточно-вытяжной вентиляцией, обеспечивающей чистоту воздуха в соответствии с ГОСТ 12.1.005.
Разд.2а. (Введен дополнительно, Изм. N 2).
2. ПРАВИЛА ПРИЕМКИ
2.1. Бром принимают партиями. Партией считают любое количество брома, однородного по своим показателям качества, оформленного одним документом о качестве, но не более суточной выработки.
Документ о качестве должен содержать:
наименование предприятия-изготовителя или его товарный знак;
наименование продукта и его марку;
номер партии;
дату изготовления;
массу нетто;
обозначение настоящего стандарта;
результаты проведенных анализов.
(Измененная редакция, Изм. N 1, 3).
2.2. Для контроля качества брома на соответствие его показателей требованиям настоящего стандарта отбирают 5% единиц упаковок, но не менее чем 10 флаконов при партии, состоящей менее чем из 200 флаконов, и не более 20 - при партии более 400 флаконов.
При отгрузке брома в контейнерах пробу отбирают от каждого контейнера.
Для определения массовой доли воды в броме марки Б отбирают из выборки 10 флаконов.
(Измененная редакция, Изм. N 3).
2.3. При получении неудовлетворительных результатов анализа хотя бы по одному из показателей проводят повторный анализ на удвоенной выборке. Результаты повторного анализа распространяются на всю партию.
2.4. Массовые доли органических веществ, нелетучих веществ, сульфатов и воды определяются периодически в каждой 10-й партии.
При получении неудовлетворительных результатов периодических испытаний испытания переводят в приемо-сдаточные до получения удовлетворительных результатов на 5 партиях.
(Введен дополнительно, Изм. N 3).
3. МЕТОДЫ АНАЛИЗА
3.1. Отбор проб
3.1.1. Пробу из флаконов отбирают стеклянным пробоотборником, представляющим собой пробирку с отверстием на расстоянии 80 мм от дна, или пипеткой. Из контейнера пробу отбирают при помощи трубки из фторопласта или стекла.
(Измененная редакция, Изм. N 3).
3.1.2. Отобранные точечные пробы соединяют вместе, тщательно перемешивают и среднюю пробу не менее 0,2 дм3 помещают в чистую сухую стеклянную банку с притертой пробкой или флакон. На банку или флакон наклеивают этикетку с указанием наименования продукта, номера партии, даты отбора пробы.
(Измененная редакция, Изм. N 3).
3.2. Определение массовой доли брома
Массовую долю брома (X) в процентах вычисляют по формуле
где X1 - массовая доля хлора, определяемая по п.3.3, %;
X2 - массовая доля органических веществ, определяемая по п.3.4, %;
X3 - массовая доля нелетучих веществ, определяемая по п.3.4, %;
X4 - массовая доля сульфатов, определяемая по п.3.5, %;
X5 - массовая доля воды, определяемая по п.п.3.6, 3.7, %.
(Измененная редакция, Изм. N 2).
3.3. Определение массовой доли хлора
3.3.1. Аппаратура, реактивы и растворы
Потенциометр высокоомный класса точности не ниже 1,5 или другой прибор, обеспечивающий необходимую точность измерения.
Электроды серебряный и хлорсеребряный.
Весы лабораторные общего назначения 2-го класса точности с наибольшим пределом взвешивания 200 г.
Колба 1(2)-250-2 по ГОСТ 1770.
Колба Кн-1 (2)-250-19/26 ТС по ГОСТ 25336.
Стаканчик СВ-34/12 по ГОСТ 25336.
Пипетки вместимостью 5 (10) и 50 см3.
Бюретка вместимостью 5 или 10 см3.
Стакан Н-1 (2)-250 ТХС по ГОСТ 25336.
Цилиндры 1-5(10) и 1(3)-25 по ГОСТ 1770.
Калий бромистый по ГОСТ 4160, ч.д.а., раствор с молярной концентрацией эквивалента 0,05 моль/дм3 (0,05 н.).
Кислота азотная по ГОСТ 4461, х.ч., разбавленная 1:1.
Натрий сернистокислый 7-водный по НД с массовой долей в растворе 3%.
магний сернокислый 7-водный по ГОСТ 4523, ч.д.а.
Серебро азотнокислое по ГОСТ 1277, раствор с молярной концентрацией эквивалента 0,05 моль/дм3 (0,05 н.), приготовленный по ГОСТ 25794.3.
Метиловый оранжевый, приготовленный по ГОСТ 4919.1.
Вода дистиллированная по ГОСТ 6709.
3.3.2. Проведение анализа
Пипеткой или цилиндром берут 2,5-3 см3 брома, помещают в предварительно взвешенный (результат взвешивания в граммах записывают с точностью до четвертого десятичного знака) стаканчик, содержащий 25 см3 раствора бромистого калия, взвешивают с той же точностью и количественно переносят в колбу вместимостью 250 см3.
Раствор кипятят до обесцвечивания, охлаждают до комнатной температуры, прибавляют 2-3 капли раствора сернистокислого натрия, количественно переносят в мерную колбу, доводят объем раствора водой до метки и тщательно перемешивают.
50 см3 полученного раствора пипеткой переносят в стакан для титрования, прибавляют 50 см3 воды, 3-5 г сернокислого магния, подкисляют азотной кислотой по метиловому оранжевому до кислой реакции, перемешивают, опускают в пробу электроды и титруют из бюретки азотнокислым серебром, прибавляя по 0,1 см3 раствора. После каждой порции титранта смывают носик бюретки 2-3 каплями воды. По мере приближения к "скачку" потенциала Азотнокислое серебро прибавляют по каплям.
При наличии в пробе остаточного бромида вначале будет оттитровываться бромид-ион, а затем хлорид-ион. Конец титрования определяют по максимальному изменению потенциала индикаторного электрода.
3.3.1, 3.3.2. (Измененная редакция, Изм. N 2, 3).
3.3.3. Обработка результатов
Массовую долю хлора (X1) в процентах вычисляют по формуле
где V1 - объем раствора азотнокислого серебра концентрации точно 0,05 моль/дм3, израсходованный на титрование бромид-иона, см3;
V2 - объем раствора азотнокислого серебра концентрации точно 0,05 моль/дм3, израсходованный на титрование бромид- и хлорид-ионов, см3;
0,001773 - масса хлорида, соответствующая 1 см3 раствора азотнокислого серебра, концентрации точно 0,05 моль/дм3, г;
m - масса навески продукта, г.
За результат анализа принимают среднее арифметическое двух параллельных определений, допускаемые расхождения между которыми не должны превышать 0,005% при доверительной вероятности P=0,95.
(Измененная редакция, Изм. N 2,3).
3.4. Определение массовой доли органических и нелетучих веществ
3.4.1. Применяемые приборы и посуда
Электропечи сопротивления лабораторные по ОСТ 16.0.801.397*.
Эксикатор по ГОСТ 25336.
Баня водяная.
Шкаф сушильный по ГОСТ 13474.
Чаша кварцевая по ГОСТ 19908 или фарфоровая по ГОСТ 9147.
Цилиндр по ГОСТ 1770.
(Измененная редакция, Изм. N 3).
3.4.2. Проведение анализа
10 см3 (31,2 г) брома помещают в кварцевую чашу вместимостью 50 см3, предварительно прокаленную до постоянной массы и взвешенную (результат взвешивания, в граммах, записывают с точностью до четвертого десятичного знака), выпаривают на водяной бане при температуре (50±5) °С.
После испарения брома остаток органических и нелетучих веществ взвешивают, затем кварцевую чашу с содержимым нагревают в сушильном шкафу в течение 30 мин при 150 °С и прокаливают в течение 20 мин в электрической печи при 600 °С, охлаждают в эксикаторе. Затем взвешивают нелетучий остаток (результат взвешивания, в граммах, записывают с точностью до четвертого десятичного знака).
3.4.3. Обработка результатов
Массовую долю органических веществ (X2) в процентах вычисляют по формуле
где m - масса навески продукта, г;
m1 - масса органических и нелетучих веществ, г;
m2 - масса нелетучих веществ, г.
Массовую долю нелетучих веществ (X3) в процентах вычисляют по формуле
где m - масса навески продукта, г;
m2 - масса нелетучих веществ, г.
За результат анализа принимают среднее арифметическое двух параллельных определений, допускаемые расхождения между которыми не должны превышать 0,002% при доверительной вероятности P=0,95.
3.4.2, 3.4.3. (Измененная редакция, Изм. N 2).
3.5. Определение массовой доли сульфатов в пересчете на SO4
3.5.1. Аппаратура, реактивы и растворы
Чаша выпарительная 3 по ГОСТ 9147.
Колба Кн-1 (2)-250-19/26 ТХС по ГОСТ 25336.
Баня водяная.
Натрий хлористый по ГОСТ 4233, с массовой долей в растворе 0,25%.
барий хлористый по ГОСТ 4108, с массовой долей в растворе 20%.
кислота соляная по ГОСТ 3118, с массовой долей в растворе 25%.
Натрий сернокислый безводный по ГОСТ 4166, раствор 0,15 г/дм3 SO42-; готовят по ГОСТ 4212, 1 см3 раствора содержит 0,15 мг SO42-.
(Измененная редакция, Изм. N 2).
3.5.2. Проведение анализа
2 см3 брома смешивают с 2 см3 раствора хлористого натрия в фарфоровой чашке и выпаривают досуха на водяной бане. Остаток растворяют в 20 см3 воды, переводят в коническую колбу вместимостью 50 см3, смешивают с 1 см3 соляной кислоты и 3 см3 раствора хлористого бария.
Продукт считают соответствующим стандарту, если наблюдаемая через 15 мин опалесценция анализируемого раствора не будет интенсивнее опалесценции раствора сравнения, приготовленного одновременно с анализируемым и содержащего в таком же объеме:
для марки А - 0,12 мг SO42-;
для марки Б - 0,6 мг SO42-;
1 см3 соляной кислоты и 3 см3 раствора хлористого бария.
3.6. Определение массовой доли воды (для марки А)
3.6.1. Аппаратура и реактивы
Кислота ортофосфорная по ГОСТ 6552, х.ч.
Ртуть.
Ангидрид (Магний хлорнокислый).
Пятиокись фосфора.
Азот газообразный по ГОСТ 9293 или другой инертный газ.
Влагомер типа "Корунд" с датчиком, представляющим собой трубчатый чувствительный элемент (черт.1).
Черт.1. Влагомер типа "Корунд" с датчиком
1 - корпус чувствительного элемента; 2 - платиновые геликоидальные электроды; 3 - гидроскопическая пленка (пятиокись фосфора)
Черт.1
Прибор вторичный типа КСП-4 или КСП-2 со значением шкалы 10 мВ.
Склянка Тищенко по ГОСТ 25336. Одна из склянок заполнена ангидроном, другая - пятиокисью фосфора (примерно на 3/4 объема).
Колба стеклянная вместимостью 25-50 см3 для пробы брома с краном-дозатором вместимостью 20-30 мкл (черт.2).
Весы лабораторные типа ВЛА-200 2-го класса точности с наибольшим пределом взвешивания 200 г.
(Измененная редакция, Изм. N 2, 3).
3.6.2. Подготовка к анализу
3.6.2.1. Градуировка крана-дозатора
Чистый сухой кран-дозатор с помощью колбы для пробы брома заполняют ртутью, затем ртуть из крана-дозатора сливают в стаканчик, предварительно взвешенный (результат взвешивания в граммах записывают с точностью до четвертого десятичного знака).
Операцию заполнения и слива ртути повторяют 10 раз, после этого производят взвешивание стаканчика с той же точностью и определяют массу ртути в кране-дозаторе.
Черт.2. Колба стеклянная для пробы брома с краном-дозатором. Положения крана-дозатора при заполнении из колбы и при дозировании
I - положение крана-дозатора при заполнении из колбы
II - положение крана-дозатора при дозировании
1 - колба вместимостью 20-25 см3; 2 - загрузочный сифон; 3 - дозирующий объем вместимостью 20-25 мкл; 4 - воронка; 5 - испаритель
Черт.2
Массу брома в кране-дозаторе (m1) в миллиграммах вычисляют по формуле
где m - масса ртути в кране-дозаторе, мг.
Определение массы брома в кране-дозаторе следует проводить не менее 5 раз.
3.6.2.2. Определение воды в броме проводят на установке (см. черт.3). Установку проверяют на герметичность и выводят на режим, при этом ток электролиза должен соответствовать паспортным данным к прибору.
Черт.3. Установка для определения воды в броме

1 - баллон с азотом; 2 - редуктор; 3 - вакуумный резиновый шланг; 4 - склянка Тищенко (с ангидроном); 5 - склянка Тищенко (с P2O5); 6 - вакуумный шланг, 7 - стеклянный переходник; 8 - фторопластовый шланг диаметром 2 мм; 9 - испаритель; 10 - колба для брома; 11 - чувствительные элементы; 12 - ротаметр; 13 - штуцер для груши; 14 - кран-дозатор
Черт.3
3.6.3. Проведение анализа
Сняв загрузочный сифон, помещают в колбу около 25 см3 брома, колбу закрывают, и кран-дозатор устанавливают в положение для подачи осушенного азота. После выхода прибора на рабочий режим кран-дозатор устанавливают в положение 1 (см. черт.2) и при помощи груши заполняют дозирующий объем бромом. По достижении уровня высоты столба брома в воронке 10-15 мм, поворотом пробки устанавливают кран-дозатор в положение 2 "дозирование" (см. черт.2), при этом фиксированный объем брома потоком сухого азота подается на чувствительные элементы датчика прибора "Корунд".
Вторичный прибор при этом фиксирует пик. Значение площади пика соответствует содержанию воды в продукте. Пики взвешивают (результат взвешивания в граммах записывают с точностью четвертого десятичного знака).
Для определения массы 1 мм2 площади диаграммной бумаги одновременно с пиком вырезают площадку размером 50х100 мм и взвешивают с той же точностью. Массу 1 мм2 диаграммной бумаги (m2) в миллиграммах вычисляют по формуле
где m - масса площадки, мг.
(Измененная редакция, Изм. N 2).
3.6.4. Обработка результатов
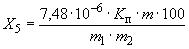
Массу воды в броме (X5) в процентах вычисляют по формуле
где
- масса воды, соответствующая 1 мм2 площади пика, при длине шкалы вторичного прибора 250 мм и скорости движения диаграммной ленты 240 мм/ч, мг;
Kп - коэффициент загрубления прибора;
m - масса площади пика, мг;
m1 - масса брома в кране-дозаторе, мг;
m2 - масса 1 мм2 диаграммной бумаги, мг.
Примечание. При изменении шкалы и скорости диаграммной ленты вторичного прибора массу воды, соответствующую 1 мм2 площади пика, (m3) в миллиграммах вычисляют по формуле
где l - длина шкалы прибора, мм;
v - скорость диаграммной ленты, мм/ч.
За результат анализа принимают среднее арифметическое двух параллельных определений, допускаемые расхождения между которыми не должны превышать 15% относительно среднего результата определения вычисляемой концентрации при доверительной вероятности P=0,95.
(Измененная редакция, Изм. N 2, 3).
3.7. Определение массовой доли воды в броме (для марки Б)
3.7.1. Аппаратура
Прибор для измерения сопротивления (омметр, авометр) с конечным значением шкалы 106Ом, погрешность прибора ±4%.
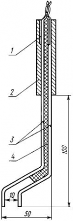
Электрод-индикатор (черт.4).
Черт.4. Электрод-индикатор
1 - подводящие провода; 2 - корпус; 3 - пластины из платины, ниобия, тантала или их сплавов шириной 5 мм; 4 - фторопластовая изоляция
Черт.4
3.7.2. Проведение испытания
Электрод-индикатор подсоединяют к клеммам омметра и опускают во флакон с бромом так, чтобы электрод-индикатор был погружен на глубину не более 2-3 мм.
После этого электрод перемещают по периметру флакона.
Продукт соответствует требованиям стандарта, если не наблюдается отклонение стрелки омметра, при этом массовая доля воды в броме составляет 0,04% при анализе брома в 8 из 10 флаконов.
3.7.1, 3.7.2. (Измененная редакция, Изм. N 2, 3).
3.8. При проведении анализов допускается применение импортной лабораторной посуды и аппаратуры по классу точности и реактивов по качеству не ниже отечественных.
(Введен дополнительно, Изм. N 3).
4. УПАКОВКА, МАРКИРОВКА, ТРАНСПОРТИРОВАНИЕ И ХРАНЕНИЕ
4.1. Технический бром упаковывают в чистые сухие флаконы вместимостью 1 дм3, с навинчивающейся крышкой из фторопласта или полиэтилена низкого давления с фторопластовым или полиэтиленовым (одноразового использования) вкладышем или в эмалированные металлические контейнеры вместимостью 0,4 и 4 м3.
Контейнеры должны удовлетворять "Правилам устройства и безопасной эксплуатации сосудов, работающих под давлением", Госгортехнадзора СССР.
Масса нетто брома в контейнере вместимостью 0,4 м3 - (1000±15) кг.
Испытание заполненного бромом контейнера на герметичность проводят реакцией на аммиак.
(Измененная редакция, Изм. N 2, 3).
4.2. Флаконы с бромом упаковывают в ящики по ГОСТ 18573 (тип II-1 номер 9-1 или 4-1) с толщиной боковой стенки, дна и крышки 16 мм. В пространство между флаконами закладывают две поперечные и две продольные дощечки, засыпают вермикулитом или аналогичным поглощающим материалом. Торцы ящика с трех сторон должны быть обтянуты стальной лентой по ГОСТ 3560.
Масса нетто брома в ящике с шестью флаконами - (18,0±0,3) кг, с девятью флаконами - (27,0±0,5) кг.
(Измененная редакция, Изм. N 3).
4.3. Транспортная маркировка - по ГОСТ 14192 с нанесением манипуляционных знаков: на контейнерах - "Герметичная упаковка", на ящиках "Крюками не брать", "Хрупкое. Осторожно"; знаков опасности по ГОСТ 19433 (основного - черт.8, класс 8, дополнительного - черт.6а, классификационный шифр 8361, серийный номер ООН 1744). Дополнительно наносят следующие данные, характеризующие продукт:
наименование предприятия-изготовителя;
наименование продукта и его марки;
номер партии и дата изготовления;
масса нетто;
обозначение настоящего стандарта.
4.4. Бром, упакованный в ящики, транспортируют железнодорожным, автомобильным и водным транспортом в крытых транспортных средствах, контейнеры - открытым подвижным составом в соответствии с правилами перевозок опасных грузов, действующими на транспорте данного вида.
Крепление контейнеров с бромом производят в соответствии с правилами погрузки и крепления грузов, утвержденными Министерством путей сообщения.
По железной дороге ящики с бромом транспортируют повагонно.
4.3, 4.4. (Измененная редакция, Изм. N 1, 2).
4.5. (Исключен, Изм. N 1).
4.6. Бром хранят в крытых складских помещениях или на огражденной площадке в упаковке изготовителя.
(Измененная редакция, Изм. N 3).
5. ГАРАНТИИ ИЗГОТОВИТЕЛЯ
5.1. Изготовитель гарантирует соответствие брома требованиям настоящего стандарта при соблюдении условий транспортирования и хранения.
(Измененная редакция, Изм. N 2).
5.2. Гарантийный срок хранения брома - год со дня изготовления.
5.3. (Исключен, Изм. N 1).
Разд.6. (Исключен, Изм. N 2).
официальное издание
М.: ИПК Издательство стандартов, 1997
