Уголь активный рекуперационный ГОСТ 8703-74
Уголь активный рекуперационный. Технические условия (с Изменениями N 1, 2, 3, 4) ГОСТ 8703-74
ГОСТ 8703-74
Группа Л42
ГОСУДАРСТВЕННЫЙ СТАНДАРТ СОЮЗА ССР
УГОЛЬ АКТИВНЫЙ РЕКУПЕРАЦИОННЫЙ
Технические условия
Activated carbon for recuperation. Specifications
ОКП 21 6212
Дата введения 1976-01-01
ИНФОРМАЦИОННЫЕ ДАННЫЕ
1. РАЗРАБОТАН И ВНЕСЕН Министерством химической промышленности
2. УТВЕРЖДЕН И ВВЕДЕН В ДЕЙСТВИЕ Постановлением Государственного комитета стандартов Совета Министров СССР от 17.05.74 N 1217
3. Срок проверки - 1996 г., периодичность проверки - 5 лет
4. ВЗАМЕН ГОСТ 8703-58
5. ССЫЛОЧНЫЕ НОРМАТИВНО-ТЕХНИЧЕСКИЕ ДОКУМЕНТЫ
|
Обозначение НТД, на который дана ссылка |
Номер пункта, подпункта |
|
ГОСТ 12.1.007-76 |
7.1 |
|
ГОСТ 12.3.009-76 |
7.6 |
|
ГОСТ 2226-88 |
5.1 |
|
ГОСТ 3956-76 |
4.4.1 |
|
ГОСТ 5445-79 |
3.1; 4.1; 4.2 |
|
4.4.1 |
|
|
4.4.1 |
|
|
ГОСТ 9570-84 |
5.4 |
|
ГОСТ 12597-67 |
2.1 |
|
ГОСТ 14192-96 |
5.2 |
|
ГОСТ 16187-70 |
2.1 |
|
ГОСТ 16188-70 |
2.1 |
|
ГОСТ 16189-70 |
4.1 |
|
ГОСТ 16190-70 |
2.1, 4.4.4 |
|
ГОСТ 19360-74 |
5.1 |
|
ГОСТ 21133-87 |
5.4 |
|
ГОСТ 24597-81 |
5.4 |
|
ГОСТ 25336-82 |
4.4.1 |
|
ГОСТ 26663-85 |
5.4 |
|
ГОСТ 28498-90 |
4.4.1 |
6. Ограничение срока действия снято Постановлением Госстандарта СССР от 24.06.91 N 969
7. ПЕРЕИЗДАНИЕ (июль 1998 г.) с Изменениями N 1, 2, 3, 4, утвержденными в августе 1980 г., ноябре 1985 г., январе 1987 г. и июне 1991 г. (ИУС 11-80, 2-86, 4-87, 9-91)
Настоящий стандарт распространяется на активный рекуперационный уголь, изготовляемый из каменноугольной пыли и связующих веществ грануляцией и последующей парогазовой активацией. Активный рекуперационный уголь предназначается для улавливания паров органических летучих растворителей для возврата их в производство и других целей.
1. МАРКИ
1.1. В зависимости от назначения активный рекуперационный уголь изготовляют трех марок:
АР-А - для улавливания паров растворителей температурой кипения выше 100 °С (Толуол, ксилол, амилацетат и другие);
АР-Б - для улавливания паров растворителей температурой кипения 60-100 °С (Бензол, дихлорэтан, бензин, Этанол и другие);
АР-В - для улавливания паров растворителей температурой кипения ниже 60 °С (метанол, метиленхлорид, Ацетон и другие).
2. ТЕХНИЧЕСКИЕ ТРЕБОВАНИЯ
2.1. По физико-химическим показателям активный рекуперационный уголь должен соответствовать требованиям и нормам, указанным в таблице.
|
Наименование показателя |
Норма для марки |
Метод анализа |
||
|
АР-А |
АР-Б |
АР-В |
||
|
ОКП |
ОКП |
ОКП |
||
|
1. Внешний вид |
Гранулы цилиндрической формы темно-серого |
Визуально |
||
|
2. Фракционный состав, %: |
По ГОСТ 16187 |
|||
|
массовая доля остатка на сите: |
||||
|
N 50, не более |
1,0 |
1,0 |
1,0 |
|
|
N 28, не менее |
85,0 |
85,0 |
83,0 |
|
|
N 10, не более |
13,0 |
13,0 |
15,0 |
|
|
на поддоне, не более |
1,0 |
1,0 |
1,0 |
|
|
3. Прочность гранул на истирание, %, не менее |
68 |
73 |
75 |
По ГОСТ 16188 |
|
4. Насыпная плотность, г/дм3, не более |
550 |
580 |
600 |
По ГОСТ 16190 |
|
5. Равновесная активность по толуолу, г/дм3, не менее |
145 |
135 |
110 |
По п.4.4 |
|
6. Массовая доля воды, %, не более |
10 |
10 |
10 |
По ГОСТ 12597 |
(Измененная редакция, Изм. N 1, 3, 4).
3. ПРАВИЛА ПРИЕМКИ
3.1. Правила приемки - по ГОСТ 5445 со следующими дополнениями:
масса партии - не более 5 т;
в документе о качестве указывают количество упаковочных единиц в партии, без указания массы брутто;
объем выборки - 10% от партии, но не менее 10 упаковочных единиц, если партия менее 100 упаковочных единиц.
Разд.3. (Измененная редакция, Изм. N 2).
4. МЕТОДЫ АНАЛИЗА
4.1. Методы отбора проб - по ГОСТ 5445 со следующими дополнениями:
Точечные пробы угля отбирают металлическим совком пятикратным внесением в струю угля при пересыпании или пробоотборником (черт.1a), состоящим из двух вставленных друг в друга свободно вращающихся труб с окнами для захвата продукта, из наконечника и ручки.
1 - наконечник; 2 - наружная труба; 3 - внутренняя труба; 4 - ручка
Черт.1а
Пробоотборник с закрытыми окнами погружают по вертикальной оси на 3/4 глубины мешка и поворотом ручки открывают окна.
После взятия пробы окна закрывают обратным поворотом ручки.
Объединенную пробу тщательно перемешивают и сокращают методом квартования или по ГОСТ 16189.
Объем средней лабораторной пробы должен быть не менее 1 дм3.
(Измененная редакция, Изм. N 4).
4.2. Среднюю лабораторную пробу помещают в сухую, чистую, плотно закрывающуюся банку, на которую наклеивают этикетку с обозначениями по ГОСТ 5445.
4.1, 4.2. (Измененная редакция, Изм. N 2).
4.3. (Исключен, Изм. N 2).
4.4. Определение равновесной активности по толуолу
Определение проводят пропусканием паровоздушной смеси, содержащей пары толуола, при заданных условиях через слой угля в динамической трубке. Паровоздушную смесь пропускают до полного насыщения угля парами толуола.
4.4.1. Аппаратура, приборы и реактивы:
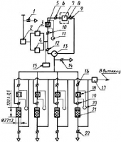
прибор динамический типа ДП-2 на любое количество трубок (черт.1);
1 - зажим на линии сброса; 2 - фильтр для очистки воздуха; 3, 4 - осушительные колонки; 5 - капилляр
или диафрагма газового реометра; 6, 9, 10, 12, 14, 16, 22 - двухходовые краны; 7 - испаритель;
8 - термостат; 11, 20 - реометры; 13 - смеситель; 15 - измеритель относительной влажности;
17 - поглотительный бачок; 18 - капилляры или диафрагмы перед динамическими трубками;
19 - трехходовые краны; 21 - динамические трубки
Черт.1
Черт.2
термостат для динамических трубок, показанный на черт.3, или любой другой конструкции, обеспечивающей температуру термостатирования динамических трубок;
Установка динамической трубки в термостате
Черт.3
интерферометр типа ЛИР-1, хроматограф или термохимический газоанализатор типа ПГФ2М1 модификации ИЗГУ 4, отградуированные по парам толуола;
секундомер;
склянка 1 (3)-0,50 по ГОСТ 25336;
термометр по ГОСТ 28498;
Толуол по ГОСТ 5789;
силикагель технический по ГОСТ 3956 или осушитель типа ОС-2;
метиленовый синий или другой краситель;
Вода дистиллированная по ГОСТ 6709.
(Измененная редакция, Изм. N 4).
4.4.2. Подготовка к анализу
Динамический прибор устанавливают на рабочее место и присоединяют к сети сжатого воздуха или к вакуумной линии через отвод "в вытяжку". Предварительно заполняют осушителем колонки 3 и 4, а поглотительный бачок - активным углем, реометры - до нулевой отметки дистиллированной водой, подкрашенной метиленовым синим или другим красителем.
Для проверки герметичности динамического прибора закрывают все краны, соединяющие прибор с атмосферой, присоединяют к крану 14 склянку с водой и открывают кран 14 и кран на склянке. При герметичности прибора вытекание воды из склянки должно быстро прекратиться. В другом случае отключают отдельные части системы и путем поочередного присоединения к ним склянки обнаруживают место нарушения герметичности.
После проверки прибора на герметичность испаритель наполняют толуолом таким образом, чтобы верхний резервуар был заполнен на 3/4, а в нижнем резервуаре уровень толуола доходил до верхнего края скоса трубки верхнего резервуара. Такое заполнение обеспечивает постоянство поверхности испарения. Заполненный испаритель взвешивают (результат взвешивания в граммах записывают с точностью до второго десятичного знака), помещают в термостат, представляющий собой снабженную термометром ванночку с водой, температура в которой должна поддерживаться в пределах 15-25 °С для обеспечения необходимой концентрации, и выдерживают 15 мин для выравнивания температуры в испарителе и термостате.
Затем проводят градуировку газового реометра по количеству воздуха, направляемого в испаритель и обеспечивающего заданную концентрацию паров толуола в паровоздушной смеси, поступающей на все динамические трубки. Для этого, открыв краны 10, 6 и 9, пропускают через испаритель поток воздуха, контролируемый реометром 11. По истечении 15-20 мин краны закрывают, испаритель отсоединяют и взвешивают (результат взвешивания в граммах записывают с точностью до второго десятичного знака).
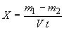
Концентрацию паровоздушной смеси (X) в мг/дм3 вычисляют по формуле
где m1 - масса испарителя с толуолом до пропускания воздуха, мг;
m2 - масса испарителя с толуолом после пропускания воздуха, мг;
V - суммарный объем расхода паровоздушной смеси в реометре 11, дм3/мин;
t - время пропускания воздуха через испаритель, мин.
Определение концентрации паровоздушной смеси повторяют при четырех-пяти различных объемах расхода воздуха, отмеченных реометром 11. По полученным данным строят градуировочный график, на котором по оси абсцисс откладывают разность уровней манометрической жидкости (h) в реометре 11, а на оси ординат - соответствующую концентрацию (X) паров толуола. По графику определяют значение h в реометре 11, соответствующее заданной концентрации (10 мг/дм3).
При влажности угля, превышающей 1%, пробу перед анализом сушат в течение 1 ч при (110±5) °С в слое высотой не более 5 мм в сушильном шкафу или под инфракрасной лампой.
(Измененная редакция, Изм. N 4).
4.4.3. Проведение анализа
Берут параллельно две навески массой 5 г каждая, взвешивают (результаты взвешиваний в граммах записывают с точностью до второго десятичного знака), помещают в динамические трубки сечением (5,0±0,5) см2, снова взвешивают с той же погрешностью, закрывают прошлифованными пустотелыми стеклянными пробками и устанавливают в динамический прибор. До установления рабочего режима трехходовые краны должны быть повернуты на поглотительный бачок.
Заполненный толуолом по п.4.4.2 и взвешенный испаритель помещают в термостат, в котором устанавливают ту же температуру, которая была при градуировке газового реометра.
В динамическом приборе устанавливают заданный рабочий режим:
концентрация паров толуола в паровоздушном потоке - (10±1) мг/дм3;
удельный объемный расход паровоздушной смеси в каждой динамической трубке - (1,00±0,01) дм3/(мин·см2);
температура паровоздушного потока и окружающей среды (20±2) °С;
температура термостатирования динамических трубок (15±1) °С; относительная влажность воздушного потока не более 30%.
Открывают зажим на линии сброса, кран сети сжатого воздуха и кран 12. Поворотом кранов 16 устанавливают приблизительно расход воздуха в каждой динамической трубке.
Открывают краны 6 и 9 и краном 10 направляют в испаритель воздух в объеме, установленном по градуировочному графику. Одновременно включают секундомер для определения времени работы испарителя.
Кранами 16 регулируют точно заданный удельный объемный расход паровоздушной смеси в каждой динамической трубке.
Поворотом трехходовых кранов направляют паровоздушную смесь в динамические трубки и одновременно отмечают время по секундомеру. После подключения динамических трубок в течение 20 мин один-два раза проверяют концентрацию паров толуола в паровоздушной смеси подключением газоанализатора через кран 14. По истечении 20 мин работы динамических трубок концентрацию паров толуола в паровоздушной смеси за ними проверяют через каждые 5 мин путем подключения газоанализатора к каждой трубке краном 22.
При получении одинаковых показателей газоанализатора в двух последующих замерах концентрации паровоздушной смеси за каждой из трубок насыщение проводят еще 10 мин. Концентрация паровоздушной смеси за трубками не должна отличаться от заданной более чем на 1 мг/дм3.
Динамические трубки и испаритель отключают и взвешивают. По убыли массы испарителя определяют среднюю концентрацию паров толуола за время анализа по формуле п.4.4.2.
4.4.1-4.4.3. (Измененная редакция, Изм. N 2).
4.4.4. Обработка результатов
Равновесную активность по толуолу (X1) в г/дм3 для каждой навески вычисляют по формуле
где m - навеска угля, г;
m1 - масса динамической трубки с углем до насыщения, г;
m2 - масса динамической трубки с углем после насыщения, г;
p - насыпная плотность, определенная по ГОСТ 16190, г/дм3.
За результат анализа принимают среднее арифметическое значение двух параллельных определений, абсолютное расхождение между которыми не превышает допускаемое расхождение, равное 8 г/дм3.
(Измененная редакция, Изм. N 4).
5. УПАКОВКА, МАРКИРОВКА, ТРАНСПОРТИРОВАНИЕ И ХРАНЕНИЕ
5.1. Активный рекуперационный уголь упаковывают в четырех-, пятислойные бумажные мешки по ГОСТ 2226, марок НМ с полиэтиленовым вкладышем (ГОСТ 19360), ПМ, ВМ или ВМП. Масса нетто мешка с углем - не более 25 кг. Бумажные мешки с углем зашивают машинным способом пряжей из вискозного волокна или аналогичной пряжей по нормативно-технической документации.
Полиэтиленовые вкладыши заваривают или зашивают машинным способом.
(Измененная редакция, Изм. N 2).
5.1а. (Исключен, Изм. N 2).
5.2. Транспортная маркировка - по ГОСТ 14192 с нанесением основных, дополнительных, информационных надписей и манипуляционного знака "Беречь от влаги".
На каждую упаковочную единицу прикрепляют бумажный ярлык или наносят трафарет со следующими дополнительными надписями:
условное наименование или товарный знак предприятия-изготовителя;
наименование продукта и его марка;
номер партии;
масса брутто и нетто;
дата изготовления;
обозначение настоящего стандарта.
(Измененная редакция, Изм. N 2).
5.3. (Исключен, Изм. N 2).
5.4. Активный рекуперационный уголь перевозят транспортом всех видов, кроме воздушного, в крытых транспортных средствах, в соответствии с правилами перевозки грузов, действующими на транспорте данного вида. Уголь по железной дороге и при водных перевозках транспортируют пакетами в соответствии с ГОСТ 26663 и ГОСТ 24597.
Для пакетирования мешков с углем применяют поддоны типа 4ЯРК или 4ССО по ГОСТ 9570 или поддон N 3 по ГОСТ 21133. По железной дороге уголь транспортируют повагонными отправками.
(Измененная редакция, Изм. N 2, 4).
5.5. Активный рекуперационный уголь хранят в упаковке предприятия-изготовителя в чистых закрытых складах изготовителя (потребителя), защищенных от попадания грунтовых вод и атмосферных осадков.
(Измененная редакция, Изм. N 4).
5.6. Транспортирование и хранение активного рекуперационного угля совместно с продуктами, выделяющими в атмосферу пары и газы, не допускается.
5.7. При хранении мешки с углем укладывают в штабеля высотой не более 2 м.
(Измененная редакция, Изм. N 1).
5.8. Активный рекуперационный уголь не относится к опасным грузам.
(Измененная редакция, Изм. N 4).
6. ГАРАНТИИ ИЗГОТОВИТЕЛЯ
6.1. Изготовитель гарантирует соответствие продукта требованиям настоящего стандарта при соблюдении условий транспортирования и хранения.
6.2. Гарантийный срок хранения продукта - три года со дня изготовления.
6.1, 6.2. (Измененная редакция, Изм. N 2).
7. ТРЕБОВАНИЯ БЕЗОПАСНОСТИ
7.1. Активный рекуперационный уголь не обладает вредными для организма человека свойствами, но пыль, образующаяся при его пересыпании, попадая в легкие человека, может вызвать заболевания.
Предельно допускаемая концентрация пыли активного рекуперационного угля в воздухе рабочих помещений - 10 мг/м3.
Активный уголь относится к 3-му классу опасности по ГОСТ 12.1.007.
(Измененная редакция, Изм. N 4).
7.2. При работе с активным рекуперационным углем необходимо пользоваться противопылевым респиратором типа Ф-62М или У-2К. Места пересыпания активного рекуперационного угля должны быть оборудованы в соответствии с нормами противопожарной безопасности: отсутствие источников открытого огня, наличие вытяжной вентиляции и т.д.
7.3. Активный рекуперационный уголь - пожаровзрывоопасен. Это горючее вещество с температурой тления в слое 455 °С. Аэровзвесь не воспламеняется до концентрации 800 г/м3. Температура самовоспламенения пыли в состоянии аэрозоля 729 °С.
(Измененная редакция, Изм. N 4).
7.4. При загорании уголь следует тушить водой со смачивателем или пеной.
(Измененная редакция, Изм. N 4).
7.5. При работе с толуолом необходимо соблюдать требования инструкции по работе с огнеопасными и вредными химическими веществами.
7.6. Погрузочно-разгрузочные работы должны выполняться с соблюдением требований ГОСТ 12.3.009.
(Введен дополнительно, Изм. N 2).
официальное издание
М.: ИПК Издательство стандартов, 1998
