Новости Нефтегазовая пром.
Выставки Наука и технология


Смолы ионообменные. Аниониты ГОСТ 20301-74

Смолы ионообменные. Аниониты. Технические условия (с Изменениями N 1-5) ГОСТ 20301-74

ГОСТ 20301-74

Группа Л91

     
ГОСУДАРСТВЕННЫЙ СТАНДАРТ СОЮЗА ССР

СМОЛЫ ИОНООБМЕННЫЕ. АНИОНИТЫ

Технические условия

Ion-exchange resins. Anionites. Specifications



ОКП 22 2710

Срок действия с 01.01.76
до 01.01.96*
______________________________ 
* Ограничение срока действия снято
по протоколу N 5-94 Межгосударственного Совета
по стандартизации, метрологии и сертификации.
(ИУС N 11/12, 1994 год).

     
     
ИНФОРМАЦИОННЫЕ ДАННЫЕ

1. РАЗРАБОТАН И ВНЕСЕН Министерством химической промышленности СССР

РАЗРАБОТЧИКИ

А.Б.Пашков, К.М.Салдадзе, Н.Л.Лукьянова, Т.А.Полякова

2. УТВЕРЖДЕН И ВВЕДЕН В ДЕЙСТВИЕ Постановлением Государственного комитета стандартов Совета Министров СССР от 25.11.74 N 2598

3. Срок проверки - 1993 год

4. ВЗАМЕН ГОСТ 13504-68, ГОСТ 5.1342-72

5. ССЫЛОЧНЫЕ НОРМАТИВНО-ТЕХНИЧЕСКИЕ ДОКУМЕНТЫ

Обозначение НТД, на которую дана ссылка

Номер пункта

ГОСТ 1770-74

3.7.1, 3.9.1, 3.10.1

ГОСТ 2226-88

4.1

ГОСТ 3118-77

3.8.1, 3.9.1, 3.10.1

ГОСТ 4108-72

3.9.1

ГОСТ 4204-77

3.7.1

ГОСТ 4233-77

3.9.1

ГОСТ 4328-77

3.10.1

ГОСТ 4919.1-77

3.8.1, 3.9.1

ГОСТ 5850-72

3.8.1, 3.9.1

ГОСТ 6038-79

3.10.1

ГОСТ 6709-72-->ГОСТ 6709-72

3.7.1, 3.8.1, 3.9.1, 3.10.1

ГОСТ 9147-80

3.8.1, 3.10.1

ГОСТ 10896-78

3.5, 3.7.2, 3.10.3

ГОСТ 10898.1-84

1.2

ГОСТ 10898.4-84

1.2, 3.4

ГОСТ 10898.5-84

1.2

ГОСТ 10900-84

1.2, 3.3

ГОСТ 12026-76

3.8.1, 3.10.1

ГОСТ 12868-77

1.2

ГОСТ 14192-77

4.2

ГОСТ 15615-79

1.2

ГОСТ 17338-88

1.2

ГОСТ 17811-78

4.1

ГОСТ 18225-72

4.1

ГОСТ 20255.1-84

1.2, 3.5

ГОСТ 20255.2-84

1.2, 3.6

ГОСТ 20292-74

3.10.1

ГОСТ 20490-75

3.7.1

ГОСТ 22180-76

3.7.1

ГОСТ 25336-82

3.7.1, 3.9.1, 3.10.1

ГОСТ 25794.2-83

3.7.1

ГОСТ 27544-87

3.7.1

6. Срок действия продлен до 01.01.96 Постановлением Госстандарта СССР от 04.09.89 N 2687

7. ПЕРЕИЗДАНИЕ (август 1992 г.) с Изменениями N 1, 2, 3, 4, 5, утвержденными в апреле 1976 г., апреле 1979 г., ноябре 1979 г., декабре 1985 г., сентябре 1989 г. (ИУС 6-76, 5-79, 1-80, 3-86, 12-89)

Настоящий стандарт распространяется на сильноосновные и слабоосновные аниониты, представляющие собой высокомолекулярные полимерные соединения трехмерной гелевой и макропористой структуры, содержащие функциональные группы основного характера.

Аниониты предназначены для очистки, извлечения, концентрирования и разделения веществ в различных областях народного хозяйства, для аналитических целей, а также в качестве катализаторов в органическом синтезе.

Применение какой-либо марки анионита в пищевой или фармацевтической промышленности в каждом отдельном случае должно быть согласовано с Министерством здравоохранения СССР.

Аниониты являются невзрывоопасными и невоспламеняющимися продуктами и не оказывают токсического воздействия на организм человека.

(Измененная редакция, Изм. N 5).

1. МАРКИ И ТЕХНИЧЕСКИЕ ТРЕБОВАНИЯ

1.1. В зависимости от свойств и назначения устанавливаются марки анионитов, указанные в табл.1.

Таблица 1

Марки

Функциональные группы

Ионная форма товарного анионита

Тип

Структура

Рекомендуемые области применения

Сильноосновные

АВ-17-8

Четвертичные триметилам- мониевые группы

Хлоридная

Полимери-
зационная

Гелевая

Водоподготовка, гидрометаллургия, очистка сточных и возвратных вод, химическая промышленность

АВ-17-8чС

То же

Гидрокси-
льная

То же

То же

Глубокая очистка воды, химическая, фармацевтичес- кая и пищевая промышленность

АВ-17-10П/0,8

"

Хлоридная

"

Макропористая

Водоподготовка

АВ-29-12П

Четвертичные диметилэтанолам- мониевые группы

Хлоридная

"

То же

Водоподготовка, очистка сточных вод

АВ-16ГС

Вторичные и третичные алифатические аминогруппы и пиридиновые группы

Солевая

Поликонден-
сационный

Гелевая

Очистка сахарных сиропов

Слабоосновные

АН-18-10П

Третичные алифатаческие аминогруппы

Хлоридная

Полимери-
зационный

Макропористая

Очистка сточных вод, водоподготовка, очистка формалина, извлечение цианистых комплексов золота из пульп

АН-1

Вторичные и третичные аминогруппы пониженной основности

Сернокис-
лая

Поликонден-
сационный

Гелевая

Очистка гидролизатов растительного сырья

АН-2ФН

Вторичные, третичные алифатические аминогруппы и фенольные группы

Хлоридная

То же

То же

Водоподготовка

АН-31 

Вторичные и третичные алифатические аминогруппы

То же

"

"

Водоподготовка, гидрометаллургия

ЭДЭ-10П

Вторичные, третичные и четвертичные алифатические аминогруппы

"

"

"

Водоподготовка, производство гетерогенных ионитовых мембран



По Общесоюзному классификатору промышленной и сельскохозяйственной продукции код ОКП для каждой марки анионита должен соответствовать указанному в табл.1а.

Таблица 1а

Марки

Код ОКП

АВ-17-8 высший сорт

22 2713 0101

АВ-17-8 первый сорт

22 2713 0102

АВ-17-8чС высший сорт

22 2713 0601 

АВ-17-8чС первый сорт

22 2713 0602

АВ-16ГС

22 2712 0200

АВ-29-12П

22 2713 1400

АВ-17-10П/0,8 

22 2713 0300

АН-1

22 2711 0100

АН-2ФН

22 2711 0400

АН-31

22 2711 0300

ЭДЭ-10П

22 2711 0200

АН-18-10П

22 2713 0700


(Измененная редакция, Изм. N 3, 4, 5).

1.2. По физико-химическим показателям аниониты должны соответствовать требованиям и нормам, указанным в табл.2 и 3.

Таблица 2

Сильноосновные аниониты

Наименование показателя

Норма для марки

Метод испытания

АВ-17-8

АВ-17-8чС

АВ-16ГС

АВ-29-12П

АВ-17-10П/0,8

Высший
сорт 

1-й сорт

Высший
сорт

1-й сорт

Первая категория качества

1. Внешний вид

Сферические зерна 
от светло-желтого 
до темно-коричневого цвета

Сфери- ческие зерна желтовато- корич- невого цвета

Сфери- ческие зерна от белого до желтого цвета

Матовые сферические зерна слабо-желтого цвета

По п.3.2

2. Грануло- метрический состав:







а) размер зерен, мм

0,315-1,25

0,315-1,25

0,4-1,25

0,4-1,25

0,4-1,6

0,315-1,25

0,315-1,25

По ГОСТ 10900-84 
и п.3.3 настоящего стандарта

б) объемная доля рабочей фракции, %, не менее

95

93

95

94

92

92

90



в) эффективный размер зерен, мм, не более

0,4-0,6

0,6

0,6

0,6

0,6

0,65

-

По ГОСТ 10900-84

г) коэффициент однородности, не более

1,7

1,8

1,6

1,6

1,6

1,6

-

По ГОСТ 10900-84

3. Массовая доля влаги, %

35-50

35-50

-

-

60-65

55-65

40-60

По ГОСТ 10898.1-84

4. Удельный объем в ОН-форме, см3

3,0±0,3

3,0±0,3

3,0±0,3

3,0±0,3

4,4±0,4

3,7±0,2

4,2±0,5

По ГОСТ 
10898.4-84и п.3.4 настоящего стандарта

5. Удельная поверхность, м2

-

-

-

-

-

22-55

15-40

По ГОСТ 10898.5-84

6. Полная статическая обменная емкость, ммоль/см3(мг·экв/см3), не менее

1,15

1,00

1,20

1,14

-

0,90

0,80

По ГОСТ 20255.1-84* и п.3.5 настоящего стандарта

_______________
* Действует ГОСТ 20255.1-89 (здесь и далее).

7. Равновесная статическая обменная емкость, ммоль/см3(мг·экв/см3), не менее

1,00

0,90

1,10

1,10

-

0,60

0,70

То же

8. Динамическая обменная емкость, моль/см3 (г·экв/см3), не менее

700

690

1050

980

:

-

600

-

По ГОСТ 20255.2-84* и п.3.6 настоящего стандарта

_______________
* Действует ГОСТ 20255.2-89 (здесь и далее).

9. Окисляемость фильтрата в пересчете на Кислород, мг/л, не более

0,55

0,65

0,60

0,70

-

-

-

По п.3.7

10. Осмотическая стабильность, %, не менее

92,5

85

91

88

80

90

-

По ГОСТ 17338-88

11. Массовая доля иона хлора, мг/см3, не более

-

-

0,400

0,400

-

-

-

По ГОСТ 15615-79

12. Массовая доля щелочи, ммоль/г, (мг·экв/г) не более

-

-

0,0005

0,0005

-

-

-

По п.3.8

13. Массовая доля железа, %, не более

-

-

0,03

0,03

-

-

-

По ГОСТ 12868-77

14. Содержание анионита в СО3-форме, %, не более

-

-

6,0

7,0

-

-

-

По п.3.9

15. Обесцвечи- вающая способность, %, не менее

-

-

-

-

85

-

-

По п.3.10


Примечание. При выражении полной статической обменной емкости и равновесной статической обменной емкости анионитов в миллимоль на кубический сантиметр и динамической обменной емкости анионитов в моль на кубический метр под словом "моль" имеется в виду молярная масса эквивалента аниона М (Сl-, NO3, HCO-3, HSO-4, 1/2CO32, 1/2SO- и т.д.).

Таблица 3


Слабоосновные аниониты

Наименование показателя

Норма для марок

Метод испытания

АН-1

АН-2ФН

АН-31

ЭДЭ-10П

АН-18-10П

Первая категория качества

1. Внешний вид

Серо-
ватые или белые зерна непра- вильной формы

Коричневые или красновато- коричневые зерна непра- вильной формы

Желтые зерна непра- вильной формы

Красновато- коричневые зерна непра- вильной формы

Сфери-
ческие зерна белого и светло-
желтого цвета

По п.3.2

2. Гранулометрический состав:









а) размер зерен, мм

0,4-2,0

0,4-2,0

0,4-2,0

0,4-2,0

0,315-1,25

По ГОСТ 10900-84

б) объемная доля рабочей фракции, %, не менее 

95

92

92

92

92

По ГОСТ 10900-84

в) эффективный размер зерен, мм, не более







По ГОСТ 10900-84

г) коэффициент однородности, не более







По ГОСТ 10900-84

3. Массовая доля влаги, %

40-50

Не более 10

Не более 5

Не более 5

35-60

По ГОСТ 10898.1-84

4. Удельный объем в ОН-форме, см3

2,7±0,3

2,6±0,3

3,3±0,2

3,4±0,2

3,2±0,3

По ГОСТ 10898.4-84 
и п.3.4 настоящего стандарта

5. Удельная поверхность, м2

-

-

-

-

20-45

По ГОСТ 10898.5-84

6. Полная статическая обменная емкость, ммоль/см3 (мг·экв/см3), не менее

1,7

2,6

2,6

2,3

1,0

По ГОСТ 20255.1-84 
и п.3.5 настоящего стандарта

7. Динамическая обменная емкость, моль/см3 (г·экв/см3), не менее

1100

1700

1280

1000

-

По ГОСТ 20255.2-84 
и п.3.6 настоящего стандарта

8. Окисляемость фильтрата в пересчете на Кислород, мг/дм3, не более

-

3,5

-

3,8

-

По п.3.7

9. Осмотическая стабильность, %, не менее

74

50

85

82

95

По ГОСТ 17338-88


Примечание. При выражении полной статической обменной емкости и динамической обменной емкости анионитов в миллимоль на кубический сантиметр и в моль на кубический метр соответственно под словом "моль" имеется в виду молярная масса эквивалента аниона М ((Сl-, NO3, HCO-3, HSO-4, 1/2CO32, 1/2SO42- и т.д.)..

(Измененная редакция, Изм. N 4, 5).

1.3. Замороженные аниониты перед применением выдерживают в помещении при 10-20 °С в таре изготовителя в течение 2-4 суток.

2. ПРАВИЛА ПРИЕМКИ

2.1. Приемка анионита производится партиями. За партию принимают количество анионита одной марки, однородного по своим качественным показателям и сопровождаемого одним документом о качестве. Масса партии в пересчете на сухой продукт должна быть не более 5 т.

Каждая партия анионита должна сопровождаться документом, удостоверяющим соответствие ее требованиям настоящего стандарта.

Документ должен содержать следующие реквизиты:

наименование и товарный знак предприятия-изготовителя;

наименование и марку анионита;

номер партии;

дату изготовления;

массу нетто;

количество мест партии;

результаты проведенных испытаний или подтверждение о соответствии партии анионита требованиям настоящего стандарта; 

обозначение настоящего стандарта.

2.2. Для проверки качества поступившей партии, количество мест в которой превышает 15 единиц продукции, пробу отбирают не менее, чем от 20% единиц продукции, при меньшем количестве - от трех единиц продукции.

2.1, 2.2. (Измененная редакция, Изм. N 4).

2.3. Испытание анионитов марок АВ-17-8 и АВ-17-8чС по показателям пп.1, 2б, 4-15 табл.2 и марок АН-1, АН-2ФН, АН-31, ЭДЭ-10П по показателям пп.4-9 табл.3 проводят периодически на каждой 15-й партии. Испытания анионитов марок АВ-17-8 и АВ-17-8чС по показателям пп.2в, г, табл.2 проводят периодически на каждой 100-й партии.

Испытание анионита марки АВ-16ГС по п.2, в и г проводят по требованию потребителя.

(Измененная редакция, Изм. N 5).

2.4. При получении неудовлетворительных результатов испытаний хотя бы по одному из показателей по нему проводят повторные испытания проб, отобранных от удвоенного количества мест той же партии.

Результаты повторных испытаний распространяются на всю партию.

3. МЕТОДЫ ИСПЫТАНИЙ

3.1. Пробы анионита отбирают щупом длиной около 1000 мм и диаметром 20-25 мм, изготовленным из нержавеющей стали. Щуп погружают до дна мешка или бидона по вертикальной оси. Допускается отбор проб анионита из мешков с помощью вакуумного пробоотборника (см. чертеж приложения). Отобранные пробы соединяют вместе, тщательно перемешивают и отбирают среднюю пробу массой не менее 0,5 кг. Среднюю пробу помещают в чистую сухую банку с плотно закрывающейся пробкой или крышкой, на которую наклеивают этикетку с обозначениями: наименования и марки продукта, номера партии и даты отбора пробы. Перед каждым испытанием среднюю пробу тщательно перемешивают.

3.2. Внешний вид анионита определяют визуально без применения увеличительных приборов. Не допускаются посторонние примеси. В случае присутствия в анионитах марок АВ-17-8 и АВ-17-8чС темных гранул для установления их цвета допускается использование микроскопа или аппарата "Микрофот" с увеличением в 10-20 раз.

Примечание. Наличие в анионите марок АВ-17-8 и АВ-17-8чС единичных непрозрачных белых гранул микропористой структуры не является браковочным показателем.

(Измененная редакция, Изм. N 3, 5).

3.3. Гранулометрический состав определяют по ГОСТ 10900-84 методом мокрого рассева.

(Измененная редакция, Изм. N 4).

3.4. Удельный объем определяют по ГОСТ 10898.4-84. При этом для анионита марки АВ-16ГС в мерный цилиндр вместе с водой добавляют 1-2 см3 0,01%-ного раствора вспомогательного вещества ОП-7 или ОП-10.

100 см3 товарного анионита марки АВ-17-8чС быстро отсасывают на воронке Бюхнера, помещают на фильтровальную бумагу, сложенную в виде плоской коробки так, чтобы толщина слоя анионита не превышала 5 мм, и подсушивают в вакуум-эксикаторе над хлористым кальцием в присутствии твердого едкого натра не более 5 ч до состояния, когда зерна его легко отделяются друг от друга.

(Измененная редакция, Изм. N 1, 5).

3.5. Полную и равновесную статическую обменную емкость определяют по ГОСТ 20255.1-84. При этом для анионита марки АН-1 в качестве раствора электролита применяют раствор серной кислоты концентрации c(1/2H2SO4)=0,1 моль/дм3 (0,1 н.). Анионит марки АВ-17-8чС предварительной подготовке по ГОСТ 10896-78 не подвергается.

Подготовку анионита марки АВ-16ГС проводят по ГОСТ 10896-78; при этом, раствор гидроокиси натрия пропускают до уравнивания концентрации щелочи на входе и выходе из колонки.

(Измененная редакция, Изм. N 3, 4, 5).

3.6. Динамическую обменную емкость определяют по ГОСТ 20255.2-84, при этом:

а) в растворе хлористого натрия концентрации c(NaCI)=0,01 моль/дм3 (0,01 н.) для марки АВ-17-8чС (метод с полной регенерацией ионита), при этом анионит предварительной подготовке не подвергается, и для марок АВ-17-8, АВ-29-12П (метод с заданным расходом регенерирующего вещества);

б) в растворе соляной кислоты концентрации c(НСl)=0,1 моль/дм3 (0,1 н.) для марок АН-1 и АН-2ФН (метод с полной регенерацией ионита);

в) в растворе соляной кислоты концентрации c(НСl)=0,0035 моль/дм3 (0,0035 н.) для марок АН-31, ЭДЭ-10П (метод с заданным расходом регенерирующего вещества).

Растворы при насыщении для анионитов марок АН-1 и АН-2ФН подают снизу вверх. Взрыхление анионитов марок АН-1 и АН-2ФН проводят перед операцией насыщения.

(Измененная редакция, Изм. N 4, 5).

3.7. Определение окисляемости фильтрата в пересчете на Кислород

3.7.1. Реактивы, растворы и посуда:

Калий марганцовокислый по ГОСТ 20490-75, х.ч., раствор концентрации c(1/5KMnO4)=0,01 моль/дм3 (0,01 н.); 1 см3 этого раствора соответствует 0,08 мг кислорода;

Вода дистиллированная по ГОСТ 6709-72-->ГОСТ 6709-72, или деминерализованная, отвечающая требованиям ГОСТ 6709-72-->ГОСТ 6709-72;

кислота серная по ГОСТ 4204-77, х.ч., разбавленная 1:3 дистиллированной водой. Для окисления восстановителей, которые могут быть в кислоте, к ней прибавляют по каплям раствор марганцовокислого калия до появления устойчивой розовой окраски;

кислота щавелевая по ГОСТ 22180-76, х.ч. или ч.д.а., раствор концентрации c(1/2H2C2O4·2H2O)=0,01 моль/дм3 (0,01 н.), готовят по ГОСТ 25794.2-83; допускается использовать стандарт-титр (фиксанал);

цилиндр исполнения 1-4 по ГОСТ 1770-74 вместимостью 100 см3;

колонка стеклянная внутренним диаметром (25±1) мм и высотой не менее 600 мм, в нижнюю часть которой впаян стеклянный фильтр типа ФКП ПОР 250 ХС по ГОСТ 25336-82 или другое фильтрующее устройство, устойчивое к действию кислот и щелочей, не пропускающее зерен ионита более 0,25 мм и обладающее малым сопротивлением фильтрации;

напорная емкость 10-50 дм3;

электроплитка бытовая;

термометр по ГОСТ 28498-90.

Допускается применение импортной аппаратуры по классу точности и реактивов по качеству не ниже указанных в настоящем стандарте.

(Измененная редакция, Изм. N 1, 4, 5).

3.7.2. Проведение испытания

Около 100 см3 анионита, подготовленного по ГОСТ 10896-78 и замеренного после уплотнения мерным цилиндром с погрешностью не более 1 см3, переносят в стеклянную колонку и через него из напорной склянки со скоростью 2 л/ч пропускают 5 дм3 дистиллированной воды в бутыль вместимостью 10 дм3. При определении окисляемости фильтрата анионита марки АВ-17-8чС анионит помещают в стеклянную колонку с рубашкой для обогрева и через него пропускают дистиллированную воду с температурой (60±1) °С.

Содержимое бутыли тщательно перемешивают, 100 см3 фильтрата пипеткой помещают в коническую колбу вместимостью 250 см3, прибавляют 5 см3 раствора серной кислоты и 10 см3 раствора марганцовокислого калия.

Содержимое колбы кипятят на плитке с асбестовой сеткой в течение 10 мин. После этого в колбу прибавляют точно 10 см3 раствора щавелевой кислоты и обесцветившийся раствор титруют раствором марганцовокислого калия до появления устойчивой слабо-розовой окраски. Если раствор при кипячении обесцветился, определение повторяют, взяв 15 или 20 см3 раствора марганцовокислого калия и такое же количество раствора щавелевой кислоты.

В тех же условиях проводят контрольный опыт со 100 см3 дистиллированной воды и теми же количествами реактивов.

(Измененная редакция, Изм.N 4).

3.7.3. Обработка результатов

Окисляемость фильтрата в пересчете на Кислород (X) в мг/дм3 вычисляют по формуле где V - объем раствора марганцовокислого калия концентрации точно c(1/5KMnO4)=0,01 моль/дм3 (0,01 н.), израсходованный на титрование пробы, см3;
V1 - объем раствора марганцовокислого калия концентрации точно c(1/5KMnO4)=0,01 моль/дм3 (0,01 н.), израсходованный на титрование контрольного опыта, см3;

(Измененная редакция, Изм. N4, 5).

3.7.4. За результат испытания принимают среднее арифметическое результатов двух определений, допускаемое расхождение между которыми не должно превышать ±9% от среднего значения при доверительной вероятности P=0,95.

(Введен дополнительно, Изм. N 4).

3.8. Определение содержания щелочи

3.8.1. Реактивы, растворы и посуда:

кислота соляная по ГОСТ 3118-77, х.ч., раствор концентрации c(НСl)=0,01 моль/дм3 (0,01 н.);

фенолфталеин (индикатор) по ГОСТ 5850-72, 0,1%-ный раствор; готовят по ГОСТ 4919.1-77;

Вода дистиллированная по ГОСТ 6709-72-->ГОСТ 6709-72, или деминерализованная, отвечающая требованиям ГОСТ 6709-72-->ГОСТ 6709-72;

бумага фильтровальная лабораторная по ГОСТ 12026-76;

чашка фарфоровая выпарительная по ГОСТ 9147-80;

воронка Бюхнера по ГОСТ 9147-80.

(Измененная редакция, Изм. N 4, 5).

3.8.2. Проведение испытания

Около 50 см3 анионита помещают на воронку Бюхнера, промывают тремя порциями дистиллированной воды по 200 см3, отфильтровывают, переносят на фильтровальную бумагу и подсушивают при комнатной температуре в течение 1-2 ч. Около 10 г анионита в пересчете на сухой продукт взвешивают с погрешностью не более 0,1 г, помещают в коническую колбу вместимостью 250 см3, прибавляют 100 см3 дистиллированной воды, закрывают плотно пригнанной резиновой пробкой и содержимое колбы встряхивают на аппарате в течение 5 ч. Затем анионит отфильтровывают и полученный фильтрат помещают в выпарительную чашку. Фильтрат выпаривают досуха на водяной бане, чашку с сухим остатком помещают в сушильный шкаф и подсушивают при 110-120 °С в течение 25-30 мин, после этого помещают на 2-3 мин в муфельную печь, предварительно нагретую до 800 °С.

Чашку с прокаленным остатком охлаждают в эксикаторе, затем остаток растворяют в 25 см3 свежепрокипяченной дистиллированной воды, прибавляют одну каплю раствора фенолфталеина и титруют раствором соляной кислоты концентрации c(НСl)=0,01 моль/дм(0,01 н.) до исчезновения розовой окраски.

(Измененная редакция, Изм. N 5).

3.8.3. Обработка результатов

Содержание щелочи (X1) в ммоль/г (мг·экв/г) вычисляют по формуле где V - объем раствора соляной кислоты концентрации точно c(НСl)=0,01 моль/дм3 (0,01 н.), израсходованный на титрование, см3;
m - масса подсушенного анионита, г;

W - массовая доля влаги в подсушенном анионите, %.

3.8.4. За результат испытания принимают среднее арифметическое результатов двух определений, допускаемое расхождение между которыми не должно превышать ±15% от среднего значения при доверительной вероятности P=0,95.

(Введен дополнительно, Изм. N 4, 5).

3.9. Определение содержания анионита в CO3-форме

3.9.1. Реактивы, растворы, посуда и приборы:

Натрий хлористый по ГОСТ 4233-77, х.ч., концентрации c(NaCl)=1 моль/дм3 (1 н.);

кислота соляная по ГОСТ 3118-77, х.ч., концентрации c(НСl)=1 моль/дм3 (1 н.);

барий хлористый по ГОСТ 4108-72, х.ч., концентрации c(1/2BaCI2)=2 моль/дм3 (2 н.);

фенолфталеин (индикатор) по ГОСТ 5850-72, 0,1%-ный спиртовой раствор; готовят по ГОСТ 4919.1-77;

метиловый красный (индикатор), 0,2%-ный раствор; готовят по ГОСТ 4919.1-77;

Вода дистиллированная по ГОСТ 6709-72-->ГОСТ 6709-72, свежепрокипяченная или деминерализованная, отвечающая требованиям ГОСТ 6709-72-->ГОСТ 6709-72;

напорная склянка вместимостью 10-50 дм3;

трубка хлоркальциевая ТХ-П-1-22 по ГОСТ 25336-82;

цилиндр исполнения 1-4 по ГОСТ 1770-74 вместимостью 50 см3;

колба мерная исполнения 1-2 по ГОСТ 1770-74 класса точности 1-2 вместимостью 2000 см3;

колонка стеклянная внутренним диаметром 15-30 мм и высотой не менее 400 мм, в нижнюю часть которой впаян стеклянный фильтр типа ФКП ПОР 250 ХС по ГОСТ 25336-82 или другое фильтрующее устройство, устойчивое к действию кислот и щелочей, не пропускающее зерен ионита более 0,25 мм и обладающее малым сопротивлением фильтрации.

Допускается применение импортной аппаратуры по классу точности и реактивов по качеству не ниже указанных в стандарте.

(Измененная редакция, Изм. N 1, 4, 5).

3.9.2. Проведение испытания

Анионит помещают в мерный цилиндр вместимостью 50 см3 и уплотняют постукиванием дна цилиндра по деревянной поверхности.

Около 50 см3 уплотненного анионита, измеренного с погрешностью не более 1 см3, помещают в стеклянную колонку и промывают свежепрокипяченной дистиллированной водой до исчезновения окраски фильтрата в присутствии фенолфталеина.

Затем колонку соединяют резиновой трубкой с напорной склянкой, заполненной раствором хлористого натрия концентрации c(NaCl)=1 моль/дм3 (1 н.) и через анионит пропускают раствор хлористого натрия со скоростью 1 дм3/ч. Фильтрат собирают в мерную колбу вместимостью 2 дм3. Во избежание попадания в фильтрат углекислоты из воздуха колбу закрывают резиновой пробкой с двумя отверстиями, куда вставляют стеклянные трубки, одну из которых соединяют с колонкой, а к другой присоединяют хлоркальциевую трубку, заполненную натронной известью,

Колбу заполняют фильтратом до метки и тщательно перемешивают, 100 см3 фильтрата из мерной колбы помещают в коническую колбу вместимостью 250 см3, прибавляют 20 см3 раствора хлористого бария, 4-5 капель раствора фенолфталеина и содержимое колбы титруют раствором соляной кислоты до исчезновения окраски раствора.

Затем к содержимому колбы прибавляют 5-6 капель раствора метилового красного и титруют раствором соляной кислоты до перехода окраски раствора в розовый цвет, не исчезающий при кипячении.

3.9.3. Обработка результатов

Содержание анионита в CO3-форме (X2) в процентах вычисляют по формуле где E - полная обменная емкость анионита, ммоль/дм3 (мг·экв/дм3)

E=EOH+ECO3 

где EOH- обменная емкость анионита по ОН-группам, ммоль/дм3 (мг·экв/дм3);

ECO3- обменная емкость анионита по СО-группам, ммоль/дм3 (мг·экв/дм3);

где V - объем раствора соляной кислоты концентрации точно c(НСl)=0,1 моль/дм3 (0,1 н.), израсходованный на титрование с индикатором фенолфталеином, см3; где V1 - объем раствора соляной кислоты концентрации точно c(НСl)=0,1 моль/дм3 (0,1 н.), израсходованный на титрование с индикатором метиловым красным, см3.

Примечание. При выражении E, EOH и ECO3 в миллимоль на кубический дециметр под словом "моль" имеется в виду молярная масса эквивалента аниона М (ОН-, 1/2CO32- и т.д.).

(Измененная редакция, Изм. N5).

3.9.4. За результат испытания принимают среднее арифметическое результатов двух определений, допускаемое расхождение между которыми не должно превышать ±13,5% от среднего значения при доверительной вероятности P=0,95.

(Введен дополнительно, Изм. N 4).

3.10. Определение обесцвечивающей способности анионита марки АВ-16ГС

3.10.1. Реактивы, растворы, посуда и приборы:

глюкоза по ГОСТ 6038-79, ч.;

гидроокись натрия по ГОСТ 4328-77;

кислота соляная по ГОСТ 3118-77, х.ч.;

Вода дистиллированная по ГОСТ 6709-72-->ГОСТ 6709-72 или деминерализованная, отвечающая требованиям ГОСТ 6709-72-->ГОСТ 6709-72;

колба мерная исполнения 1, 2 по ГОСТ 1770-74 класса точности 1, 2 вместимостью 200 см3;

цилиндр по ГОСТ 1770-74 исполнения 1, 2 вместимостью 10 см3 и исполнения 1-4 вместимостью 250 см3;

бюретка 7-2-10 по ГОСТ 20292-74;

пипетка 4 или 5-2 по ГОСТ 20292-74;

холодильник обратный по ГОСТ 25336-82;

колба круглодонная по ГОСТ 25336-82 вместимостью 1 дм3;

колба плоскодонная по ГОСТ 25336-82 вместимостью 250 см3;

стакан по ГОСТ 25336-82 вместимостью 100 см3;

воронка стеклянная по ГОСТ 25336-82 конусообразная;

шпатель двойной по ГОСТ 9147-80;

мешалка механическая;

баня водяная;

электроплитка бытовая;

бумага фильтровальная лабораторная по ГОСТ 12026-76;

рН-метр лабораторный любого типа;

фотоэлектроколориметр типа ФЭК-М.

Допускается применение импортной аппаратуры по классу точности и реактивов по качеству не ниже указанных в настоящем стандарте.

(Измененная редакция, Изм. N 1, 2, 5).

3.10.2. Подготовка к испытанию 

а) Приготовление образцового раствора красителя 

200 г глюкозы и 75 г сухого едкого натра растворяют в круглодонной колбе в 500 см3 дистиллированной воды. Допускается пропорциональное уменьшение количества реактивов в 2-4 раза. Смесь нагревают с обратным холодильником на кипящей бане в течение 2 ч. После охлаждения раствор нейтрализуют концентрированной соляной кислотой. Необходимое количество кислоты определяют следующим образом: 1 см3 образцового раствора помещают в стакан, добавляют к нему 100 см3 дистиллированной воды, и нейтрализуют соляной кислотой, добавляя ее из микробюретки до pH 5,5-7,2, замеряемого на pH-метре. Объем кислоты, израсходованный на титрование 1 см3, умножают на объем нейтрализуемого образцового раствора. Приготовленный образцовый раствор красителя служит для получения рабочего раствора. Его хранят не более 10 суток в темном месте при температуре не выше 20 °С.

б) Приготовление рабочего раствора красителя

Для приготовления рабочего раствора красителя 1,9 см3 образцового раствора пипеткой вносят в мерную колбу вместимостью 200 см3 и разбавляют дистиллированной водой. Величина экстинции рабочего раствора должна быть 0,32, что соответствует цветности 20°, величина pH 6,8-7,2. Если значение экстинции более 0,32, то раствор разбавляют дистиллированной водой, при меньшем значении ее добавляют образцовый раствор. Величину экстинции определяют на фотоэлектроколориметре в кювете с толщиной поглощающего свет слоя 10 мм с зеленым светофильтром. Для достижения указанной величины pH раствор нейтрализуют, применяя pH-метр.

3.10.3. Проведение испытания

10 мл анионита, подготовленного по ГОСТ 10896-78, отмеривают цилиндром вместимостью 10 см3, уплотняя постукиванием. Отмеренный анионит отфильтровывают через бумажный фильтр и количественно переносят в плоскодонную колбу. Затем добавляют к нему 200 см3 рабочего раствора красителя. Содержимое колбы перемешивают в течение 4 ч механической мешалкой с частотой вращения 60-80 об/мин.

После этого часть раствора отфильтровывают от гранул анионита, доводят pH фильтрата до значения его в исходном рабочем растворе добавлением 1-2 капель соляной кислоты и измеряют цветность раствора по п.3.10.2, б. Затем определение цветности фильтрата повторяют.

3.10.2, 3.10.3. (Измененная редакция, Изм. N 5).

3.10.4. Обработка результатов

Обесцвечивающую способность анионита (A) в процентах вычисляют по формуле где F1 - экстинция исходного раствора;
F2 - экстинция раствора после обесцвечивания.

3.10.5. За результат испытания принимают среднее арифметическое результатов двух определений, допускаемое расхождение между которыми не должно превышать ±3% от среднего значения при доверительной вероятности P=0,95.

(Введен дополнительно, Изм. N 4).

3.11. (Исключен, Изм. N 4).

4. УПАКОВКА, МАРКИРОВКА, ТРАНСПОРТИРОВАНИЕ И ХРАНЕНИЕ

4.1. Аниониты упаковывают в полиэтиленовые мешки по ГОСТ 17811-78, вложенные в льно-джуто-кенафные мешки по ГОСТ 18225-72 или в мешки из винилискожи.

Горловину мешка заваривают, наружный мешок зашивают машинным способом или завязывают. Масса анионита в мешке не должна превышать 50 кг. Допускается упаковывание анионитов:

в полиэтиленовые бидоны вместимостью 30-60 дм3, которые пломбируют и укладывают в деревянные обрешетки по ГОСТ 12082-82;

в резинокордные контейнеры;

в мешки из прорезиненной ткани;

сухие иониты (с массовой долей влаги не более 10%) и анионита марки АН-1 - в трех-, четырехслойные бумажные мешки по ГОСТ 2226-88, марки НМ с мешками-вкладышами из полиэтиленовой или поливинилхлоридной пленок по нормативно-технической документации;

в контейнеры одноразового использования по нормативно-технической документации.

Анионит марки АВ-18-8чС упаковывают в полиэтиленовые бочки, бидоны, фляги, обеспечивающие сохранность продукции. По требованию потребителя продукцию в полиэтиленовой таре дополнительно упаковывают в деревянную обрешетку.

4.2. Каждое место партии маркируют по ГОСТ 14192-77* с указанием дополнительных данных:

_______________
* Действует ГОСТ 14192-96. 


наименования или товарного знака предприятия-изготовителя;

наименования и марки анионита;

номера партии;

даты изготовления;

массы нетто для марки АВ-17-8чС;

обозначения настоящего стандарта. 

4.1, 4.2. (Измененная редакция, Изм. N 4, 5).

4.3. (Исключен, Изм. N 4).

4.4. Аниониты транспортируют в крытых транспортных средствах. Аниониты марок АВ-17-8, АВ-17-8чС, АВ-16ГС, АВ-29-12П, АН-1, АН-18-8, АН-21, АН-22-8 и всех макропористых ионитов при температуре ниже 0 °С транспортируют только в отапливаемом транспорте.

По согласованию с потребителем допускается отгрузка вышеуказанных марок любым видом транспорта без отопления.

При температуре выше 0 °С допускается транспортировать аниониты, упакованные в контейнеры, на открытом подвижном составе.

(Измененная редакция, Изм. N 4).

4.5. Не допускается транспортирование анионитов, упакованных в мешки, в одном вагоне с катионитами, а также с окислителями и другими агрессивными веществами.

4.6. Аниониты хранят в упакованном виде в чистых и сухих складских помещениях при температуре не ниже плюс 2 °С на расстоянии не менее 1 м от отопительных приборов.

5. ГАРАНТИИ ИЗГОТОВИТЕЛЯ

5.1. Готовая продукция должна быть принята техническим контролем предприятия-изготовителя. Изготовитель должен гарантировать соответствие выпускаемых анионитов требованиям настоящего стандарта при соблюдении условий хранения.

5.2. Гарантийный срок хранения анионитов - 12 мес со дня изготовления.

5.1, 5.2. (Измененная редакция, Изм. N 4).

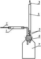
ПРИЛОЖЕНИЕ (рекомендуемое). Вакуумный пробоотборник

ПРИЛОЖЕНИЕ
Рекомендуемое


1 - трубка из полиэтилена низкого давления dy - 6 мм; 600-700 мм; 2 - острый наконечник для отбора пробы из мешка (титан или нержавеющая сталь d- 5 мм, 150 мм); 3 - к вакуум-насосу; 4 - трубка 
из полиэтилена низкого давления dy - 6 мм; 5 - трубка из титана или нержавеющей стали 
dy - 6 мм; 6 - пробка резиновая; 7 - бутыль или колба из толстостенного стекла 
вместимостью 1-2 дм3.



(Введено дополнительно, Изм. N 5).



официальное издание
М.: Издательство стандартов, 1992